Запчасти Komatsu WA480-6 ОСНОВН. КЛАПАН (ДЛЯ ECSS)(№8-) ГИДРАВЛИКА

Схема запчастей Komatsu WA480-6 - ОСНОВН. КЛАПАН (ДЛЯ ECSS)(№8-) ГИДРАВЛИКА
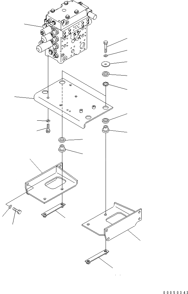
1
2
3
4
5
6
7
8
8
8
9
9
10
11
11
12
13
14
15
FIT
1:1
100%

Артикул

Название

Примечание

Количество

1

723-43-13400

CONTROL VALVE ASS'Y

SN: 90001-UP

1шт.

1

723-43-13102

CONTROL VALVE ASS'Y

SN: 85016-90000

1шт.

1

0

CONTROL VALVE ASS'Y

SN: (85016-85169)

1шт.

1

0

CONTROL VALVE ASS'Y

SN: 85001-85015

1шт.

2

01010-81640

BOLT

SN: 85001-UP

4шт.

3

01643-31645

WASHER

SN: 85001-UP

4шт.

4

421-64-41110

BRACKET

SN: 85001-UP

1шт.

5

01010-81685

BOLT

SN: 85001-UP

4шт.

6

01643-31645

WASHER

SN: 85001-UP

4шт.

7

425-70-11290

WASHER

SN: 85001-UP

4шт.

8

421-64-23120

CUSHION

SN: 85001-UP

8шт.

9

421-64-41140

BOSS

SN: 85001-UP

4шт.

10

421-64-23130

CUSHION

SN: 85001-UP

4шт.

11

421-64-41150

BRACKET

SN: 85001-UP

2шт.

12

421-64-41121

BRACKET,L.H.

SN: 85001-UP

1шт.

13

421-64-41130

BRACKET,R.H.

SN: 85001-UP

1шт.

14

01010-D1635

BOLT

SN: 85001-UP

8шт.

15

01643-71645

WASHER

SN: 85001-UP

8шт.

Выбрано товаров: 18