Качественные детали и логистика
Оригинальные и аналоговые запчасти с доставкой по России, Казахстану и Беларуси
©2022 PartSell ООО "Система" ИНН 2463123282 ОГРН 1212400004838
Центральный офис: г. Красноярск, Академика Киренского, д.87, пом.4
Телефон: 8 (800) 777-65-74 Email: zakaz@partsell.ru
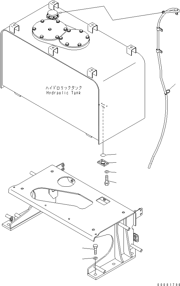
ГИДР. БАК. (ЭЛЕМЕНТЫ КРЕПЛЕНИЯ)(№8-)
№
Артикул
Название
Примечание
Количество
1
01010-81645
BOLT
SN: 85001-UP
6шт.
2
01643-31645
WASHER
3
08034-40521
BAND
1шт.
4
708-2L-29490
PLATE
5
07000-13032
O-RING
6
01010-81025
4шт.
7
01643-31032
Выбрано товаров: 0