Запчасти Komatsu WA480-6 ГИДР. НАСОС., ГИДРАВЛИКА РУЛ. УПРАВЛЕНИЯ (№9-) ГИДР. НАСОС., С ЭКСТРЕНН. УПРАВЛ., АВТОМАТИЧ. УПРАВЛ-Е ТИП

Схема запчастей Komatsu WA480-6 - ГИДР. НАСОС., ГИДРАВЛИКА РУЛ. УПРАВЛЕНИЯ (№9-) ГИДР. НАСОС., С ЭКСТРЕНН. УПРАВЛ., АВТОМАТИЧ. УПРАВЛ-Е ТИП
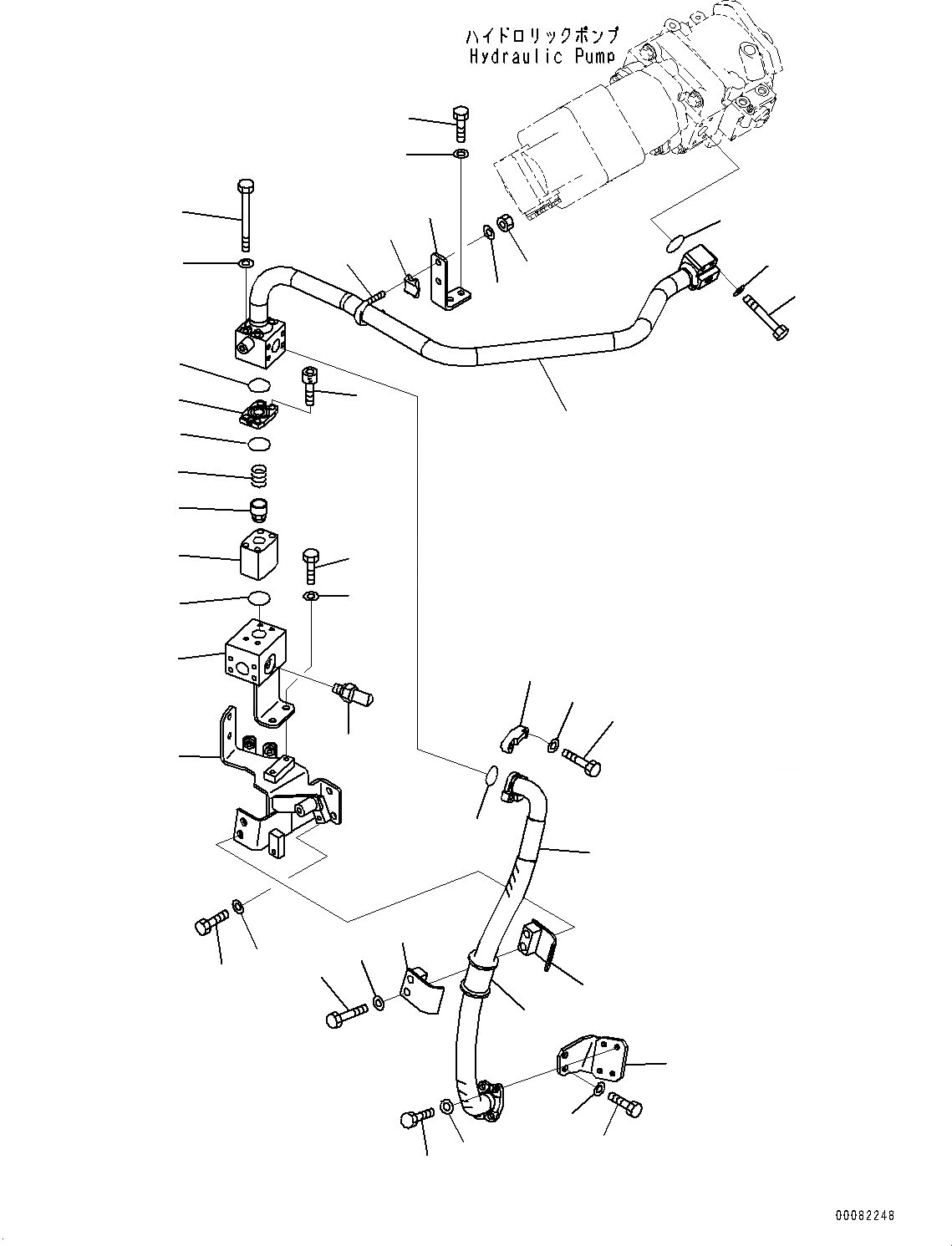
9
10
8
7
6
30
5
12
38
39
39
38
37
36
35
34
33
32
31
30
29
28
27
26
25
24
23
21
20
19
18
17
16
15
13
14
12
11
4
3
2
1
22
FIT
1:1
100%

Артикул

Название

Примечание

Количество

|$0

421-62-32351

Checker Assembly

SN: 90216-UP

1шт.

1

421-62-32360

Spring

SN: 90216-UP

1шт.

2

702-13-22911

Body

SN: 90216-UP

1шт.

3

702-13-22921

Poppet

SN: 90216-UP

1шт.

4

702-13-22931

Plate

SN: 90216-UP

1шт.

5

708-25-12380

Bolt

SN: 90216-UP

1шт.

6

07000-23035

O-ring

SN: 90216-UP

1шт.

7

421-62-45320

Block

SN: 90216-UP

1шт.

8

07000-13035

O-ring

SN: 90216-UP

1шт.

9

01643-51032

Washer

SN: 90216-UP

4шт.

10

01011-81050

Bolt

SN: 90216-UP

4шт.

11

421-62-45331

Tube

SN: 90469-UP

1шт.

11

421-62-45330

Tube

SN: 90216-90468

1шт.

12

07000-13035

O-ring

SN: 90216-UP

2шт.

13

01643-51032

Washer

SN: 90216-UP

4шт.

14

07372-21060

Bolt

SN: 90216-UP

4шт.

15

421-62-45340

Bracket

SN: 90216-UP

1шт.

16

07283-33450

Clip

SN: 90216-UP

1шт.

17

07283-53444

Seat

SN: 90216-UP

1шт.

18

01643-31032

Washer

SN: 90216-UP

2шт.

19

01597-01009

Nut

SN: 90216-UP

2шт.

20

01010-81025

Bolt

SN: 90216-UP

2шт.

21

01643-31032

Washer

SN: 90216-UP

2шт.

22

421-62-45351

Bracket

SN: 90216-UP

1шт.

23

01010-81225

Bolt

SN: 90216-UP

2шт.

24

01643-31232

Washer

SN: 90216-UP

2шт.

25

7861-93-1653

Sensor

SN: 91112-UP

1шт.

25

7861-93-1652

Sensor

SN: 90469-91111

1шт.

25

7861-93-1651

Sensor

SN: 90216-90468

1шт.

|$29

07002-61823

O-ring

SN: 90469-UP

1шт.

|$30

07002-11823

O-ring

SN: 90216-90468

1шт.

26

01010-81025

Bolt

SN: 90216-UP

2шт.

27

01643-31032

Washer

SN: 90216-UP

2шт.

28

421-62-44321

Hose

SN: 90216-UP

1шт.

29

07000-13032

O-ring

SN: 90216-UP

1шт.

30

22P-62-13530

Clamp

SN: 90216-UP

2шт.

31

07095-01035

Cushion

SN: 90216-UP

1шт.

32

01010-81280

Bolt

SN: 90216-UP

2шт.

33

01643-31232

Washer

SN: 90216-UP

2шт.

34

421-62-45161

Bracket

SN: 90216-UP

1шт.

35

01010-81025

Bolt

SN: 90216-UP

2шт.

36

01643-31032

Washer

SN: 90216-UP

2шт.

37

07371-31049

Flange, Split

SN: 90216-UP

4шт.

38

07372-21035

Bolt

SN: 90216-UP

8шт.

39

01643-51032

Washer

SN: 90216-UP

8шт.

Выбрано товаров: 45