Запчасти Komatsu WA480-6 КАБИНА ROPS, РУЛЕВ. КОЛОН. КРЫШКА(№9-) КАБИНА ROPS, MONOCOQUE ТИП, С АВТОМАТИЧ. КОНДИЦ. ВОЗДУХА

Схема запчастей Komatsu WA480-6 - КАБИНА ROPS, РУЛЕВ. КОЛОН. КРЫШКА(№9-) КАБИНА ROPS, MONOCOQUE ТИП, С АВТОМАТИЧ. КОНДИЦ. ВОЗДУХА
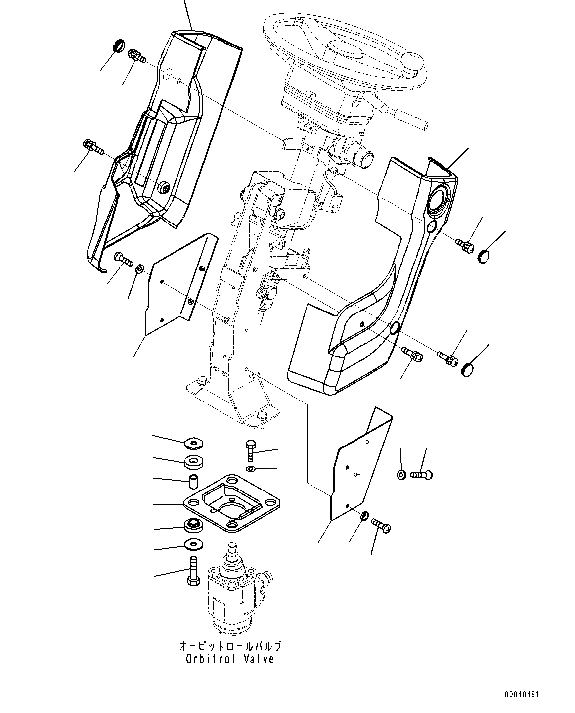
18
12
9
11
17
15
8
7
17
16
14
17
15
13
18
12
11
10
3
1
4
2
5
2
6
11
12
FIT
1:1
100%

Артикул

Название

Примечание

Количество

1

423-40-42160

Bracket

SN: 90216-UP

1шт.

2

419-43-17920

Washer

SN: 90216-UP

8шт.

3

417-62-13620

Cushion

SN: 90216-UP

4шт.

4

417-62-14130

Spacer

SN: 90216-UP

4шт.

5

419-43-17930

Cushion

SN: 90216-UP

4шт.

6

01010-81250

Bolt

SN: 90216-UP

4шт.

7

02010-70638

Bolt

SN: 90216-UP

4шт.

8

01643-31032

Washer

SN: 90216-UP

4шт.

9

421-54-32313

Cover,L.H.

SN: 90216-UP

1шт.

10

421-54-32323

Cover,R.H.

SN: 90216-UP

1шт.

11

421-09-21460

Screw

SN: 90216-UP

3шт.

12

22U-54-25140

Cap

SN: 90216-UP

3шт.

13

423-40-42120

Cover

SN: 90216-UP

1шт.

14

423-40-42140

Cover

SN: 90216-UP

1шт.

15

01225-70616

Screw, Philips Head

SN: 90216-UP

4шт.

16

01225-70612

Screw, Philips Head

SN: 90216-UP

2шт.

17

23S-55-51970

Washer

SN: 90216-UP

6шт.

18

421-09-21440

Screw

SN: 90216-UP

2шт.

Выбрано товаров: 0