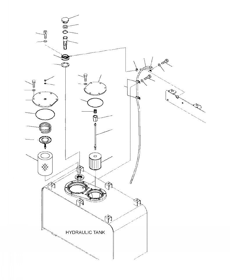
Запчасти Komatsu WA480-6 H-A ГИДР. БАК. ФИЛЬТР. ЭЛЕМЕНТ, ФИЛЬТР И САПУН ГИДРАВЛИКА

Схема запчастей Komatsu WA480-6 - H-A ГИДР. БАК. ФИЛЬТР. ЭЛЕМЕНТ, ФИЛЬТР И САПУН ГИДРАВЛИКА
18
19
22
32
23
31
26
20
25
24
21
27
10
28
12
3
1
29
13
4
26
2
30
11
5
16
6
17
7
15
8
9
14
FIT
1:1
100%

Артикул

Название

Примечание

Количество

1

01010-81230

BOLT

SN: A47001--UP

6шт.

2

01643-31232

WASHER

SN: A47001--UP

6шт.

3

424-60-15150

PLUG

SN: A47001--UP

1шт.

4

07000-12010

O-RING

SN: A47001--UP

1шт.

5

421-60-45190

COVER

SN: A47001--UP

1шт.

6

07000-15195

O-RING

SN: A47001--UP

1шт.

7

20Y-60-21240

SPRING

SN: A47001--UP

1шт.

8

20Y-60-31131

VALVE ASSEMBLY

SN: A47001--UP

1шт.

9

207-60-71182

ELEMENT, FILTER

SN: A47001--UP

1шт.

10

207-60-71131

COVER

SN: A47001--UP

1шт.

11

07000-15160

O-RING

SN: A47001--UP

1шт.

12

01010-81230

BOLT

SN: A47001--UP

6шт.

13

01643-31232

WASHER

SN: A47001--UP

6шт.

N/I

421-60-45150

STRAINER ASSEMBLY

SN: A47001--UP

1шт.

14

22B-60-11160

STRAINER

SN: A47001--UP

1шт.

15

421-60-45160

ROD ASSEMBLY

SN: A47001--UP

1шт.

16

12R-60-11230

SPRING

SN: A47001--UP

1шт.

17

20Y-60-21320

HOLDER

SN: A47001--UP

1шт.

18

423-60-35421

BREATHER

SN: A47001--UP

1шт.

19

423-60-35460

ELEMENT

SN: A47001--UP

1шт.

20

423-60-35430

FILLER

SN: A47001--UP

1шт.

21

20Y-60-21340

GASKET

SN: A47001--UP

1шт.

22

01252-70516

BOLT

SN: A47001--UP

6шт.

23

01601-20513

WASHER

SN: A47001--UP

6шт.

24

11Y-09-11120

CLIP

SN: A47001--UP

1шт.

25

07270-40817

TUBE

SN: A47001--UP

1шт.

26

04434-51312

CLIP

SN: A47001--UP

3шт.

27

01010-81020

BOLT

SN: A47001--UP

1шт.

28

01643-31032

WASHER

SN: A47001--UP

1шт.

29

01010-81225

BOLT

SN: A47001--UP

2шт.

30

01643-31232

WASHER

SN: A47001--UP

2шт.

31

07056-10045

STRAINER

SN: A47001--UP

1шт.

32

04065-04718

RING

SN: A47001--UP

1шт.

Выбрано товаров: 33