Запчасти Komatsu WA480-6 T-A КОВШ .8 CU. M (С РЕЖУЩ. КРОМКОЙ НА БОЛТАХ . CU. M), 7 MM ШИР. РАБОЧЕЕ ОБОРУДОВАНИЕ

Схема запчастей Komatsu WA480-6 - T-A КОВШ .8 CU. M (С РЕЖУЩ. КРОМКОЙ НА БОЛТАХ . CU. M), 7 MM ШИР. РАБОЧЕЕ ОБОРУДОВАНИЕ
1
9
3
10
4
2
5
7
8
11
7
7
6
FIT
1:1
100%

Артикул

Название

Примечание

Количество

|$0

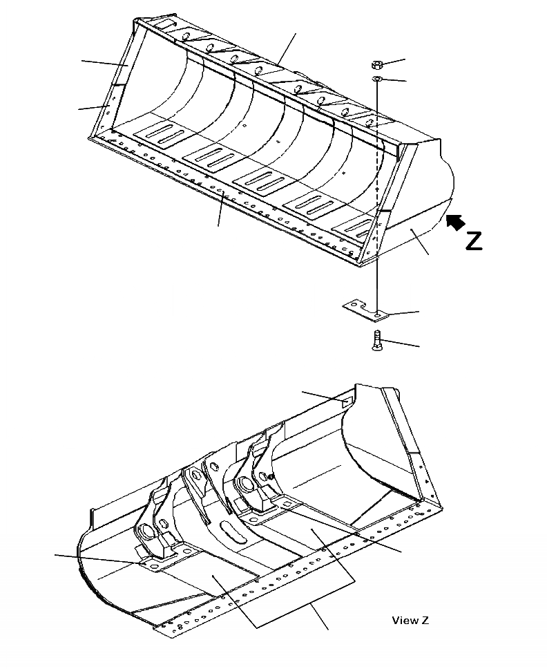
421-806-4600

BUCKET ASSEMBLY

SN: A47001--UP

1шт.

1

421-806-4510

BUCKET

SN: A47001--UP

1шт.

2

421-70-32920

EDGE

SN: A47001--UP

1шт.

3

421-70-32740

PLATE

SN: A47001--UP

2шт.

4

421-70-32931

PLATE

SN: A47001--UP

2шт.

5

421-806-3150

PLATE

SN: A47001--UP

2шт.

6

421-806-3E10

PLATE

SN: A47001--UP

2шт.

7

421-70-22140

PLATE

SN: A47001--UP

2шт.

8

02090-11685

BOLT

SN: A47001--UP

4шт.

9

02290-11625

NUT

SN: A47001--UP

4шт.

10

01643-22460

WASHER

SN: A47001--UP

4шт.

11

NSS

PLATE, NAME

SN: A47001--UP

1шт.

|$12

12

-1шт.

|$13

F1 - WELDED

13

-1шт.

Выбрано товаров: 14