Запчасти Komatsu WA50-1 ГИДР. БАК. УПРАВЛ-Е РАБОЧИМ ОБОРУДОВАНИЕМ

Схема запчастей Komatsu WA50-1 - ГИДР. БАК. УПРАВЛ-Е РАБОЧИМ ОБОРУДОВАНИЕМ
FIT
1:1
100%

Артикул

Название

Примечание

Количество

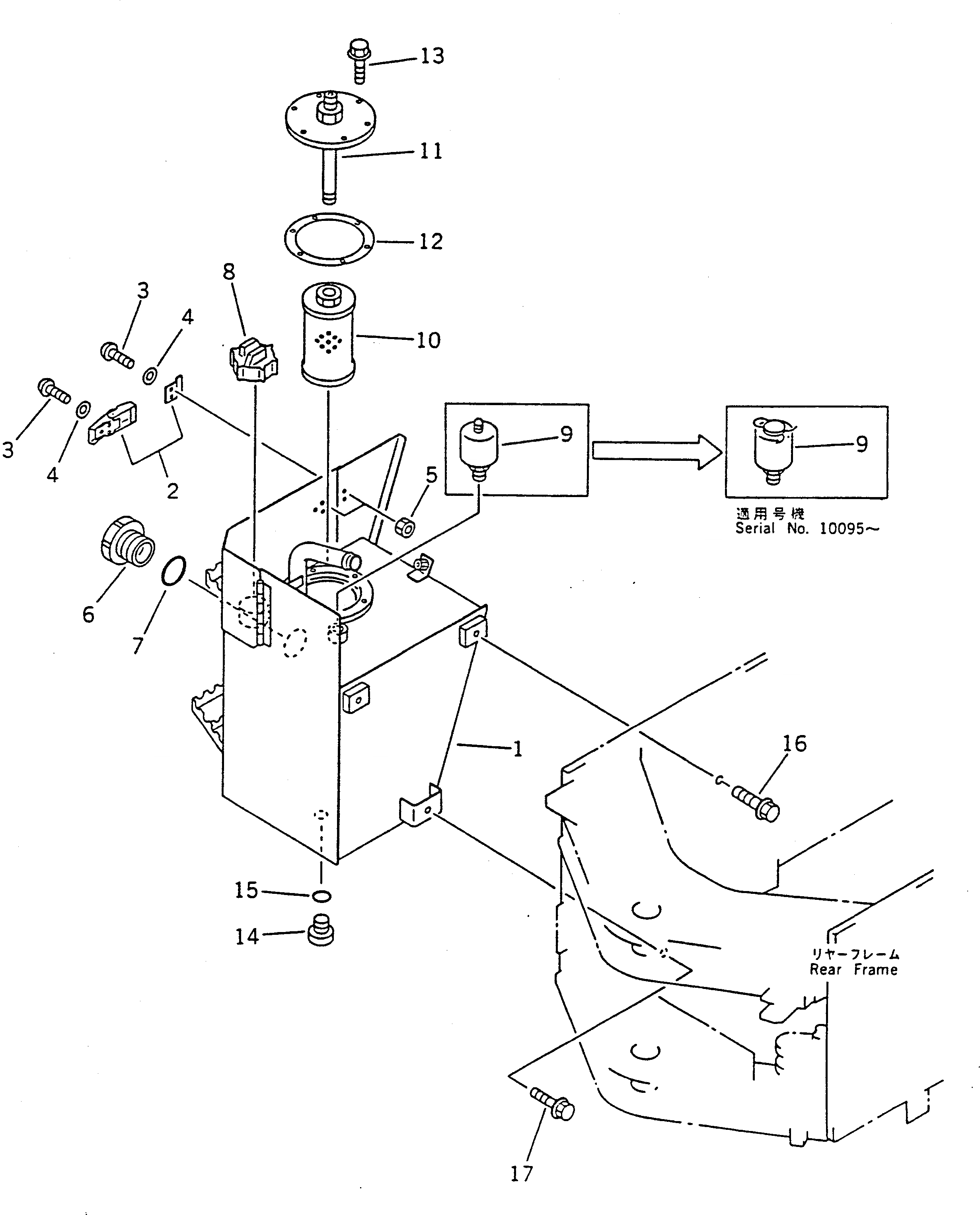
1

42A-60-15110

HYDRAULIC TANK ASS'Y

SN: 10001-UP

1шт.

2

421-09-12321

HOLDER,SIGHT

SN: 10001-UP

1шт.

3

01220-40512

SCREW

SN: 10001-UP

5шт.

4

01641-20508

WASHER

SN: 10001-UP

5шт.

5

01580-10504

NUT

SN: 10001-UP

5шт.

6

421-60-11622

GAUGE

SN: 10001-UP

1шт.

7

07002-05234

O-RING

SN: 10001-UP

1шт.

8

07051-01000

CAP

SN: 10001-UP

1шт.

9

419-60-15231

BREATHER ASS'Y

SN: 10095-UP

1шт.

|9

419-60-15230

BREATHER ASS'Y

SN: 10001-10094

1шт.

|9

285-62-17320

ELEMENT

SN: 10095-UP

1шт.

|9

419-60-15250

ELEMENT

SN: 10001-10094

1шт.

|9

424-60-15220

RING,SNAP

SN: 10095-UP

1шт.

|9

419-60-15370

O-RING

SN: 10095-UP

2шт.

|9

419-60-15380

O-RING

SN: 10095-UP

1шт.

|9

419-60-15390

O-RING

SN: 10095-UP

1шт.

|9

419-60-15270

O-RING

SN: 10001-10094

1шт.

10

42A-60-15120

ELEMENT

SN: 10001-UP

1шт.

11

42A-60-15131

TUBE

SN: 10001-UP

1шт.

12

42A-60-15140

GASKET

SN: 10001-UP

1шт.

13

01435-00820

BOLT

SN: 10001-UP

6шт.

14

07040-12414

PLUG

SN: 10001-UP

1шт.

15

07002-02434

O-RING

SN: 10001-UP

1шт.

16

01435-01230

BOLT

SN: 10001-UP

2шт.

17

01435-01235

BOLT

SN: 10001-UP

1шт.

Выбрано товаров: 25