Запчасти Komatsu WA50-1 PITCH И ANGLE SNOW PНИЗ. (/) (ДЛЯ ЯПОН.) СПЕЦ. APPLICATION ЧАСТИ

Схема запчастей Komatsu WA50-1 - PITCH И ANGLE SNOW PНИЗ. (/) (ДЛЯ ЯПОН.) СПЕЦ. APPLICATION ЧАСТИ
FIT
1:1
100%

Артикул

Название

Примечание

Количество

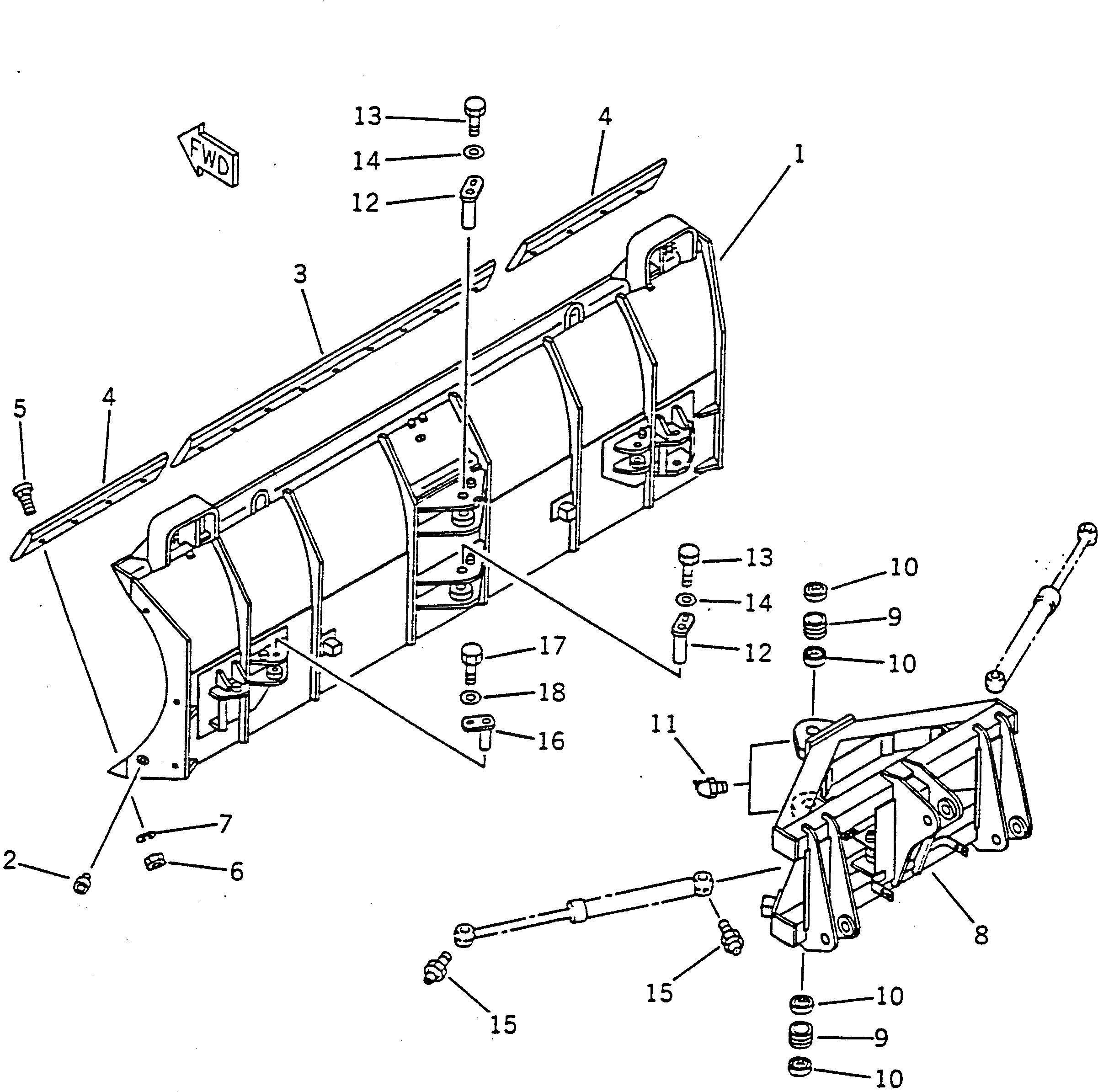
1

42A-904-1110

BLADE

SN: 10001-UP

1шт.

2

07048-01210

PLUG

SN: 10001-UP

2шт.

3

415-904-1120

EDGE

SN: 10001-UP

1шт.

4

415-904-1130

EDGE

SN: 10001-UP

2шт.

5

02090-11055

BOLT

SN: 10001-UP

17шт.

6

02290-11016

NUT

SN: 10001-UP

17шт.

7

01602-01648

WASHER,SPRING

SN: 10001-UP

17шт.

8

415-904-1151

CARRIER

SN: 10001-UP

1шт.

9

07144-10402

BUSHING

SN: 10001-UP

2шт.

10

07145-00040

SEAL,DUST

SN: 10001-UP

4шт.

11

07020-00675

FITTING,GREASE

SN: 10001-UP

2шт.

12

419-46-12260

PIN

SN: 10001-UP

2шт.

13

01010-31220

BOLT

SN: 10001-UP

2шт.

14

175-54-34170

WASHER

SN: 10001-UP

2шт.

15

07020-00000

FITTING,GREASE

SN: 10001-UP

4шт.

16

415-904-1210

PIN

SN: 10001-UP

4шт.

17

01010-31220

BOLT

SN: 10001-UP

4шт.

18

175-54-34170

WASHER

SN: 10001-UP

4шт.

Выбрано товаров: 18