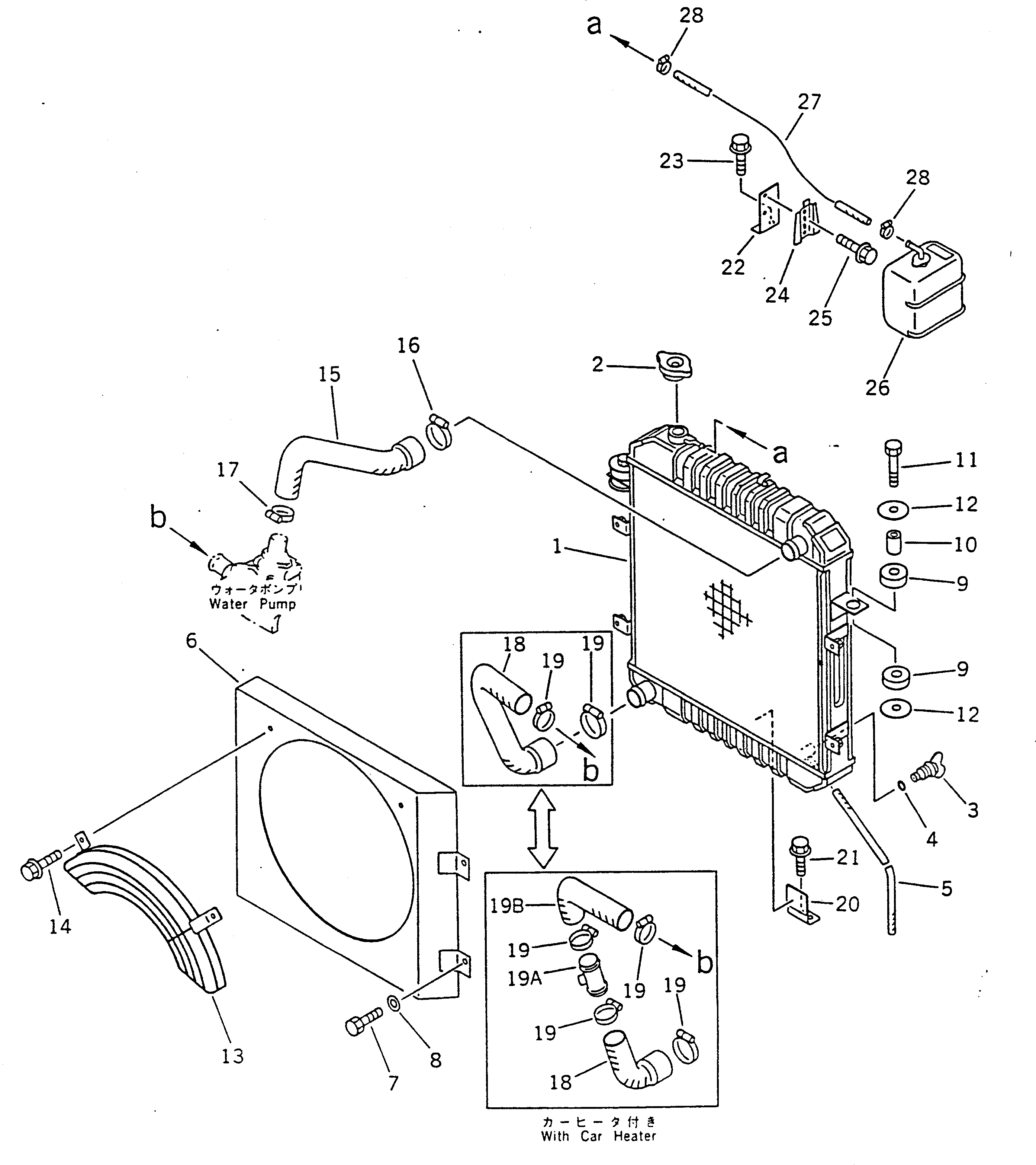
Запчасти Komatsu WA50-1 РАДИАТОР И ТРУБЫ КОМПОНЕНТЫ ДВИГАТЕЛЯ И ЭЛЕКТРИКА

Схема запчастей Komatsu WA50-1 - РАДИАТОР И ТРУБЫ КОМПОНЕНТЫ ДВИГАТЕЛЯ И ЭЛЕКТРИКА
FIT
1:1
100%

Артикул

Название

Примечание

Количество

1

42A-03-11100

RADIATOR ASS'Y,(WITH OIL COOLER)

SN: 10001-UP

1шт.

2

415-03-11140

CAP

SN: 10001-UP

1шт.

3

415-03-11150

COCK

SN: 10001-UP

1шт.

4

415-03-11160

O-RING

SN: 10001-UP

1шт.

5

415-03-11120

HOSE

SN: 10001-UP

1шт.

6

42A-03-11140

SHROUD

SN: 10001-UP

1шт.

7

01010-50816

BOLT

SN: 10001-UP

4шт.

8

01643-30823

WASHER

SN: 10001-UP

4шт.

9

416-03-11221

CUSHION

SN: 10001-UP

4шт.

10

427-03-10370

SPACER

SN: 10001-UP

2шт.

11

01010-51255

BOLT

SN: 10001-UP

2шт.

12

416-03-11210

WASHER

SN: 10001-UP

4шт.

13

42A-03-11110

GUARD,FAN

SN: 10001-UP

1шт.

14

01435-01016

BOLT

SN: 10001-UP

2шт.

15

42A-03-12110

HOSE,UPPER

SN: 10001-UP

1шт.

16

07281-00549

CLAMP

SN: 10001-UP

1шт.

17

07281-00489

CLAMP

SN: 10001-UP

1шт.

18

42A-03-12120

HOSE,LOWER

SN: 10001-UP

1шт.

|18

42A-942-1290

HOSE,LOWER (WITH CAR HEATER)

SN: 10001-UP

1шт.

19

07281-00549

CLAMP

SN: 10001-UP

2шт.

|19

07281-00549

CLAMP,(WITH CAR HEATER)

SN: 10001-UP

4шт.

19A

42A-942-1280

TUBE,(WITH CAR HEATER)

SN: 10001-UP

1шт.

19B

42A-942-1310

HOSE,(WITH CAR HEATER)

SN: 10001-UP

1шт.

20

42A-03-11150

BRACKET

SN: 10001-UP

1шт.

21

01435-01016

BOLT

SN: 10001-UP

2шт.

22

42A-03-11180

PLATE

SN: 10001-UP

1шт.

23

01435-00816

BOLT

SN: 10001-UP

2шт.

24

42A-03-11130

BRACKET

SN: 10001-UP

1шт.

25

01435-00612

BOLT

SN: 10001-UP

2шт.

26

42A-03-11120

TANK

SN: 10001-UP

1шт.

27

42A-03-11170

HOSE

SN: 10001-UP

1шт.

28

07281-00137

CLAMP

SN: 10326-UP

2шт.

|28

0

CLIP

SN: 10266-10325

2шт.

|28

0

CLIP

SN: 10001-10265

2шт.

Выбрано товаров: 34