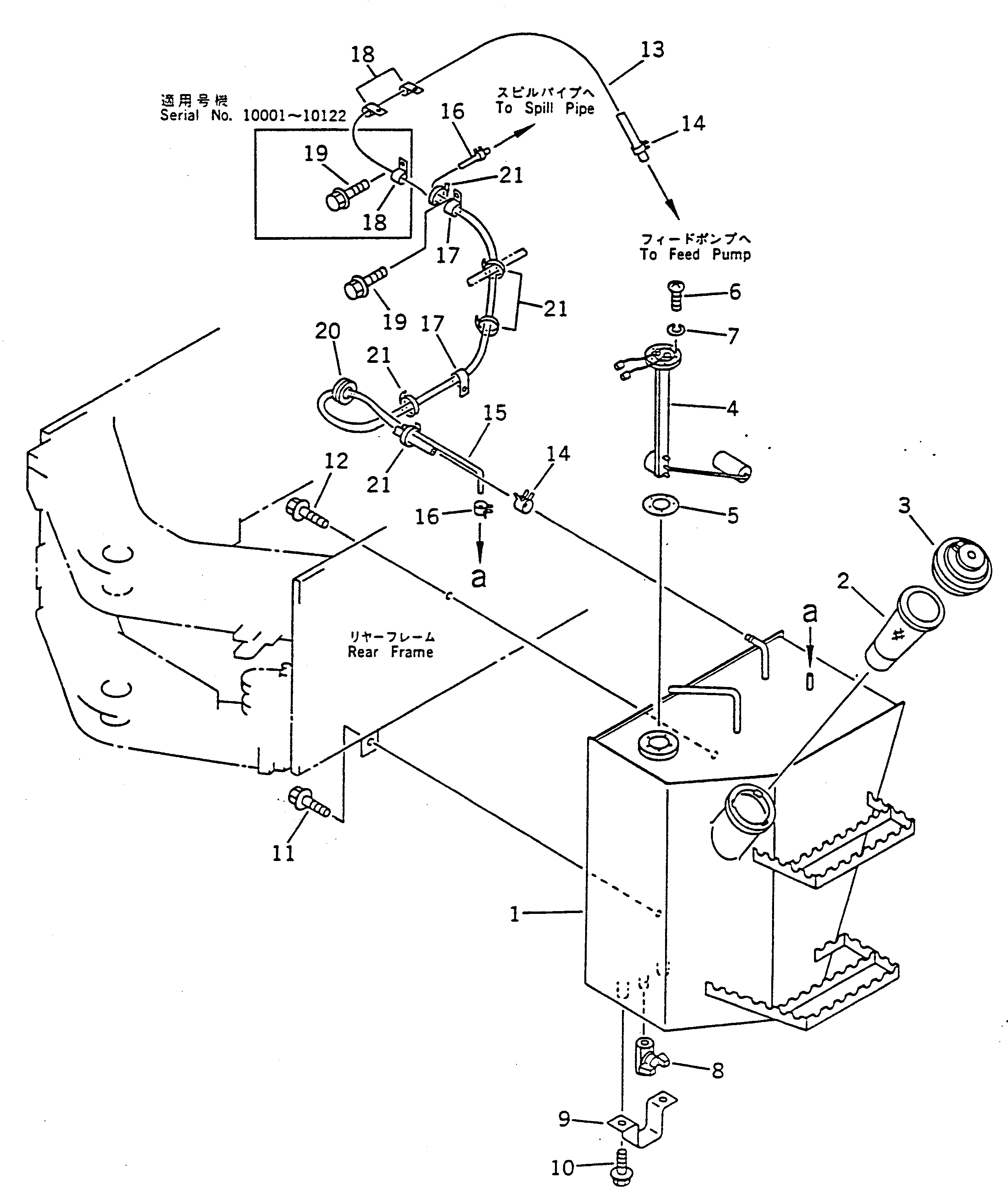
Запчасти Komatsu WA50-1 ТОПЛ. БАК И ТОПЛИВОПРОВОД КОМПОНЕНТЫ ДВИГАТЕЛЯ И ЭЛЕКТРИКА

Схема запчастей Komatsu WA50-1 - ТОПЛ. БАК И ТОПЛИВОПРОВОД КОМПОНЕНТЫ ДВИГАТЕЛЯ И ЭЛЕКТРИКА
FIT
1:1
100%

Артикул

Название

Примечание

Количество

1

42A-04-11113

TANK,FUEL

SN: 10001-UP

1шт.

2

07056-18416

STRAINER

SN: 10001-UP

1шт.

3

423-04-11361

CAP

SN: 10199-UP

1шт.

|3

20Y-04-11240

PACKING

SN: 10199-UP

1шт.

|3

423-04-11770

PACKING¤ 1.0MM

SN: 10199-UP

1шт.

|3

423-04-11360

CAP

SN: 10001-10198

1шт.

4

415-04-11140

SENSOR,LEVEL

SN: 10001-UP

1шт.

5

419-04-10140

GASKET

SN: 10001-UP

1шт.

6

01220-40512

SCREW

SN: 10001-UP

5шт.

7

01601-20513

WASHER,SPRING

SN: 10001-UP

5шт.

8

363-04-11130

VALVE

SN: 10001-UP

1шт.

9

415-04-11230

COVER

SN: 10001-UP

1шт.

10

01435-00816

BOLT

SN: 10001-UP

2шт.

11

01435-01235

BOLT

SN: 10001-UP

1шт.

12

01435-01230

BOLT

SN: 10001-UP

2шт.

13

07270-41017

TUBE

SN: 10001-UP

1шт.

14

07285-00130

CLIP

SN: 10001-UP

2шт.

15

07270-40413

TUBE

SN: 10001-UP

1шт.

16

07285-00085

CLIP

SN: 10001-UP

2шт.

17

421-09-12170

CLIP

SN: 10001-UP

2шт.

18

424-06-12740

CLIP

SN: 10482-UP

2шт.

|18

424-06-12740

CLIP

SN: 10123-10481

1шт.

|18

424-06-12740

CLIP

SN: 10001-10122

2шт.

19

01435-01016

BOLT

SN: 10123-UP

2шт.

|19

01435-01016

BOLT

SN: 10001-10122

3шт.

20

08037-03614

GROMMET

SN: 10001-UP

1шт.

21

08034-00414

BAND

SN: 10123-UP

5шт.

|21

08034-00414

BAND

SN: 10001-10122

4шт.

Выбрано товаров: 28