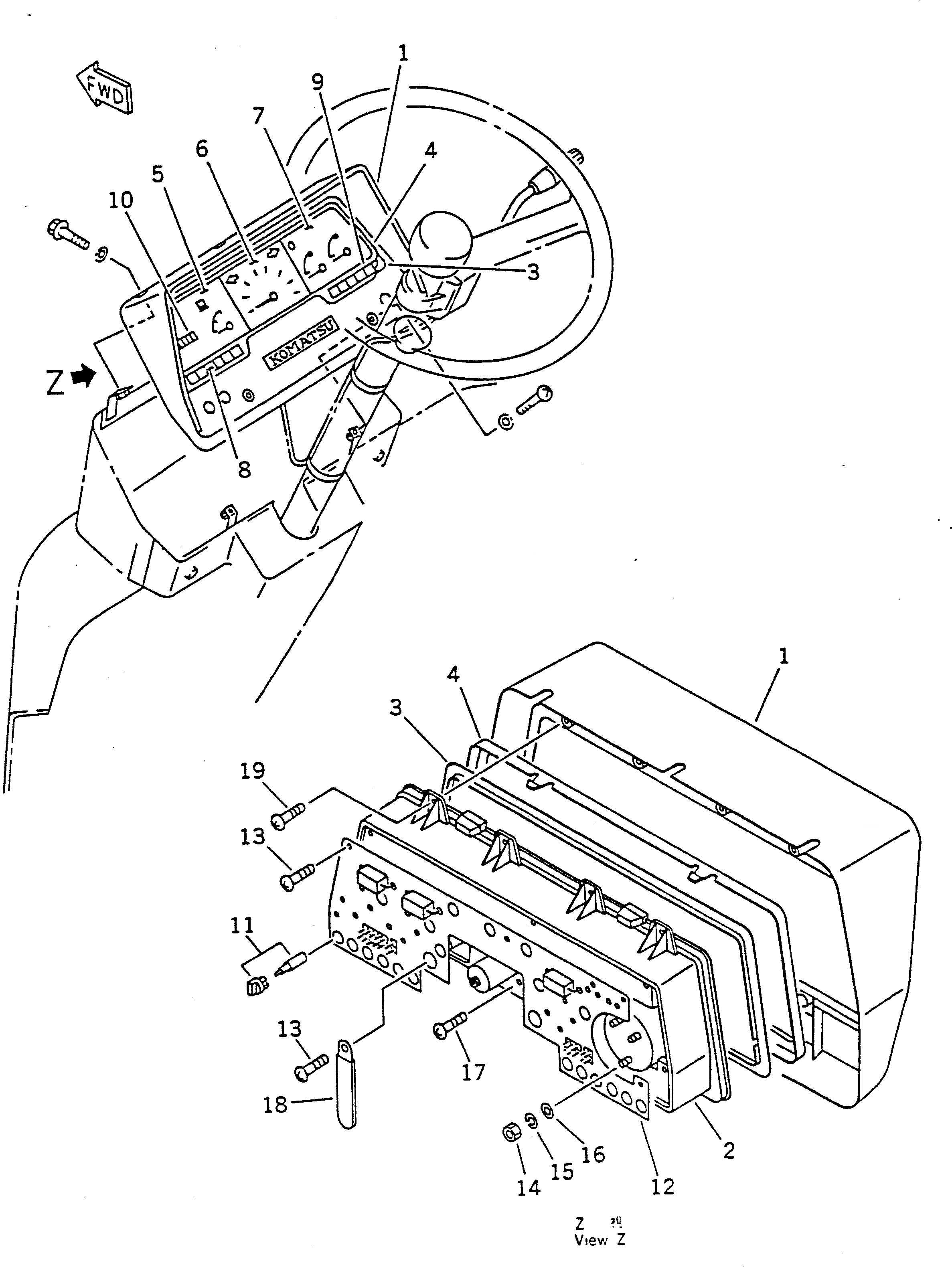
Запчасти Komatsu WA50-1 ПАНЕЛЬ ПРИБОРОВ КОМПОНЕНТЫ ДВИГАТЕЛЯ И ЭЛЕКТРИКА

Схема запчастей Komatsu WA50-1 - ПАНЕЛЬ ПРИБОРОВ КОМПОНЕНТЫ ДВИГАТЕЛЯ И ЭЛЕКТРИКА
FIT
1:1
100%

Артикул

Название

Примечание

Количество

|1

42A-06-15110

PANEL

SN: 10001-UP

1шт.

1

42A-06-15210

PANEL

SN: 10001-UP

1шт.

2

42A-06-15220

HOUSING

SN: 10001-UP

1шт.

3

42A-06-15280

PLATE,SHADOW

SN: 10001-UP

1шт.

4

42A-06-15290

COVER,FRONT

SN: 10001-UP

1шт.

5

42A-06-15250

GAUGE,FUEL

SN: 10001-UP

1шт.

6

42A-06-15240

METER,SPEED

SN: 10001-UP

1шт.

7

42A-06-15230

GAUGE,TEMPERATURE

SN: 10001-UP

1шт.

8

42A-06-15270

LENS

SN: 10001-UP

1шт.

9

42A-06-15260

LENS

SN: 10001-UP

1шт.

10

42A-06-15320

METER,SERVICE

SN: 10001-UP

1шт.

11

42A-06-15330

BULB ASS'Y

SN: 10001-UP

20шт.

12

42A-06-15310

PLATE,PRINT

SN: 10001-UP

1шт.

13

01370-00412

SCREW

SN: 10001-UP

7шт.

14

01580-10302

NUT

SN: 10001-UP

15шт.

15

01601-20307

WASHER,SPRING

SN: 10001-UP

15шт.

16

01641-20305

WASHER

SN: 10001-UP

15шт.

17

01023-10408

SCREW

SN: 10001-UP

2шт.

18

42A-06-15340

CLIP

SN: 10001-UP

2шт.

19

42A-06-15350

SCREW

SN: 10001-UP

7шт.

Выбрано товаров: 20