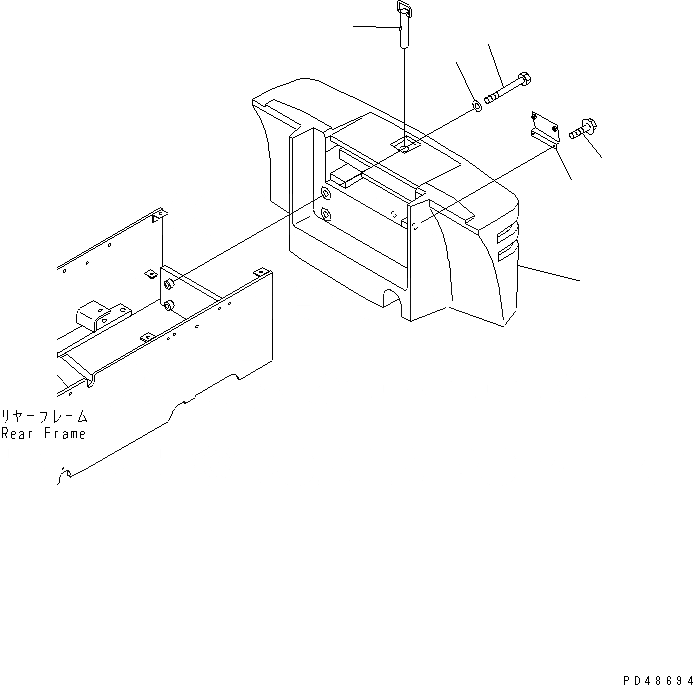
Запчасти Komatsu WA50-3 ПРОТИВОВЕС ЧАСТИ КОРПУСА

Схема запчастей Komatsu WA50-3 - ПРОТИВОВЕС ЧАСТИ КОРПУСА
1
2
3
4
5
6
FIT
1:1
100%

Артикул

Название

Примечание

Количество

1

42A-46-25110

WEIGHT,COUNTER

SN: 20001-UP

1шт.

2

01011-82090

BOLT

SN: 20001-UP

4шт.

3

01643-32060

WASHER

SN: 20001-UP

4шт.

4

417-46-13213

PIN

SN: 20001-UP

1шт.

5

363-54-31370

PLATE

SN: 20001-UP

1шт.

6

01435-00610

BOLT

SN: 20001-UP

2шт.

Выбрано товаров: 6