Запчасти Komatsu WA50-3-X НАВЕС(№-9) КАБИНА ОПЕРАТОРА И СИСТЕМА УПРАВЛЕНИЯ

Схема запчастей Komatsu WA50-3-X - НАВЕС(№-9) КАБИНА ОПЕРАТОРА И СИСТЕМА УПРАВЛЕНИЯ
FIT
1:1
100%

Артикул

Название

Примечание

Количество

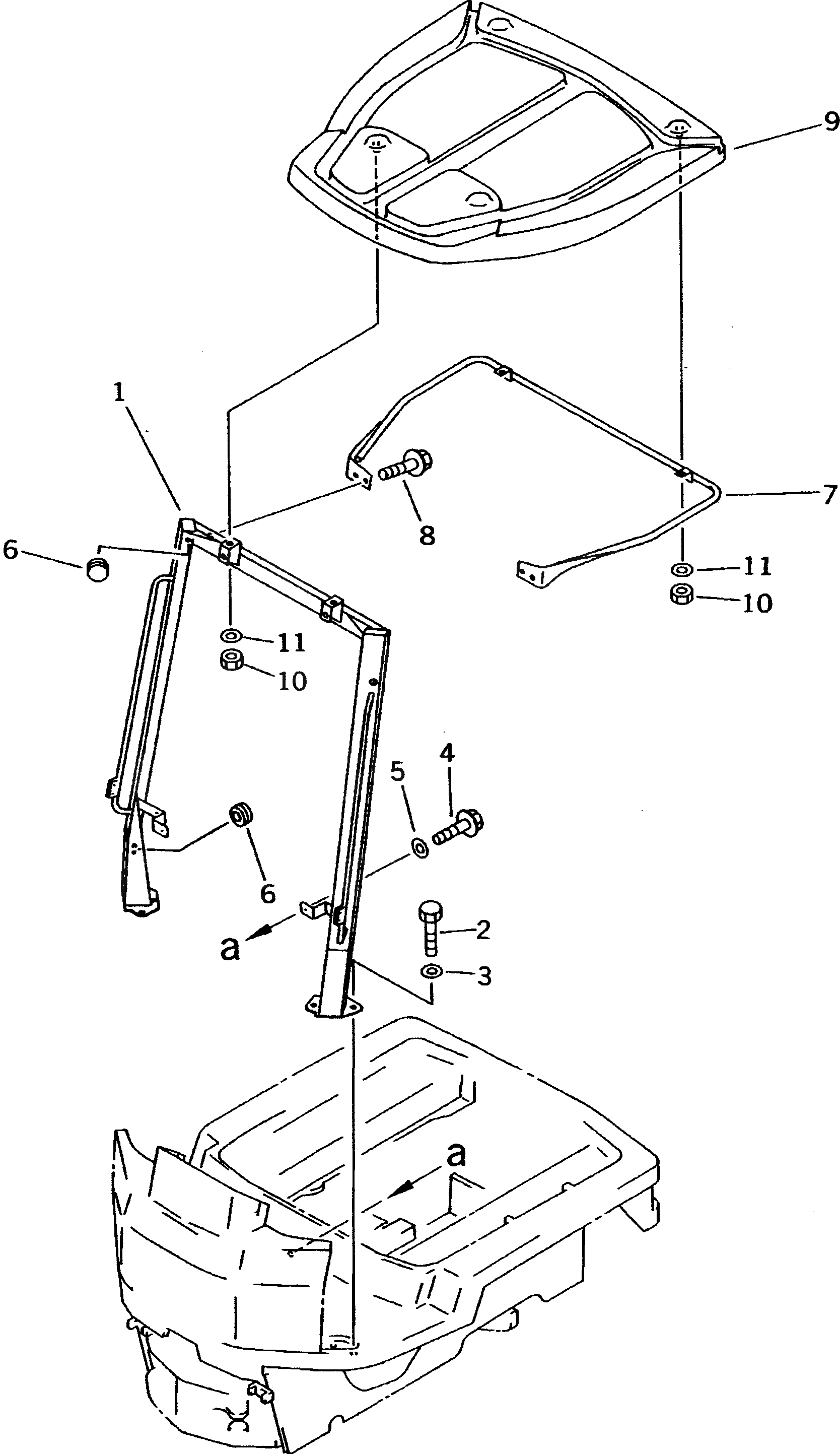
1

363-54-38121

POLE

SN: 20001-20093

1шт.

2

01010-51255

BOLT

SN: 20001-@

6шт.

3

01643-31232

WASHER

SN: 20001-@

6шт.

4

01435-01025

BOLT

SN: 20001-@

4шт.

5

01643-31032

WASHER

SN: 20001-@

4шт.

6

09415-02512

CAP

SN: 20001-20093

2шт.

7

363-54-38130

PIPE

SN: 20001-20093

1шт.

8

01435-01025

BOLT

SN: 20001-@

4шт.

9

363-54-38110

ROOF

SN: 20001-@

1шт.

10

01580-11008

NUT

SN: 20001-@

4шт.

11

01643-31032

WASHER

SN: 20001-20093

4шт.

Выбрано товаров: 11