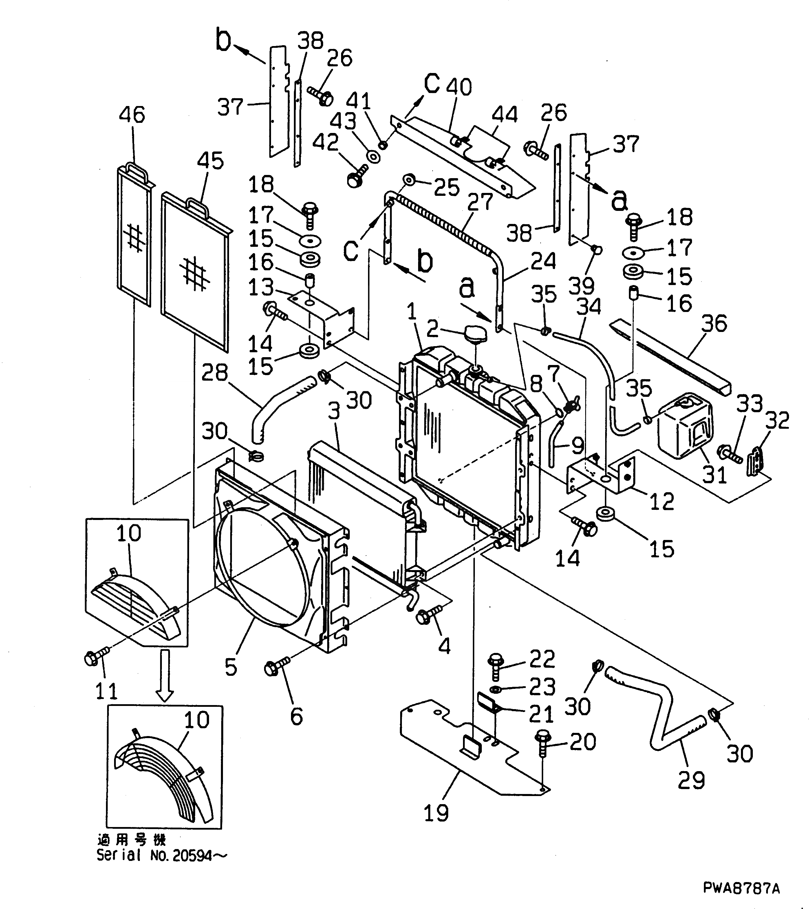
Запчасти Komatsu WA50-3-X РАДИАТОР И ТРУБЫ (СПЕЦ-Я LIVESTOCK RAISING)(№-) СИСТЕМА ОХЛАЖДЕНИЯ

Схема запчастей Komatsu WA50-3-X - РАДИАТОР И ТРУБЫ (СПЕЦ-Я LIVESTOCK RAISING)(№-) СИСТЕМА ОХЛАЖДЕНИЯ
FIT
1:1
100%

Артикул

Название

Примечание

Количество

1

363-03-31110

RADIATOR ASS'Y

SN: 20503-@

1шт.

2

363-03-31330

CAP

SN: 20503-@

1шт.

3

363-03-31310

OIL COOLER ASS'Y

SN: 20503-@

1шт.

4

363-03-31350

BOLT

SN: 20503-@

4шт.

5

363-J89-3250

SHROUD

SN: 20503-@

1шт.

6

363-03-31340

BOLT

SN: 20503-@

6шт.

7

363-03-31360

VALVE

SN: 20503-@

1шт.

8

363-03-31370

O-RING

SN: 20503-@

1шт.

9

363-03-31320

HOSE

SN: 20503-@

1шт.

10

42A-03-21412

NET

SN: 20594-@

1шт.

|10

0

NET

SN: 20503-20593

1шт.

11

01435-00812

BOLT

SN: 20503-@

2шт.

12

363-03-31410

BRACKET,L.H.

SN: 20503-@

1шт.

13

363-03-31420

BRACKET,R.H.

SN: 20503-@

1шт.

14

01435-00812

BOLT

SN: 20503-20641

4шт.

15

416-03-11221

CUSHION

SN: 20503-@

4шт.

16

363-03-31160

TUBE

SN: 20503-@

2шт.

17

416-03-11210

WASHER

SN: 20503-@

2шт.

18

01435-01055

BOLT

SN: 20503-@

2шт.

19

363-J89-3240

COVER

SN: 20503-20641

1шт.

20

01435-01016

BOLT

SN: 20503-@

2шт.

21

363-03-31190

BRACKET

SN: 20503-@

1шт.

22

01435-01016

BOLT

SN: 20503-@

2шт.

23

01643-51032

WASHER

SN: 20503-@

2шт.

24

363-03-31211

BAR

SN: 20503-@

1шт.

25

01584-01008

NUT

SN: 20503-@

2шт.

26

01435-00825

BOLT

SN: 20503-20641

4шт.

27

363-18-32130

PROTECTOR

SN: 20503-@

1шт.

28

363-03-32110

HOSE

SN: 20503-@

1шт.

29

363-03-32120

HOSE

SN: 20503-@

1шт.

30

07281-00419

CLAMP

SN: 20503-@

4шт.

31

42A-03-11120

TANK

SN: 20503-@

1шт.

32

42A-03-11130

BRACKET

SN: 20503-@

1шт.

33

01435-00612

BOLT

SN: 20503-@

2шт.

34

363-03-33110

HOSE

SN: 20503-@

1шт.

35

07285-00115

CLIP

SN: 20503-@

2шт.

36

363-03-31270

SHEET

SN: 20503-@

1шт.

37

363-03-31250

SHEET

SN: 20503-20641

2шт.

38

363-03-31260

PLATE

SN: 20503-20641

2шт.

39

363-54-32220

PLUG

SN: 20503-20641

4шт.

40

363-03-31240

PLATE

SN: 20503-@

1шт.

41

424-54-14310

SPACER

SN: 20503-@

2шт.

42

01435-01035

BOLT

SN: 20503-@

2шт.

43

421-62-14740

WASHER

SN: 20503-@

2шт.

44

08036-10810

CLIP

SN: 20503-@

2шт.

45

363-J89-3220

NET

SN: 20503-@

1шт.

46

363-J89-3230

NET

SN: 20503-@

1шт.

Выбрано товаров: 47