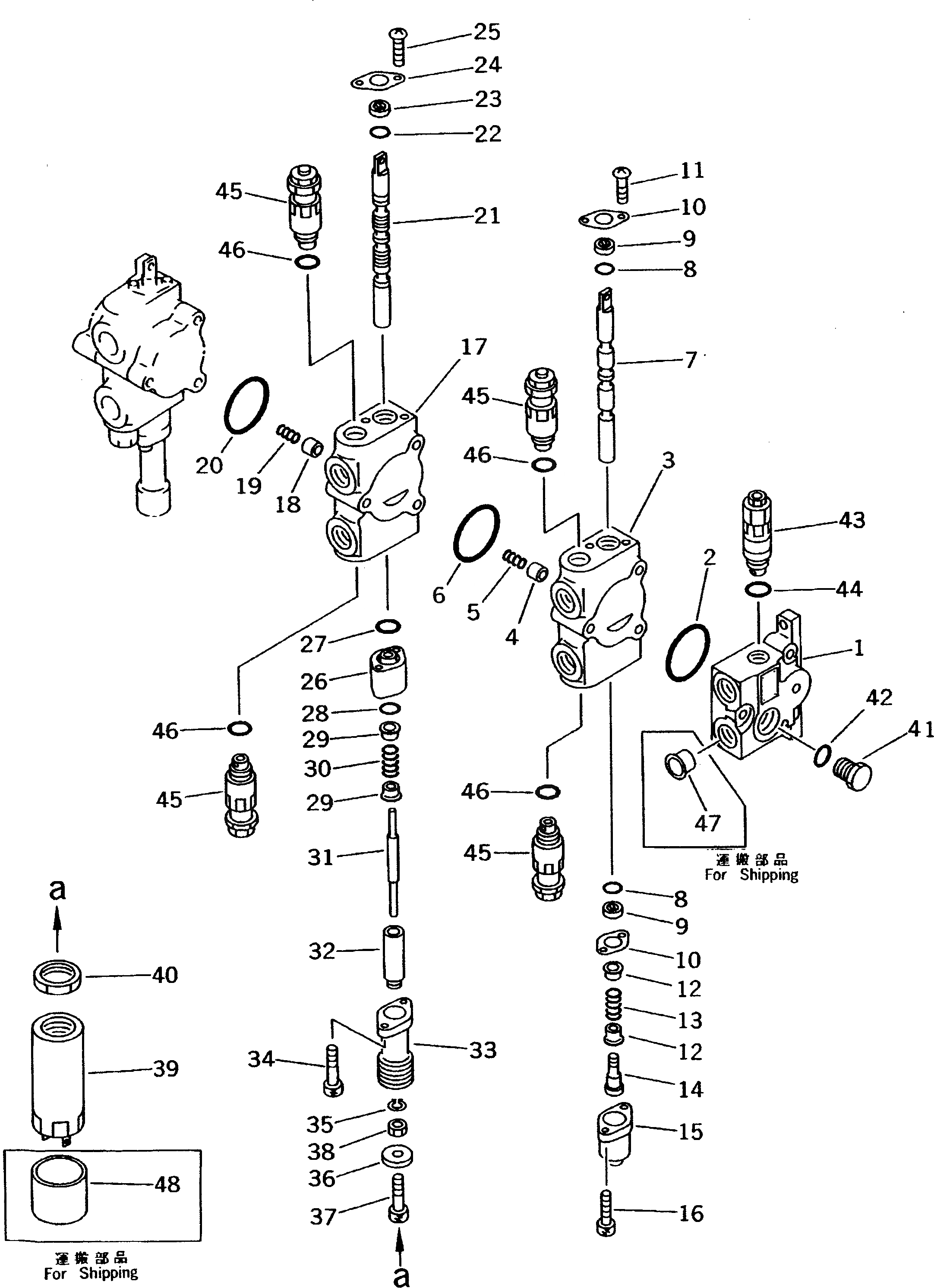
Запчасти Komatsu WA50-3-X 3-Х СЕКЦИОНН. CNTROL КЛАПАН (/)(№-9) ОСНОВН. КОМПОНЕНТЫ И РЕМКОМПЛЕКТЫ

Схема запчастей Komatsu WA50-3-X - 3-Х СЕКЦИОНН. CNTROL КЛАПАН (/)(№-9) ОСНОВН. КОМПОНЕНТЫ И РЕМКОМПЛЕКТЫ
FIT
1:1
100%

Артикул

Название

Примечание

Количество

|1

363-876-3110

VALVE ASS'Y

SN: 20001-20093

1шт.

|$$2

THIS ASSEMBLY CONSISTS OF ALL PARTS SHOWN IN FIGS.Y1682-01A0 AND Y1682-02A0.

-1шт.

|$$3

THE KAYABA KOGYO PART NUMBER IS THAT KB IS REMOVED FROM KOMATSU PART NUMBER LISTED BELOW.

-1шт.

|1

42A-64-13160

INLET SECTION ASS'Y

SN: 20001-@

1шт.

1

KB21011-30336

HOUSING,INLET

SN: 20001-@

1шт.

2

KB21001-00106

O-RING

SN: 20001-@

1шт.

|3

363-876-3120

SPOOL SECTION ASS'Y

SN: 20001-@

1шт.

3

0

HOUSING

SN: 20001-@

1шт.

4

KB21011-32404

POPPET

SN: 20001-@

1шт.

5

KB21011-30604

SPRING

SN: 20001-@

1шт.

6

KB21001-00106

O-RING

SN: 20001-@

1шт.

7

0

SPOOL

SN: 20001-@

1шт.

8

KB21001-00689

O-RING

SN: 20001-@

2шт.

9

KB21011-32801

WIPER

SN: 20001-@

2шт.

10

KB21011-31702

PLATE

SN: 20001-@

2шт.

11

KB91111-60102

SCREW

SN: 20001-@

2шт.

12

KB21011-30702

SEAT,SPRING

SN: 20001-@

2шт.

13

KB21011-30612

SPRING

SN: 20001-@

1шт.

14

KB21011-30507

SCREW,CAP

SN: 20001-@

1шт.

15

KB21011-31011

CAP

SN: 20001-@

1шт.

16

KB92703-06181

BOLT,HEAD

SN: 20001-@

2шт.

|17

363-64-33120

SPOOL SECTION ASS'Y

SN: 20001-20093

1шт.

17

0

HOUSING

SN: 20001-@

1шт.

18

KB21011-32404

POPPET

SN: 20001-@

1шт.

19

KB21011-30604

SPRING

SN: 20001-@

1шт.

20

KB21001-00106

O-RING

SN: 20001-@

1шт.

21

0

SPOOL

SN: 20001-20093

1шт.

22

KB21001-00689

O-RING

SN: 20001-@

1шт.

23

KB21011-32801

WIPER

SN: 20001-@

1шт.

24

KB21011-31702

PLATE

SN: 20001-@

1шт.

25

KB91111-60102

SCREW

SN: 20001-@

2шт.

26

KB21011-30922

SPACER

SN: 20001-20093

1шт.

27

KB95131-01400

O-RING

SN: 20001-20093

1шт.

28

KB21001-00689

O-RING

SN: 20001-20093

1шт.

29

KB21011-30702

SEAT,SPRING

SN: 20001-@

2шт.

30

KB21011-30630

SPRING

SN: 20001-@

1шт.

31

KB21011-30556

PIN

SN: 20001-20093

1шт.

32

KB21011-31842

SLEEVE

SN: 20001-20093

1шт.

33

KB21011-31031

CAP

SN: 20001-20093

1шт.

34

KB92703-06451

BOLT,HEAD

SN: 20001-20093

2шт.

35

KB21011-33504

RING,SNAP

SN: 20001-20093

1шт.

36

KB21011-33452

PLATE

SN: 20001-20093

1шт.

37

KB21001-01366

BOLT,HEAD

SN: 20001-20093

1шт.

38

KB21001-01093

NUT

SN: 20001-20093

1шт.

39

KB25113-30113

TUBE,COIL

SN: 20001-20093

1шт.

40

KB21011-32214

NUT

SN: 20001-20093

1шт.

41

42A-64-13270

PLUG

SN: 20001-@

2шт.

42

42A-64-13280

O-RING

SN: 20001-@

2шт.

43

42A-64-13220

RELIEF VALVE ASS'Y,MAIN

SN: 20001-@

1шт.

44

KB21001-00036

O-RING

SN: 20001-@

1шт.

45

42A-64-13230

RELIEF VALVE ASS'Y,OVERLOAD

SN: 20001-@

4шт.

46

KB21001-00036

O-RING

SN: 20001-@

1шт.

47

42A-64-13250

PLUG,(FOR SHIPPING)

SN: 20001-@

6шт.

48

42A-64-13260

CAP,(FOR SHIPPING)

SN: 20001-20093

1шт.

Выбрано товаров: 54