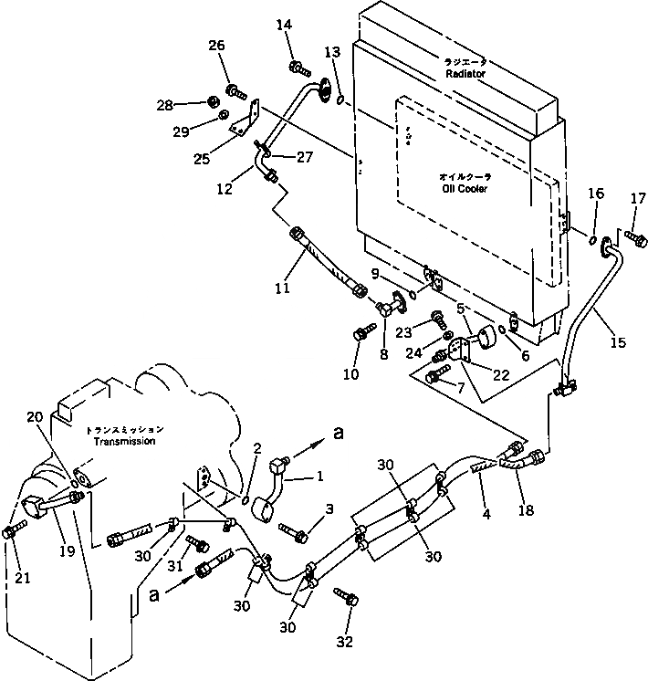
Запчасти Komatsu WA500-1 СИСТЕМА ТРУБ ТРАНСМИССИИ (/)(№-7) ГИДРОТРАНСФОРМАТОР И ТРАНСМИССИЯ

Схема запчастей Komatsu WA500-1 - СИСТЕМА ТРУБ ТРАНСМИССИИ (/)(№-7) ГИДРОТРАНСФОРМАТОР И ТРАНСМИССИЯ
FIT
1:1
100%

Артикул

Название

Примечание

Количество

1

425-16-11410

TUBE

SN: 10001-@

1шт.

2

07000-F3035

O-RING

SN: 10001-@

1шт.

3

01435-01090

BOLT

SN: 20001-@

1шт.

4

07102-21023

HOSE

SN: 20001-@

1шт.

5

425-16-11730

TUBE

SN: 20001-@

1шт.

6

07000-F3035

O-RING

SN: 10001-@

1шт.

7

01435-01060

BOLT

SN: 20001-20071

2шт.

8

425-16-11530

TUBE

SN: 10187-20071

1шт.

9

07000-13035

O-RING

SN: 10187-@

1шт.

10

01435-01030

BOLT

SN: 20001-@

2шт.

11

07102-21003

HOSE

SN: 10187-@

1шт.

12

425-16-11520

TUBE

SN: 10187-20071

1шт.

13

07000-13035

O-RING

SN: 10187-@

1шт.

14

01435-01030

BOLT

SN: 20001-20071

2шт.

15

425-16-11512

TUBE

SN: 20001-20071

1шт.

16

07000-13035

O-RING

SN: 10001-@

1шт.

17

01435-01030

BOLT

SN: 20001-20071

2шт.

18

07102-21031

HOSE

SN: 20001-@

1шт.

19

425-16-11451

TUBE

SN: 10001-@

1шт.

20

07000-13035

O-RING

SN: 10001-@

1шт.

21

01435-01265

BOLT

SN: 20001-@

2шт.

22

425-16-11780

PLATE

SN: 20001-20071

1шт.

23

01010-51225

BOLT

SN: 20001-20071

1шт.

24

01643-31232

WASHER

SN: 20001-20071

1шт.

25

425-16-11550

BRACKET

SN: 10187-20071

1шт.

26

01435-01020

BOLT

SN: 20001-@

2шт.

27

07283-33450

CLIP

SN: 10187-@

1шт.

28

01599-01011

NUT

SN: 10187-20071

2шт.

29

01643-31032

WASHER

SN: 10187-@

2шт.

30

421-16-11660

CLIP

SN: 20001-@

12шт.

31

01435-01016

BOLT

SN: 20001-@

2шт.

32

01435-01025

BOLT

SN: 20001-@

4шт.

Выбрано товаров: 0