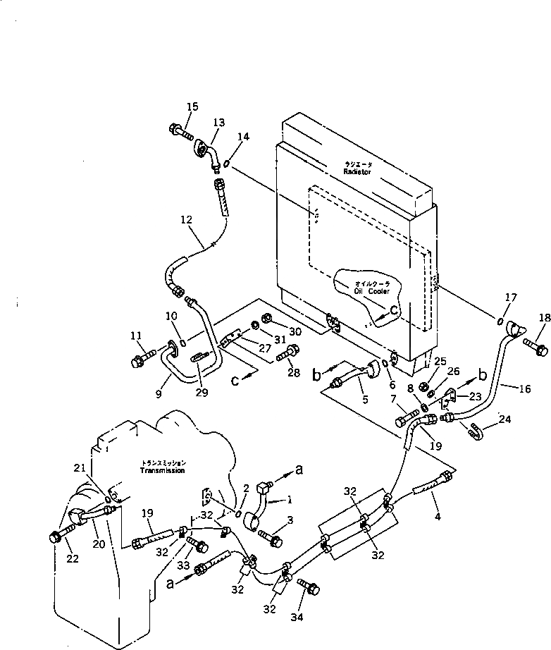
Запчасти Komatsu WA500-1 СИСТЕМА ТРУБ ТРАНСМИССИИ (/)(№7-) ГИДРОТРАНСФОРМАТОР И ТРАНСМИССИЯ

Схема запчастей Komatsu WA500-1 - СИСТЕМА ТРУБ ТРАНСМИССИИ (/)(№7-) ГИДРОТРАНСФОРМАТОР И ТРАНСМИССИЯ
FIT
1:1
100%

Артикул

Название

Примечание

Количество

1

425-16-11410

TUBE

SN: 10001-UP

1шт.

2

07000-F3035

O-RING

SN: 10001-UP

1шт.

3

01435-01090

BOLT

SN: 20001-UP

2шт.

4

07102-21023

HOSE

SN: 20001-UP

1шт.

5

425-16-11730

TUBE

SN: 20001-UP

1шт.

6

07000-F3035

O-RING

SN: 10001-UP

1шт.

7

01010-81070

BOLT

SN: 20072-UP

2шт.

8

01643-31032

WASHER

SN: 20072-UP

2шт.

9

425-16-11531

TUBE

SN: 20072-UP

1шт.

10

07000-13035

O-RING

SN: 10187-UP

1шт.

11

01435-01030

BOLT

SN: 20001-UP

2шт.

12

07102-21003

HOSE

SN: 10187-UP

1шт.

13

425-16-11521

TUBE

SN: 20072-UP

1шт.

14

07000-13035

O-RING

SN: 10187-UP

1шт.

15

01435-01060

BOLT

SN: 20072-UP

2шт.

16

425-16-11513

TUBE

SN: 20072-UP

1шт.

17

07000-13035

O-RING

SN: 10001-UP

1шт.

18

01435-01060

BOLT

SN: 20072-UP

2шт.

19

07102-21031

HOSE

SN: 20001-UP

1шт.

20

425-16-11451

TUBE

SN: 10001-UP

1шт.

21

07000-13035

O-RING

SN: 10001-UP

1шт.

22

01435-01265

BOLT

SN: 20001-UP

2шт.

23

425-16-11781

PLATE

SN: 20072-UP

1шт.

24

07283-33450

CLIP

SN: 20072-UP

1шт.

25

01597-01009

NUT

SN: 20072-UP

2шт.

26

01643-31032

WASHER

SN: 20072-UP

2шт.

27

425-16-11551

BRACKET

SN: 20072-UP

1шт.

28

01435-01020

BOLT

SN: 20001-UP

2шт.

29

07283-33450

CLIP

SN: 10187-UP

1шт.

30

01597-01009

NUT

SN: 20072-UP

2шт.

31

01643-31032

WASHER

SN: 10187-UP

2шт.

32

281-01-13180

CLIP

SN: 20001-UP

12шт.

33

01435-01016

BOLT

SN: 20001-UP

2шт.

34

01435-01025

BOLT

SN: 20001-UP

5шт.

Выбрано товаров: 34