Запчасти Komatsu WA500-1 РАДИАТОР И ТРУБЫ(№-8) КОМПОНЕНТЫ ДВИГАТЕЛЯ И ЭЛЕКТРИКА

Схема запчастей Komatsu WA500-1 - РАДИАТОР И ТРУБЫ(№-8) КОМПОНЕНТЫ ДВИГАТЕЛЯ И ЭЛЕКТРИКА
FIT
1:1
100%

Артикул

Название

Примечание

Количество

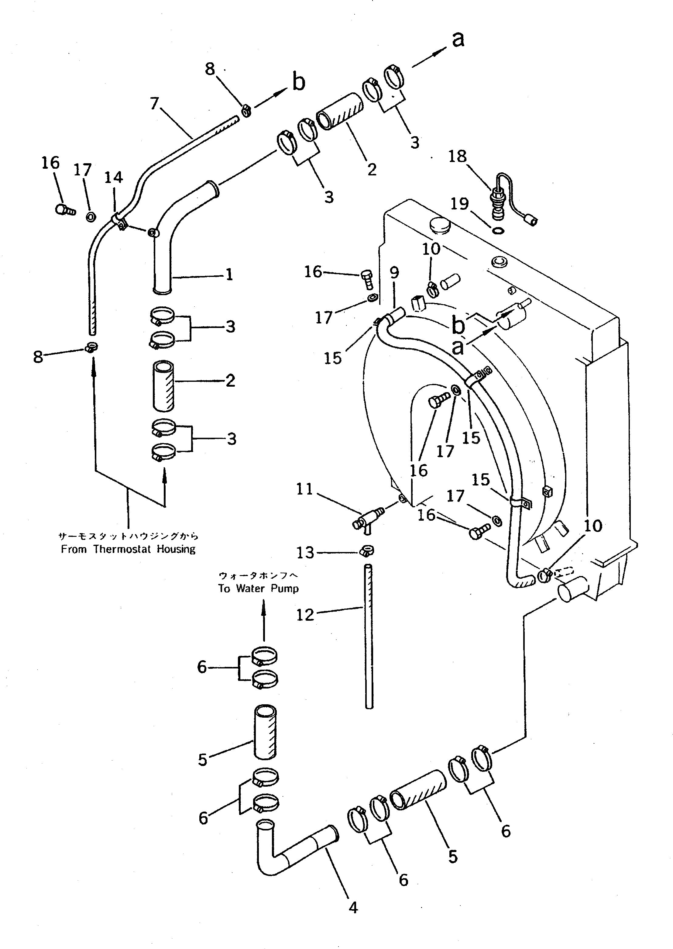
1

425-03-12111

TUBE

SN: 10001-@

1шт.

2

425-03-12120

HOSE

SN: 10001-@

2шт.

3

07281-00809

CLAMP

SN: 10001-@

8шт.

4

425-03-12160

TUBE

SN: 10001-@

1шт.

5

425-03-12140

HOSE

SN: 10001-@

2шт.

6

07281-01029

CLAMP

SN: 10001-@

8шт.

7

09483-00308

HOSE

SN: 10001-@

1шт.

8

07281-00197

CLAMP

SN: 10001-@

2шт.

9

09483-06190

HOSE

SN: 10001-10086

1шт.

10

07281-00419

CLAMP

SN: 10001-@

2шт.

11

07730-30004

VALVE

SN: 10001-@

1шт.

12

07260-21445

HOSE

SN: 10001-@

1шт.

13

07281-00259

CLAMP

SN: 10001-@

1шт.

14

424-06-12740

CLIP

SN: 10001-@

1шт.

15

113-899-7950

CLIP

SN: 10001-@

3шт.

16

01010-51020

BOLT

SN: 10001-@

4шт.

17

01643-31032

WASHER

SN: 10001-@

4шт.

18

7861-99-4520

SENSOR,RADIATOR WATER LEVEL

SN: 10001-@

1шт.

19

07002-23634

O-RING

SN: 10001-@

1шт.

Выбрано товаров: 19