Запчасти Komatsu WA500-1 РАДИАТОР И ТРУБЫ(№87-) КОМПОНЕНТЫ ДВИГАТЕЛЯ И ЭЛЕКТРИКА

Схема запчастей Komatsu WA500-1 - РАДИАТОР И ТРУБЫ(№87-) КОМПОНЕНТЫ ДВИГАТЕЛЯ И ЭЛЕКТРИКА
FIT
1:1
100%

Артикул

Название

Примечание

Количество

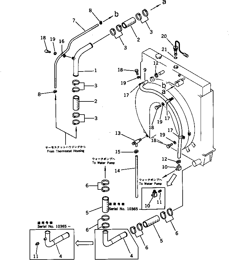
1

425-03-12111

TUBE

SN: 10001-UP

1шт.

2

425-03-12120

HOSE

SN: 10001-UP

2шт.

3

07281-00809

CLAMP

SN: 10001-UP

8шт.

4

425-03-12162

TUBE

SN: 10365-UP

1шт.

4

425-03-12161

TUBE

SN: 10297-10364

1шт.

4

0

TUBE

SN: 10001-10296

1шт.

|$$7

(425-03-12161,425-03-12180(2))

-1шт.

5

425-03-12180

HOSE

SN: 10303-UP

2шт.

5

0

HOSE

SN: 10001-10302

2шт.

|$$10

(425-03-12180(2),425-03-12161)

-1шт.

6

07281-01029

CLAMP

SN: 10001-UP

8шт.

7

09483-00308

HOSE

SN: 10001-UP

1шт.

8

07281-00197

CLAMP

SN: 10001-UP

2шт.

9

09483-06160

HOSE

SN: 10087-UP

1шт.

10

425-03-12152

ELBOW

SN: 10365-UP

1шт.

10

425-03-12151

ELBOW

SN: 10087-10364

1шт.

11

425-03-12240

PLUG

SN: 10365-UP

2шт.

12

07281-00419

CLAMP

SN: 10001-UP

2шт.

13

07730-30004

VALVE

SN: 10001-UP

1шт.

14

07260-21435

HOSE

SN: 20040-UP

1шт.

14

07260-21445

HOSE

SN: 10001-20039

1шт.

15

07281-00259

CLAMP

SN: 10001-UP

1шт.

16

424-06-12740

CLIP

SN: 10001-UP

1шт.

17

113-899-7950

CLIP

SN: 10001-UP

3шт.

18

01010-81020

BOLT

SN: 10001-UP

4шт.

19

01643-31032

WASHER

SN: 10001-UP

4шт.

20

7861-91-4540

SENSOR,RADIATOR WATER LEVEL

SN: 10368-UP

1шт.

20

0

SENSOR,RADIATOR WATER LEVEL

SN: 10001-10367

1шт.

21

07002-23634

O-RING

SN: 10001-UP

1шт.

Выбрано товаров: 29