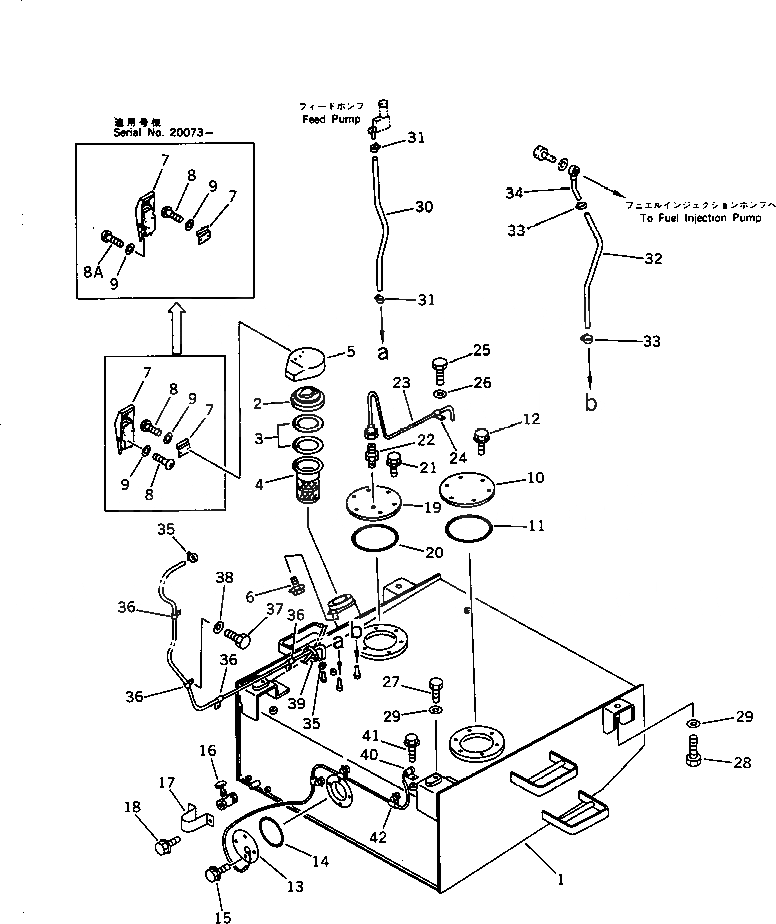
Запчасти Komatsu WA500-1 ТОПЛ. БАК И ТОПЛИВОПРОВОД(№-) КОМПОНЕНТЫ ДВИГАТЕЛЯ И ЭЛЕКТРИКА

Схема запчастей Komatsu WA500-1 - ТОПЛ. БАК И ТОПЛИВОПРОВОД(№-) КОМПОНЕНТЫ ДВИГАТЕЛЯ И ЭЛЕКТРИКА
FIT
1:1
100%

Артикул

Название

Примечание

Количество

1

425-04-11113

TANK

SN: 20001-UP

1шт.

2

423-04-11362

CAP

SN: 20477-UP

1шт.

2

423-04-11361

CAP

SN: 20001-20476

1шт.

3

417-04-21230

PACKING

SN: 20477-UP

1шт.

3

20Y-04-11240

PACKING

SN: 20001-20476

1шт.

3

423-04-11770

PACKING, 1.0MM

SN: 20001-20476

1шт.

4

07056-18416

STRAINER

SN: 10001-UP

1шт.

5

425-04-11161

COVER

SN: 20001-UP

1шт.

6

01435-01020

BOLT

SN: 20001-UP

2шт.

7

421-09-12321

HOLDER

SN: 20001-UP

1шт.

8

01220-40508

SCREW

SN: 20073-UP

2шт.

8

01220-40408

SCREW

SN: 20001-20072

5шт.

8A

01220-40512

SCREW

SN: 20073-UP

3шт.

9

01641-20508

WASHER

SN: 20073-UP

5шт.

9

01641-20405

WASHER

SN: 20001-20072

5шт.

10

428-04-11120

COVER

SN: 20001-UP

1шт.

11

07000-15200

O-RING

SN: 20001-UP

1шт.

12

01435-01025

BOLT

SN: 20001-UP

6шт.

13

7861-91-4820

SENSOR,FUEL LEVEL

SN: 20001-UP

1шт.

14

07000-12085

O-RING

SN: 10001-UP

1шт.

15

01435-01014

BOLT

SN: 20001-UP

4шт.

16

416-04-10131

VALVE

SN: 20836-UP

1шт.

16

0

VALVE,DRAIN

SN: 20001-20835

1шт.

17

419-04-11120

COVER

SN: 20001-UP

1шт.

18

01435-00816

BOLT

SN: 20001-UP

2шт.

19

421-04-11182

COVER

SN: 20001-UP

1шт.

20

07000-15200

O-RING

SN: 20001-UP

1шт.

21

01435-01025

BOLT

SN: 20001-UP

6шт.

22

423-09-12120

CONNECTOR

SN: 20001-UP

1шт.

23

425-04-11142

TUBE

SN: 20001-UP

1шт.

24

424-04-11120

CLIP

SN: 10001-UP

1шт.

25

01010-81020

BOLT

SN: 10001-UP

1шт.

26

01643-31032

WASHER

SN: 10001-UP

1шт.

27

01011-62405

BOLT

SN: 20001-UP

2шт.

28

01010-62470

BOLT

SN: 20001-UP

2шт.

29

01643-32460

WASHER

SN: 10001-UP

4шт.

30

07270-21055

TUBE

SN: 10001-UP

1шт.

31

07281-00197

CLAMP

SN: 10001-UP

2шт.

32

07270-21065

TUBE

SN: 10001-UP

1шт.

33

07281-00197

CLAMP

SN: 10001-UP

2шт.

34

424-04-11130

TUBE

SN: 20001-UP

1шт.

35

07280-00910

CLAMP

SN: 10001-UP

2шт.

36

08036-10814

CLIP

SN: 20130-UP

4шт.

36

08036-10814

CLIP

SN: 10001-20129

2шт.

37

01435-01016

BOLT

SN: 20130-UP

4шт.

37

01010-51016

BOLT

SN: 20001-20129

1шт.

38

01643-31032

WASHER

SN: 20001-20129

1шт.

39

08034-20519

BAND

SN: .-20129

2шт.

39

0

BAND

SN: 10001-.

2шт.

40

08052-11711

CLIP

SN: 20001-UP

1шт.

41

01435-01016

BOLT

SN: 20001-UP

4шт.

42

04434-50610

CLIP

SN: 20001-UP

1шт.

Выбрано товаров: 52