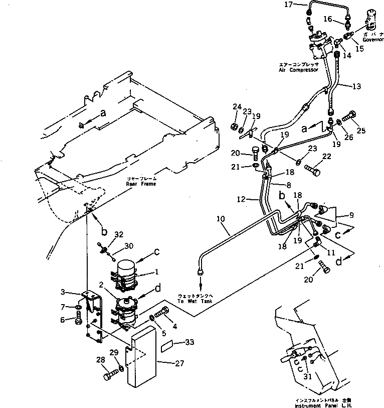
Запчасти Komatsu WA500-1 ВОЗД. ВЛАГООТДЕЛИТЕЛЬ ТРУБЫ(№-9999) ВЕДУЩ. ВАЛ¤ ДИФФЕРЕНЦ. И КОЛЕСА

Схема запчастей Komatsu WA500-1 - ВОЗД. ВЛАГООТДЕЛИТЕЛЬ ТРУБЫ(№-9999) ВЕДУЩ. ВАЛ¤ ДИФФЕРЕНЦ. И КОЛЕСА
FIT
1:1
100%

Артикул

Название

Примечание

Количество

1

421-35-16101

CHAMBER ASS'Y

SN: 10001-@

1шт.

2

421-35-16200

AIR DRYER ASS'Y,(SEE FIG.3651)

SN: 10001-@

1шт.

3

425-W90-1110

BRACKET

SN: 10001-@

1шт.

4

01010-51025

BOLT

SN: 10001-@

8шт.

5

01643-31032

WASHER

SN: 10001-@

8шт.

6

01010-51225

BOLT

SN: 10001-@

2шт.

7

01643-31232

WASHER

SN: 10001-@

2шт.

8

425-W90-1130

TUBE

SN: 10001-19999

1шт.

9

07217-51521

ELBOW

SN: 10001-@

2шт.

10

425-W90-1140

TUBE

SN: 10001-19999

1шт.

11

421-35-16430

ELBOW

SN: 10001-19999

1шт.

12

425-W90-1150

TUBE

SN: 10001-19999

1шт.

13

07102-20204

HOSE

SN: 10001-19999

1шт.

14

19M-60-15320

ELBOW

SN: 10001-@

1шт.

15

425-W90-1160

TEE

SN: 10001-19999

1шт.

16

07214-50710

CONNECTOR

SN: 10001-19999

1шт.

17

425-W90-1170

TUBE

SN: 10001-19999

1шт.

18

08035-01510

CLIP

SN: 10001-19999

2шт.

19

425-70-13120

CLIP

SN: 10001-19999

5шт.

20

01010-51025

BOLT

SN: 10001-19999

2шт.

21

01643-31032

WASHER

SN: 10001-19999

2шт.

22

01010-51020

BOLT

SN: 10001-19999

1шт.

23

01643-31032

WASHER

SN: 10001-19999

2шт.

24

01580-11008

NUT

SN: 10001-19999

1шт.

25

01010-51020

BOLT

SN: 10001-19999

1шт.

26

01643-31032

WASHER

SN: 10001-19999

1шт.

27

425-W90-1120

COVER

SN: 10001-@

1шт.

28

01010-51020

BOLT

SN: 10001-@

2шт.

29

01643-31032

WASHER

SN: 10001-@

2шт.

30

425-W90-1330

WIRE

SN: 10001-@

1шт.

31

424-W90-1140

CONNECTOR

SN: 10001-19999

1шт.

32

08034-00519

BAND

SN: 10001-@

14шт.

33

423-93-11630

PLATE, OPERATING

SN: 10001-19999

1шт.

Выбрано товаров: 33