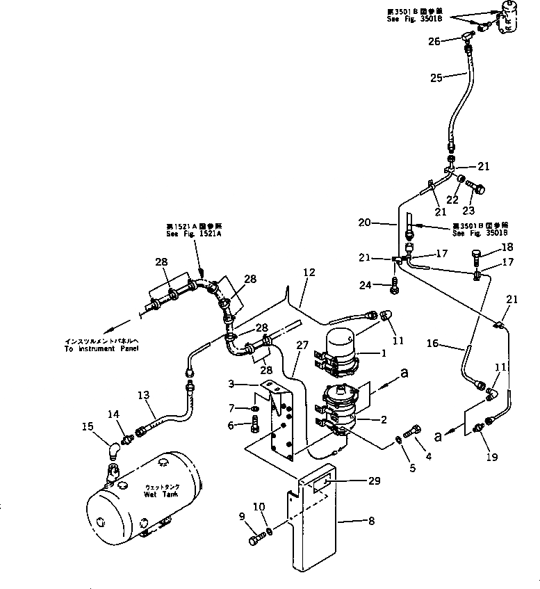
Запчасти Komatsu WA500-1 ВОЗД. ВЛАГООТДЕЛИТЕЛЬ ТРУБЫ(№-) ВЕДУЩ. ВАЛ¤ ДИФФЕРЕНЦ. И КОЛЕСА

Схема запчастей Komatsu WA500-1 - ВОЗД. ВЛАГООТДЕЛИТЕЛЬ ТРУБЫ(№-) ВЕДУЩ. ВАЛ¤ ДИФФЕРЕНЦ. И КОЛЕСА
FIT
1:1
100%

Артикул

Название

Примечание

Количество

1

421-35-16101

CHAMBER ASS'Y

SN: 10001-UP

1шт.

2

421-35-16200

AIR DRYER ASS'Y,(SEE FIG.3651)

SN: 10001-UP

1шт.

3

425-W90-1110

BRACKET

SN: 10001-UP

1шт.

4

01010-81025

BOLT

SN: 10001-UP

8шт.

5

01643-31032

WASHER

SN: 10001-UP

8шт.

6

01010-81225

BOLT

SN: 10001-UP

2шт.

7

01643-31232

WASHER

SN: 10001-UP

2шт.

8

425-W90-1120

COVER

SN: 10001-UP

1шт.

9

01010-81020

BOLT

SN: 10001-UP

2шт.

10

01643-31032

WASHER

SN: 10001-UP

2шт.

11

07217-71521

ELBOW

SN: 10001-UP

2шт.

12

425-W90-1142

TUBE

SN: 20001-UP

1шт.

13

425-35-13260

HOSE

SN: 20001-UP

1шт.

14

424-09-12580

CONNECTOR

SN: 20001-UP

1шт.

15

07323-B0300

ELBOW

SN: 20001-UP

1шт.

16

425-W90-1132

TUBE

SN: .-UP

1шт.

16

425-W90-1131

TUBE

SN: 20001-.

1шт.

17

04434-51510

CLIP

SN: 20001-UP

2шт.

18

01435-01016

BOLT

SN: 20001-UP

2шт.

19

427-35-12620

CONNECTOR

SN: 20001-UP

1шт.

20

425-W90-1152

TUBE

SN: .-UP

1шт.

20

425-W90-1151

TUBE

SN: 20001-.

1шт.

21

04434-50610

CLIP

SN: 20001-UP

4шт.

22

421-06-12780

SPACER

SN: 20001-UP

2шт.

23

01435-01045

BOLT

SN: 20001-UP

2шт.

24

01435-01016

BOLT

SN: 20001-UP

2шт.

25

427-35-12840

HOSE

SN: 20001-UP

1шт.

26

19M-60-15320

ELBOW

SN: 10001-UP

1шт.

27

425-W90-1331

WIRE

SN: .-UP

1шт.

27

0

WIRE

SN: 10001-.

1шт.

27

425-W90-1331

WIRE,(TBG SPEC.)

SN: 20915-UP

1шт.

27

0

WIRE,(TBG SPEC.)

SN: 20001-20914

1шт.

28

08034-20519

BAND

SN: .-UP

14шт.

28

0

BAND

SN: 10001-.

14шт.

29

423-93-11180

PLATE, OPERATING,(ENGLISH)

SN: 20001-UP

1шт.

29

427-W90-1320

PLATE, OPERATING,(RUSSIAN)

SN: 20001-UP

1шт.

29

423-933-1180

PLATE, OPERATING,(FRENCH)

SN: 20001-UP

1шт.

29

423-93-11630

PLATE, OPERATING,(GERMAN)

SN: 20001-UP

1шт.

29

423-V01-1180

PLATE, OPERATING,(ARABIC)

SN: 20001-UP

1шт.

29

423-V00-1180

PLATE, OPERATING,(SPANISH)

SN: 20001-UP

1шт.

29

423-V03-1180

PLATE, OPERATING,(PORTUGUESE)

SN: 20001-UP

1шт.

29

423-V05-1180

PLATE, OPERATING,(ITALIAN)

SN: 20001-UP

1шт.

Выбрано товаров: 42