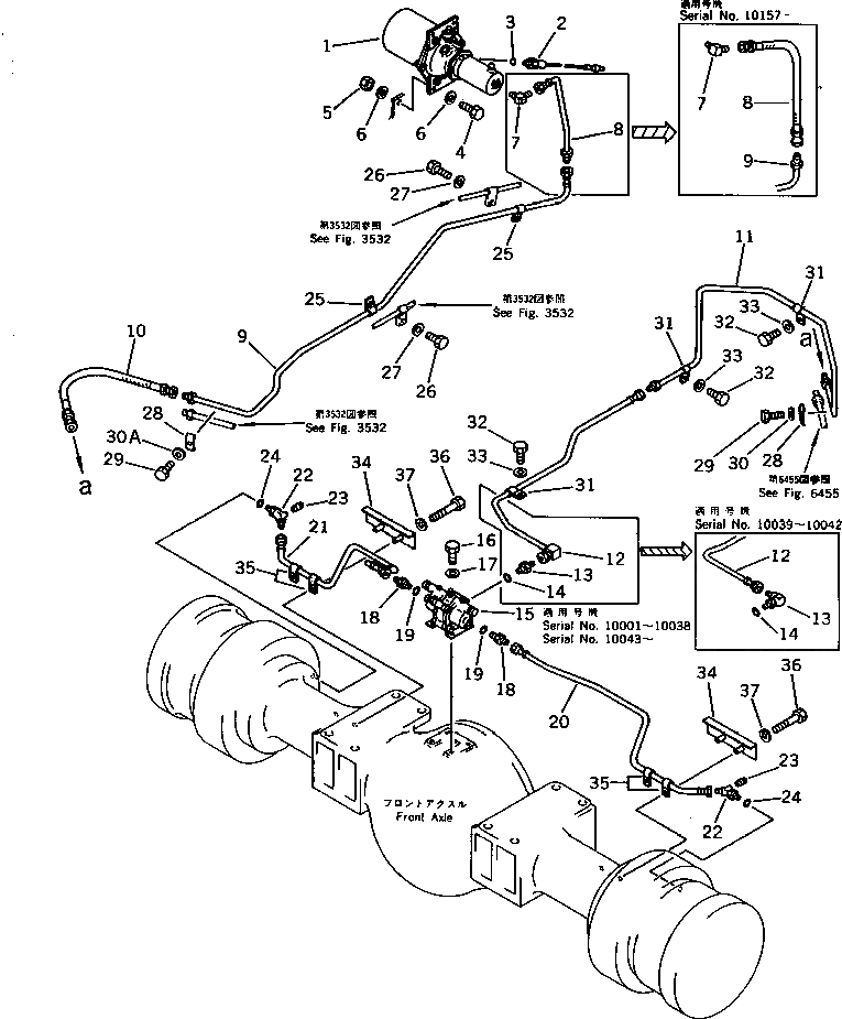
Запчасти Komatsu WA500-1 ТОРМОЗ. МАСЛОПРОВОДЯЩАЯ ЛИНИЯ (ПЕРЕДН ТОРМОЗН. ГИДРОЛИНИЯ)(№-9999) ВЕДУЩ. ВАЛ¤ ДИФФЕРЕНЦ. И КОЛЕСА

Схема запчастей Komatsu WA500-1 - ТОРМОЗ. МАСЛОПРОВОДЯЩАЯ ЛИНИЯ (ПЕРЕДН ТОРМОЗН. ГИДРОЛИНИЯ)(№-9999) ВЕДУЩ. ВАЛ¤ ДИФФЕРЕНЦ. И КОЛЕСА
FIT
1:1
100%

Артикул

Название

Примечание

Количество

1

421-35-13301

BRAKE CHAMBER ASS'Y

SN: 10001-19999

1шт.

2

7861-99-1600

SENSOR,STROKE

SN: 10001-19999

1шт.

3

07002-02034

O-RING

SN: 10001-19999

1шт.

4

01010-51235

BOLT

SN: 10001-19999

4шт.

5

01580-11210

NUT

SN: 10001-19999

4шт.

6

01643-31232

WASHER

SN: 10001-19999

8шт.

7

195-04-12280

ELBOW

SN: 10157-19999

1шт.

7

562-97-11690

ELBOW

SN: 10001-10156

1шт.

8

07104-20404

HOSE

SN: 10157-19999

1шт.

8

0

TUBE

SN: 10001-10156

1шт.

|$$11

(07104-20404,425-35-11293,

-1шт.

|$$12

195-04-12280)

-1шт.

9

425-35-11293

TUBE

SN: 10157-19999

1шт.

9

0

TUBE

SN: 10043-10156

1шт.

|$$15

(425-35-11293,07104-20404,

-1шт.

|$$16

195-04-12280)

-1шт.

9

425-35-11290

TUBE

SN: 10039-10042

1шт.

9

425-35-11291

TUBE

SN: 10001-10038

1шт.

10

07104-20307

HOSE

SN: 10001-19999

1шт.

11

425-35-11121

TUBE

SN: 10001-19999

1шт.

12

425-35-11641

TUBE

SN: 10043-19999

1шт.

12

425-35-11640

TUBE

SN: 10039-10042

1шт.

12

425-35-11641

TUBE

SN: 10001-10038

1шт.

13

07230-10315

UNION

SN: 10043-19999

1шт.

13

07235-10315

ELBOW

SN: 10039-10042

1шт.

13

07230-10315

UNION

SN: 10001-10038

1шт.

14

07002-02034

O-RING

SN: 10001-@

1шт.

15

424-35-15201

SLACK ADJUSTER ASS'Y,BRAKE

SN: 10001-@

1шт.

16

01010-51020

BOLT

SN: 10001-19999

4шт.

17

01643-31032

WASHER

SN: 10001-19999

4шт.

18

07230-10315

UNION

SN: 10001-19999

2шт.

19

07002-02034

O-RING

SN: 10001-@

2шт.

20

425-35-11132

TUBE

SN: 10001-19999

1шт.

21

425-35-11142

TUBE

SN: 10001-19999

1шт.

22

07236-50315

ELBOW

SN: 10001-19999

2шт.

23

07042-30108

PLUG

SN: 10001-19999

2шт.

24

07002-02034

O-RING

SN: 10001-@

2шт.

25

08035-01510

CLIP

SN: 10001-@

2шт.

26

01010-51020

BOLT

SN: 10001-@

2шт.

27

01643-31032

WASHER

SN: 10001-@

2шт.

28

425-35-15210

CLAMP

SN: 10001-@

2шт.

29

01010-51025

BOLT

SN: 10001-@

2шт.

30

01643-31032

WASHER

SN: 10001-@

1шт.

30A

01641-21016

WASHER

SN: 10535-@

1шт.

30A

01643-31032

WASHER

SN: 10001-10534

1шт.

31

08035-01510

CLIP

SN: 10001-@

3шт.

32

01010-51016

BOLT

SN: 10001-@

3шт.

33

01643-31032

WASHER

SN: 10001-@

3шт.

34

425-35-11541

COVER

SN: 10001-@

2шт.

35

08035-01510

CLIP

SN: 10001-@

4шт.

36

01010-51050

BOLT

SN: 10001-@

4шт.

37

01643-31032

WASHER

SN: 10001-@

4шт.

Выбрано товаров: 52