Запчасти Komatsu WA500-1 РУЛЕВ. УПРАВЛЕНИЕ МЕХАНИЗМ(№-9999) РУЛЕВ. УПРАВЛЕНИЕ И СИСТЕМА УПРАВЛЕНИЯS

Схема запчастей Komatsu WA500-1 - РУЛЕВ. УПРАВЛЕНИЕ МЕХАНИЗМ(№-9999) РУЛЕВ. УПРАВЛЕНИЕ И СИСТЕМА УПРАВЛЕНИЯS
FIT
1:1
100%

Артикул

Название

Примечание

Количество

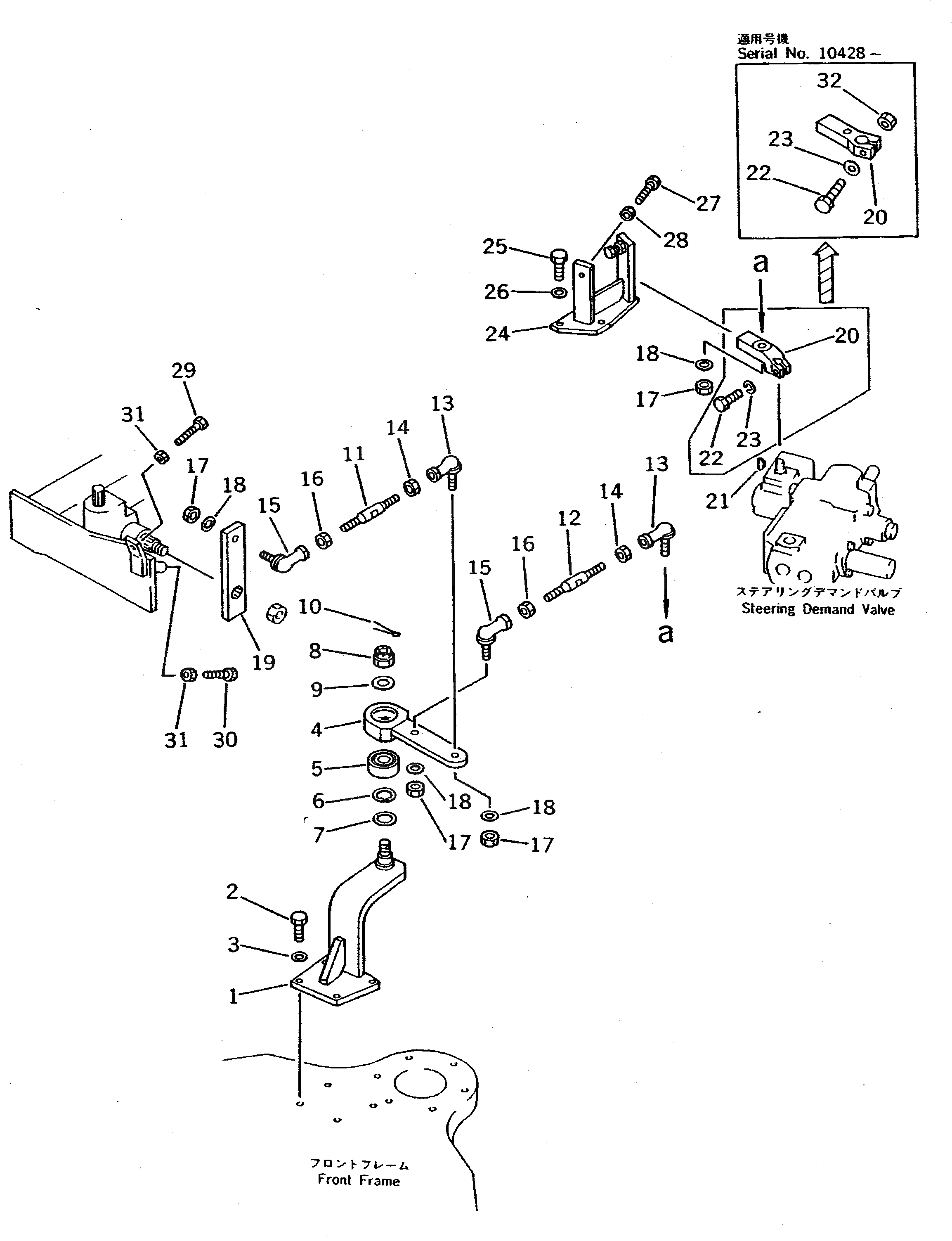
1

425-40-11131

BRACKET

SN: 10001-19999

1шт.

2

01010-51445

BOLT

SN: 10001-19999

4шт.

3

01643-31445

WASHER

SN: 10001-19999

4шт.

4

421-40-11621

LEVER

SN: 10001-19999

1шт.

5

421-40-11411

BEARING

SN: 10001-@

1шт.

6

04065-06220

RING,SNAP

SN: 10001-@

1шт.

7

421-40-11720

WASHER

SN: 10001-19999

1шт.

8

01590-12427

NUT

SN: 10001-@

1шт.

9

421-40-11710

WASHER

SN: 10001-19999

1шт.

10

04050-15045

PIN,COTTER

SN: 10001-@

1шт.

11

421-40-11320

ROD

SN: 10001-@

1шт.

12

421-40-11340

ROD

SN: 10001-19999

1шт.

13

421-40-11381

JOINT

SN: 10001-19999

2шт.

14

01580-11613

NUT

SN: 10001-19999

2шт.

15

421-40-11371

JOINT,L.H. THREAD

SN: 10001-19999

2шт.

16

421-40-11390

NUT,L.H. THREAD

SN: 10001-19999

2шт.

17

421-40-11510

NUT

SN: 10001-@

4шт.

18

01643-31645

WASHER

SN: 10001-19999

4шт.

19

425-40-11160

PLATE

SN: 10001-19999

1шт.

20

421-40-11220

LEVER

SN: 10428-19999

1шт.

20

421-40-11361

LEVER

SN: 10001-10427

1шт.

21

04010-00519

KEY

SN: 10001-10427

1шт.

22

01090-51265

BOLT

SN: 10428-@

1шт.

22

01010-50830

BOLT

SN: 10001-10427

1шт.

23

01643-51232

WASHER

SN: 10428-19999

1шт.

23

01602-20825

WASHER,SPRING

SN: 10001-10427

1шт.

24

425-40-11180

BRACKET

SN: 10001-19999

1шт.

25

01010-51235

BOLT

SN: 10001-19999

3шт.

26

01643-31232

WASHER

SN: 10001-19999

3шт.

27

01016-51245

BOLT

SN: 10001-19999

2шт.

28

01580-11210

NUT

SN: 10001-19999

2шт.

29

01016-51280

BOLT

SN: 10001-@

1шт.

30

01016-51250

BOLT

SN: 10001-19999

1шт.

31

01580-11210

NUT

SN: 10001-@

2шт.

32

01582-11210

NUT

SN: 10428-@

1шт.

Выбрано товаров: 0