Запчасти Komatsu WA500-1 ГИДРОЛИНИЯ ЭКСТРЕННОГО УПРАВЛЕНИЯ (ПЕРЕПУСКН. КЛАПАН - БАК)(№-) РУЛЕВ. УПРАВЛЕНИЕ И СИСТЕМА УПРАВЛЕНИЯS

Схема запчастей Komatsu WA500-1 - ГИДРОЛИНИЯ ЭКСТРЕННОГО УПРАВЛЕНИЯ (ПЕРЕПУСКН. КЛАПАН - БАК)(№-) РУЛЕВ. УПРАВЛЕНИЕ И СИСТЕМА УПРАВЛЕНИЯS
FIT
1:1
100%

Артикул

Название

Примечание

Количество

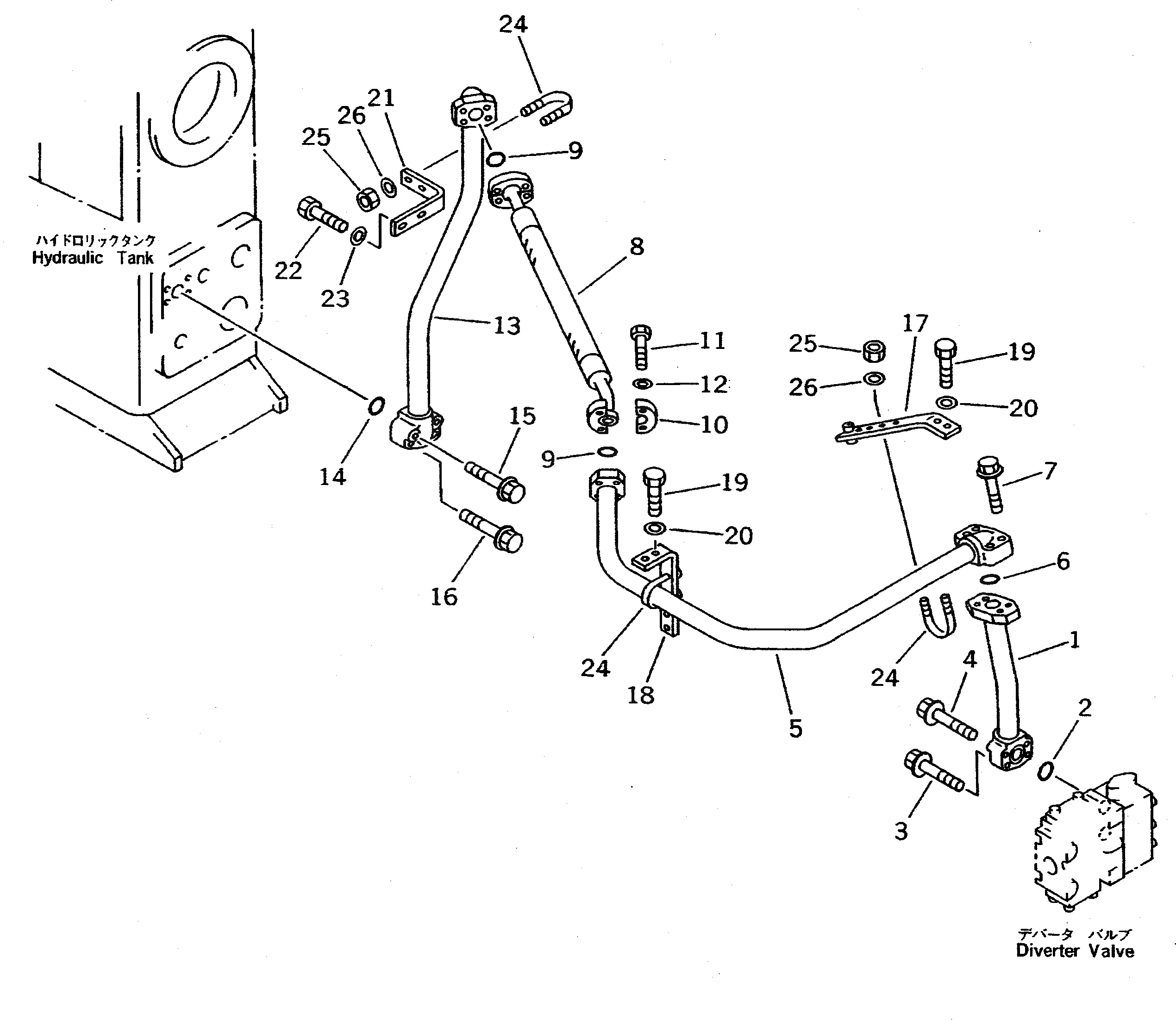
1

425-875-1343

TUBE

SN: 20001-UP

1шт.

2

07000-13035

O-RING

SN: 10001-UP

1шт.

3

01435-01050

BOLT

SN: 20001-UP

2шт.

4

01435-01055

BOLT

SN: 20001-UP

2шт.

5

425-875-1610

TUBE

SN: 20001-UP

1шт.

6

07000-13035

O-RING

SN: 20001-UP

1шт.

7

01435-01055

BOLT

SN: 20001-UP

4шт.

8

07297-01005

HOSE

SN: 20001-UP

1шт.

9

07000-13032

O-RING

SN: 20001-UP

2шт.

10

07371-31049

FLANGE,SPLIT

SN: 20001-UP

4шт.

11

07372-21035

BOLT

SN: 20001-UP

8шт.

12

01643-51032

WASHER

SN: 20001-UP

8шт.

13

425-875-1740

TUBE

SN: 20001-UP

1шт.

14

07000-13035

O-RING

SN: 20001-UP

1шт.

15

01435-01055

BOLT

SN: 20001-UP

2шт.

16

01435-01050

BOLT

SN: 20001-UP

2шт.

17

425-875-1650

BRACKET

SN: 20001-UP

1шт.

18

425-875-1521

BRACKET

SN: 20001-UP

1шт.

19

01010-81025

BOLT

SN: 20001-UP

4шт.

20

01643-31032

WASHER

SN: 20001-UP

4шт.

21

425-875-1670

PLATE

SN: 20001-UP

1шт.

22

01010-81030

BOLT

SN: 20001-UP

2шт.

23

01643-31032

WASHER

SN: 20001-UP

2шт.

24

07283-33450

CLIP

SN: 20001-UP

3шт.

25

01597-01009

NUT

SN: 20001-UP

6шт.

26

01643-31032

WASHER

SN: 20001-UP

6шт.

Выбрано товаров: 26