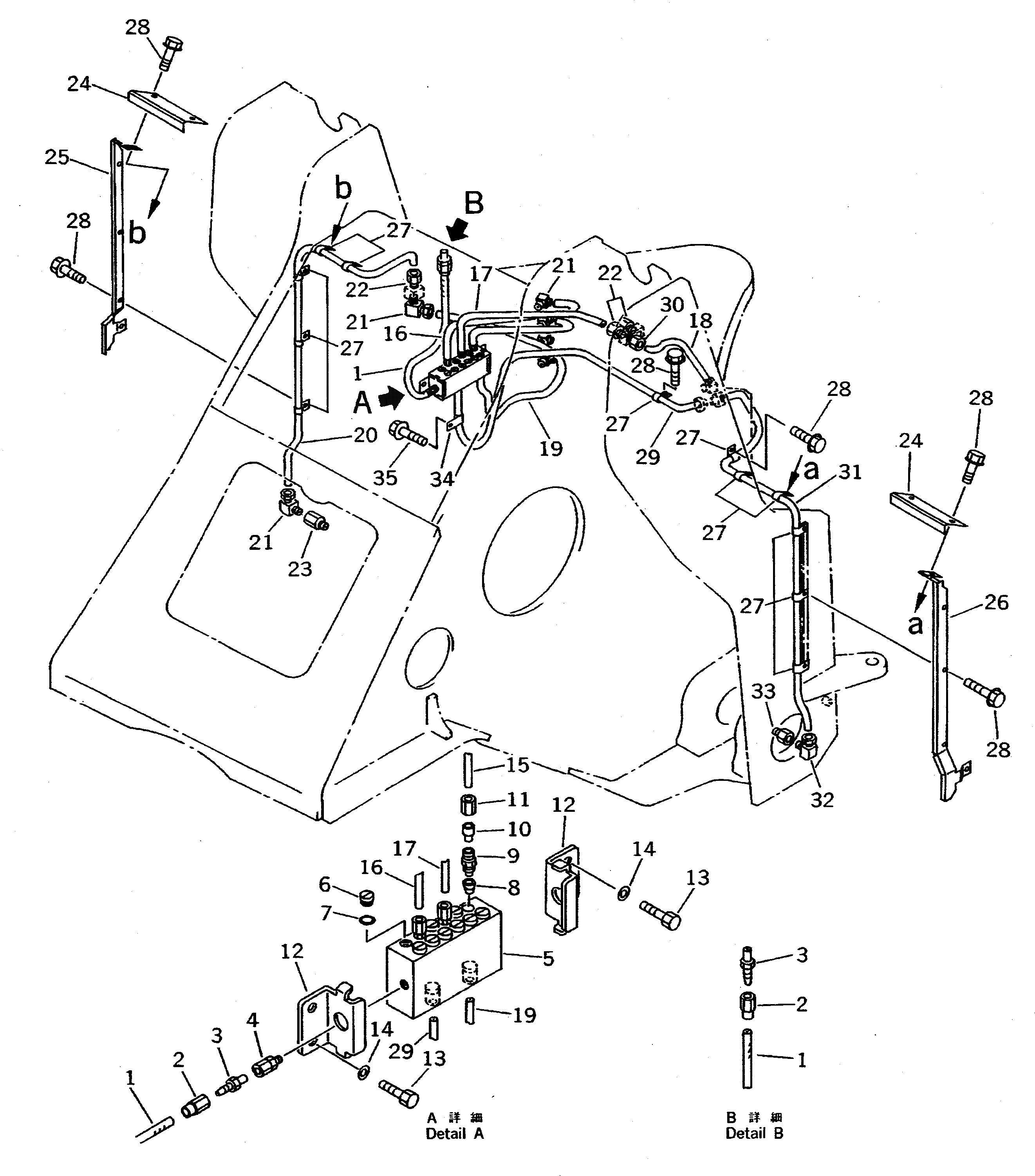
Запчасти Komatsu WA500-1 АВТОМАТИЧ. СМАЗ. СИСТЕМА (СТРЕЛА И ЦИЛИНДР КОВША ПАЛЕЦ)(№-) РАМА И ЧАСТИ КОРПУСА

Схема запчастей Komatsu WA500-1 - АВТОМАТИЧ. СМАЗ. СИСТЕМА (СТРЕЛА И ЦИЛИНДР КОВША ПАЛЕЦ)(№-) РАМА И ЧАСТИ КОРПУСА
FIT
1:1
100%

Артикул

Название

Примечание

Количество

|$0

425-S95-1580

HOSE ASS'Y

SN: 20001-UP

1шт.

1

425-S95-2360

HOSE

SN: 20001-UP

1шт.

2

425-S95-2140

SLEEVE

SN: 20001-UP

2шт.

3

425-S95-2150

STUD

SN: 20001-UP

2шт.

4

425-S95-2120

CONNECTOR

SN: 20001-UP

1шт.

5

425-S95-2290

VALVE,(SSV12)

SN: 20001-UP

1шт.

6

425-S95-2610

PLUG

SN: 20001-UP

7шт.

7

425-S95-2240

WASHER

SN: 20001-UP

7шт.

8

425-S95-2210

RING,CLAMP

SN: 20001-UP

5шт.

9

425-S95-2180

BODY,VALVE

SN: 20001-UP

5шт.

10

425-S95-2190

FERRULE

SN: 20001-UP

5шт.

11

425-S95-2170

NUT,COUPLING

SN: 20001-UP

5шт.

12

425-S95-2250

CLAMP

SN: 20001-UP

2шт.

13

01435-01016

BOLT

SN: .-UP

4шт.

13

01010-51020

BOLT

SN: 20001-.

4шт.

14

01643-51032

WASHER

SN: 20001-.

4шт.

15

425-S95-2470

TUBE

SN: 20001-UP

1шт.

16

425-S95-2510

TUBE

SN: 20001-UP

1шт.

17

425-S95-2450

TUBE

SN: 20001-UP

1шт.

18

425-S95-2490

TUBE

SN: 20001-UP

1шт.

19

425-S95-2571

TUBE

SN: .-UP

1шт.

19

425-S95-2570

TUBE

SN: 20001-.

1шт.

20

425-S95-2550

TUBE

SN: 20001-UP

1шт.

21

425-S95-2130

ELBOW

SN: 20001-UP

6шт.

22

425-S95-2120

CONNECTOR

SN: 20001-UP

3шт.

23

423-70-11160

NIPPLE

SN: 20001-UP

1шт.

24

425-S95-2590

PLATE

SN: 20001-UP

2шт.

25

425-S95-2390

COVER,R.H.

SN: 20001-UP

1шт.

26

425-S95-2380

COVER,L.H.

SN: 20001-UP

1шт.

27

04434-50610

CLIP

SN: 20001-UP

12шт.

28

01435-01020

BOLT

SN: 20001-UP

14шт.

29

425-S95-2560

TUBE

SN: 20001-UP

1шт.

30

425-S95-2120

CONNECTOR

SN: 20001-UP

2шт.

31

425-S95-2520

TUBE

SN: 20001-UP

1шт.

32

425-S95-2130

ELBOW

SN: 20001-UP

1шт.

33

423-70-11160

NIPPLE

SN: 20001-UP

1шт.

34

04434-50610

CLIP

SN: .-UP

1шт.

35

01435-01016

BOLT

SN: .-UP

1шт.

Выбрано товаров: 38