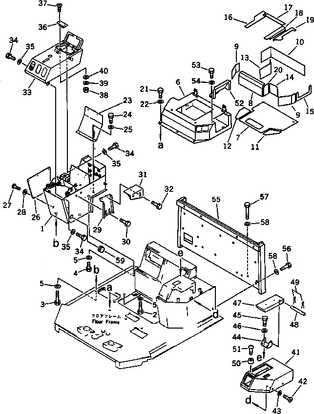
Запчасти Komatsu WA500-1 КОНСОЛЬН. БЛОК (С КАБИНОЙ) (С КОНДИЦИОНЕРОМ)(№-9999) РАМА И ЧАСТИ КОРПУСА

Схема запчастей Komatsu WA500-1 - КОНСОЛЬН. БЛОК (С КАБИНОЙ) (С КОНДИЦИОНЕРОМ)(№-9999) РАМА И ЧАСТИ КОРПУСА
FIT
1:1
100%

Артикул

Название

Примечание

Количество

1

421-877-1360

BRACKET

SN: 10145-19999

1шт.

1

0

BRACKET

SN: 10001-10144

1шт.

2

01010-51270

BOLT

SN: 10001-19999

2шт.

3

01010-51280

BOLT

SN: 10001-19999

2шт.

4

01010-51225

BOLT

SN: 10001-19999

1шт.

5

01643-31232

WASHER

SN: 10001-19999

5шт.

6

425-54-12610

BRACKET ASS'Y

SN: 10001-19999

1шт.

7

425-54-12630

INSULATOR

SN: 10001-19999

1шт.

8

425-54-12640

INSULATOR

SN: 10001-19999

1шт.

9

425-54-12650

INSULATOR

SN: 10001-19999

2шт.

10

425-54-12621

INSULATOR

SN: 10001-19999

1шт.

11

423-54-12710

INSULATOR

SN: 10166-19999

1шт.

12

423-54-12720

INSULATOR

SN: 10166-19999

1шт.

13

423-54-12730

INSULATOR

SN: 10166-19999

1шт.

14

423-54-12740

INSULATOR

SN: 10166-19999

1шт.

15

423-54-12750

INSULATOR

SN: 10166-19999

1шт.

16

423-54-12810

INSULATOR

SN: 10166-19999

1шт.

17

423-54-12820

INSULATOR

SN: 10166-19999

1шт.

18

423-54-12780

INSULATOR

SN: 10166-19999

1шт.

19

423-54-12790

INSULATOR

SN: 10166-19999

1шт.

20

423-54-12690

INSULATOR

SN: 10166-19999

1шт.

21

01010-51225

BOLT

SN: 10001-19999

7шт.

22

01643-31232

WASHER

SN: 10001-19999

7шт.

23

425-54-12910

COVER

SN: 10001-19999

1шт.

24

01010-50612

BOLT

SN: 10001-19999

4шт.

25

01643-30623

WASHER

SN: 10001-19999

4шт.

26

425-54-12720

PLATE

SN: 10001-19999

1шт.

27

01220-40816

SCREW

SN: 10001-19999

5шт.

28

01643-30823

WASHER

SN: 10001-19999

5шт.

29

425-54-12691

PLATE

SN: 10001-19999

1шт.

30

01010-51225

BOLT

SN: 10001-19999

2шт.

31

425-54-12680

BRACKET

SN: 10001-19999

1шт.

32

01010-51225

BOLT

SN: 10001-19999

2шт.

33

425-54-12842

BOX

SN: 10511-19999

1шт.

33

0

BOX

SN: 10001-10510

1шт.

34

01010-50616

BOLT

SN: 10001-19999

4шт.

35

01643-30623

WASHER

SN: 10001-19999

4шт.

36

09452-06506

CATCHER

SN: 10001-@

1шт.

37

01224-40412

SCREW

SN: 10001-@

2шт.

38

01580-10403

NUT

SN: 10001-@

2шт.

39

01601-20410

WASHER,SPRING

SN: 10001-@

2шт.

40

01641-20405

WASHER

SN: 10001-@

2шт.

41

425-54-12671

COVER

SN: 10277-@

1шт.

41

0

COVER

SN: 10001-10276

1шт.

|$$45

(425-54-12671,01220-70616(4),

-1шт.

|$$46

01642-40608(4))

-1шт.

42

01220-70616

SCREW

SN: 10735-@

4шт.

42

0

SCREW

SN: 10277-10734

4шт.

42

0

SCREW

SN: 10001-10276

4шт.

42

0

SCREW

SN: (10001-10071)

4шт.

43

01642-40608

WASHER

SN: 10735-@

4шт.

43

0

WASHER

SN: 10277-10734

4шт.

44

425-54-12520

PLATE

SN: 10001-@

1шт.

45

01010-51020

BOLT

SN: 10001-19999

2шт.

46

01643-31032

WASHER

SN: 10001-19999

2шт.

47

425-54-12510

BRACKET

SN: 10001-@

1шт.

48

425-54-12530

SHAFT

SN: 10001-@

1шт.

49

04050-13018

PIN,COTTER

SN: 10001-@

2шт.

50

425-54-12590

STOPPER

SN: 10001-@

2шт.

51

01220-30420

SCREW

SN: 10001-@

2шт.

52

425-54-12570

COVER

SN: 10001-@

1шт.

53

01010-50825

BOLT

SN: 10001-19999

2шт.

54

01643-30823

WASHER

SN: 10001-19999

2шт.

55

425-54-12371

COVER

SN: 10001-19999

1шт.

56

01010-51225

BOLT

SN: 10001-19999

9шт.

57

01010-51290

BOLT

SN: 10001-19999

4шт.

58

01643-31232

WASHER

SN: 10001-19999

13шт.

59

09415-12820

CAP

SN: 10151-19999

1шт.

Выбрано товаров: 68