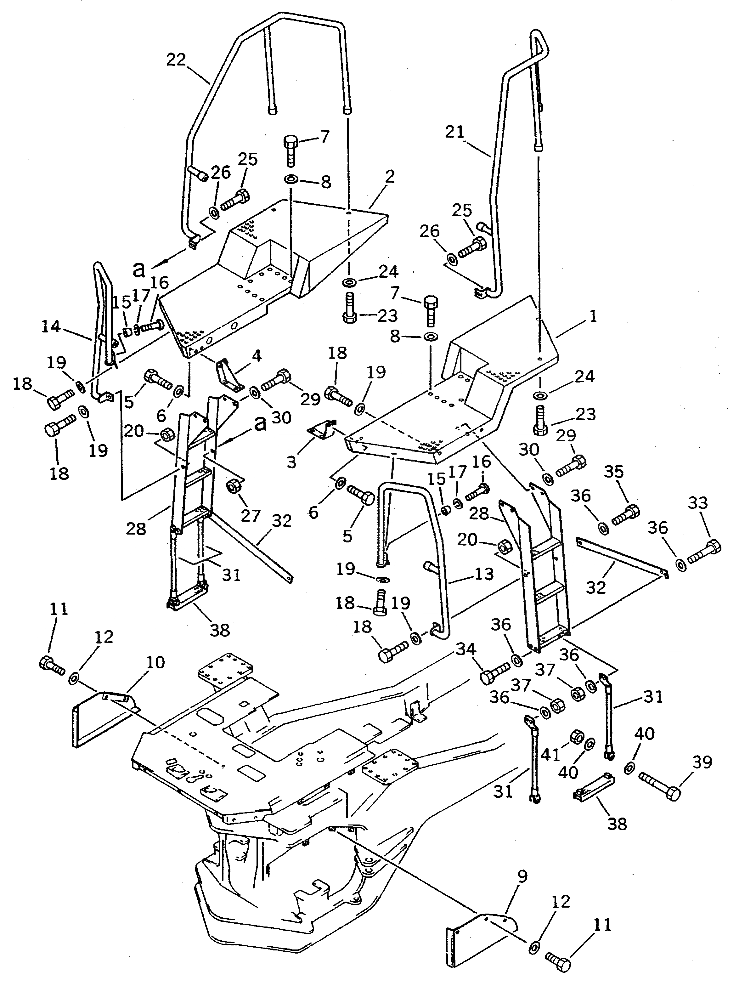
Запчасти Komatsu WA500-1ПОЛ И ЛЕСТНИЦА (С КАБИНОЙ)(№-9999) РАМА И ЧАСТИ КОРПУСА

Схема запчастей Komatsu WA500-1 -  ПОЛ И ЛЕСТНИЦА (С КАБИНОЙ)(№-9999) РАМА И ЧАСТИ КОРПУСА
FIT
1:1
100%

Артикул

Название

Примечание

Количество

1

425-54-14171

FLOOR,L.H.

SN: 10001-19999

1шт.

2

425-54-14181

FLOOR,R.H.

SN: 10001-19999

1шт.

3

425-54-14130

BRACKET,L.H.

SN: 10001-19999

1шт.

4

425-54-14140

BRACKET,R.H.

SN: 10001-19999

1шт.

5

01010-51230

BOLT

SN: 10001-19999

4шт.

6

01643-31232

WASHER

SN: 10001-19999

4шт.

7

01010-52450

BOLT

SN: 10001-@

8шт.

8

01643-32460

WASHER

SN: 10001-@

8шт.

9

425-54-12460

COVER,L.H.

SN: 10001-19999

1шт.

10

425-54-12470

COVER,R.H.

SN: 10001-19999

1шт.

11

01435-01220

BOLT

SN: 10658-19999

6шт.

11

0

BOLT

SN: 10001-10657

6шт.

12

01643-31232

WASHER

SN: 10001-10657

6шт.

13

425-54-12231

HANDLE,L.H.

SN: 10001-19999

1шт.

14

425-54-12261

HANDLE,R.H.

SN: 10001-19999

1шт.

15

418-60-15150

STOPPER

SN: 10001-19999

2шт.

16

01220-40630

SCREW

SN: 10001-19999

2шт.

17

01602-20619

WASHER,SPRING

SN: 10001-19999

2шт.

18

01010-51635

BOLT

SN: 10001-19999

6шт.

19

01643-31645

WASHER

SN: 10001-19999

6шт.

20

01580-11613

NUT

SN: 10001-19999

2шт.

21

425-54-12271

HANDLE,L.H.

SN: 10001-19999

1шт.

22

425-54-12241

HANDLE,R.H.

SN: 10001-19999

1шт.

23

01010-51635

BOLT

SN: 10001-@

6шт.

24

01643-31645

WASHER

SN: 10001-@

6шт.

25

01010-51635

BOLT

SN: 10001-19999

2шт.

26

01643-31645

WASHER

SN: 10001-19999

2шт.

27

01580-11613

NUT

SN: 10001-19999

2шт.

28

425-54-14150

LADDER

SN: 10001-19999

2шт.

29

01010-51635

BOLT

SN: 10001-19999

8шт.

30

01643-31645

WASHER

SN: 10001-19999

8шт.

31

423-54-14260

ROPE,STEP

SN: 10338-@

4шт.

31

0

ROPE,STEP

SN: 10001-10337

4шт.

32

425-54-14160

STAY

SN: 10001-19999

2шт.

33

01010-51245

BOLT

SN: 10001-19999

4шт.

34

01010-51235

BOLT

SN: 10001-19999

4шт.

35

01010-51230

BOLT

SN: 10001-19999

2шт.

36

01643-31232

WASHER

SN: 10001-19999

18шт.

37

01580-11210

NUT

SN: 10001-19999

4шт.

38

423-54-12770

STEP

SN: 10001-@

2шт.

39

01010-51265

BOLT

SN: 10001-19999

4шт.

40

01643-31232

WASHER

SN: 10001-19999

8шт.

41

426-43-19150

NUT

SN: 10001-@

4шт.

Выбрано товаров: 43