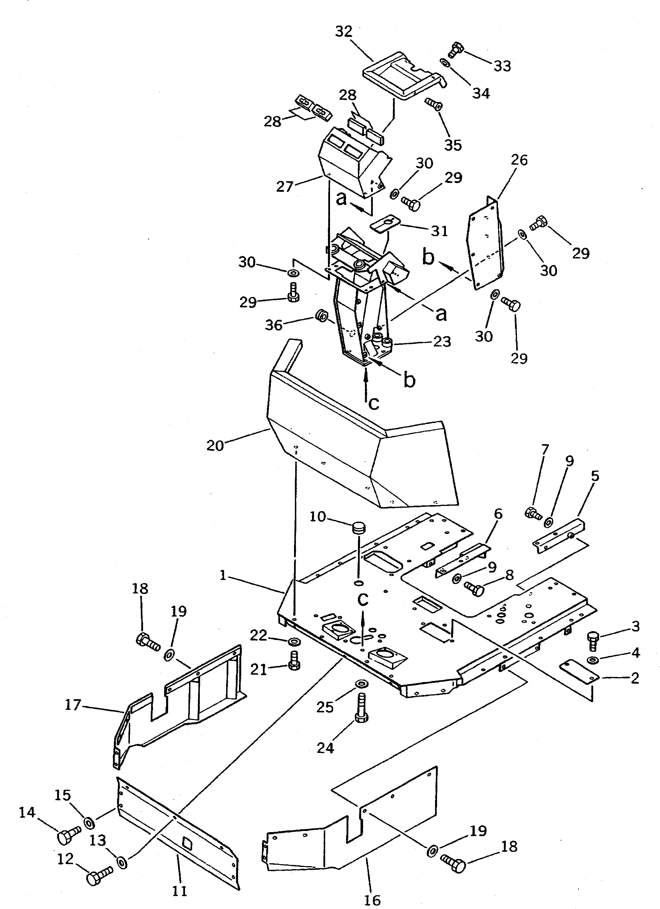
Запчасти Komatsu WA500-1 ОСНОВН. КОНСТРУКЦИЯ И ПРИБОРНАЯ ПАНЕЛЬ (БЕЗ КАБИНЫ)(№-9999) РАМА И ЧАСТИ КОРПУСА

Схема запчастей Komatsu WA500-1 - ОСНОВН. КОНСТРУКЦИЯ И ПРИБОРНАЯ ПАНЕЛЬ (БЕЗ КАБИНЫ)(№-9999) РАМА И ЧАСТИ КОРПУСА
FIT
1:1
100%

Артикул

Название

Примечание

Количество

1

425-54-12113

FRAME,FLOOR

SN: 10043-19999

1шт.

1

425-54-12112

FRAME,FLOOR

SN: 10037-10042

1шт.

1

425-54-12113

FRAME,FLOOR

SN: 10001-10036

1шт.

2

421-54-12490

PLATE

SN: 10001-19999

1шт.

3

01010-50620

BOLT

SN: 10001-19999

2шт.

4

01643-30623

WASHER

SN: 10001-19999

2шт.

5

425-54-12160

PLATE,L.H.

SN: 10001-19999

1шт.

6

425-54-12170

PLATE,R.H.

SN: 10001-19999

1шт.

7

01010-51225

BOLT

SN: 10001-19999

2шт.

8

01010-51250

BOLT

SN: 10001-19999

2шт.

9

01643-31232

WASHER

SN: 10001-19999

4шт.

10

09415-03614

CAP

SN: 10001-@

1шт.

11

425-54-12412

COVER

SN: 10001-19999

1шт.

12

01010-51225

BOLT

SN: 10001-19999

3шт.

13

01643-31232

WASHER

SN: 10001-19999

3шт.

14

01010-50816

BOLT

SN: 10001-19999

4шт.

15

01643-30823

WASHER

SN: 10001-19999

4шт.

16

425-54-12422

COVER,L.H.

SN: 10001-19999

1шт.

17

425-54-12452

COVER,R.H.

SN: 10001-19999

1шт.

18

01010-51225

BOLT

SN: 10001-19999

10шт.

19

01643-31232

WASHER

SN: 10001-19999

10шт.

20

41B-54-16111

GUARD

SN: 10001-19999

1шт.

21

01010-51225

BOLT

SN: 10001-19999

6шт.

22

01643-31232

WASHER

SN: 10001-19999

6шт.

23

421-54-12215

SUPPORT

SN: 10001-19999

1шт.

24

01010-51270

BOLT

SN: 10001-19999

4шт.

25

01643-31232

WASHER

SN: 10001-19999

4шт.

26

421-54-12874

COVER

SN: 10001-19999

1шт.

27

421-54-12813

COVER

SN: 10001-@

1шт.

27

419-U56-1190

COVER,(FOR INSTRUMENT PANEL COVER)

SN: 10001-@

1шт.

28

424-09-12610

COVER

SN: 10001-@

4шт.

29

01010-50816

BOLT

SN: 10001-19999

12шт.

30

01643-30823

WASHER

SN: 10001-19999

12шт.

31

421-54-12273

INSULATOR

SN: 10001-@

1шт.

32

425-54-12871

COVER

SN: 10244-@

1шт.

32

0

COVER

SN: 10001-10243

1шт.

33

01220-40816

SCREW

SN: 10244-19999

2шт.

33

0

BOLT

SN: 10001-10243

2шт.

34

01643-30823

WASHER

SN: 10001-19999

2шт.

35

01224-70620

SCREW

SN: 10735-@

2шт.

35

0

SCREW

SN: 10072-10734

2шт.

35

0

SCREW

SN: 10001-10071

2шт.

36

09415-02512

CAP

SN: 10001-@

1шт.

Выбрано товаров: 43