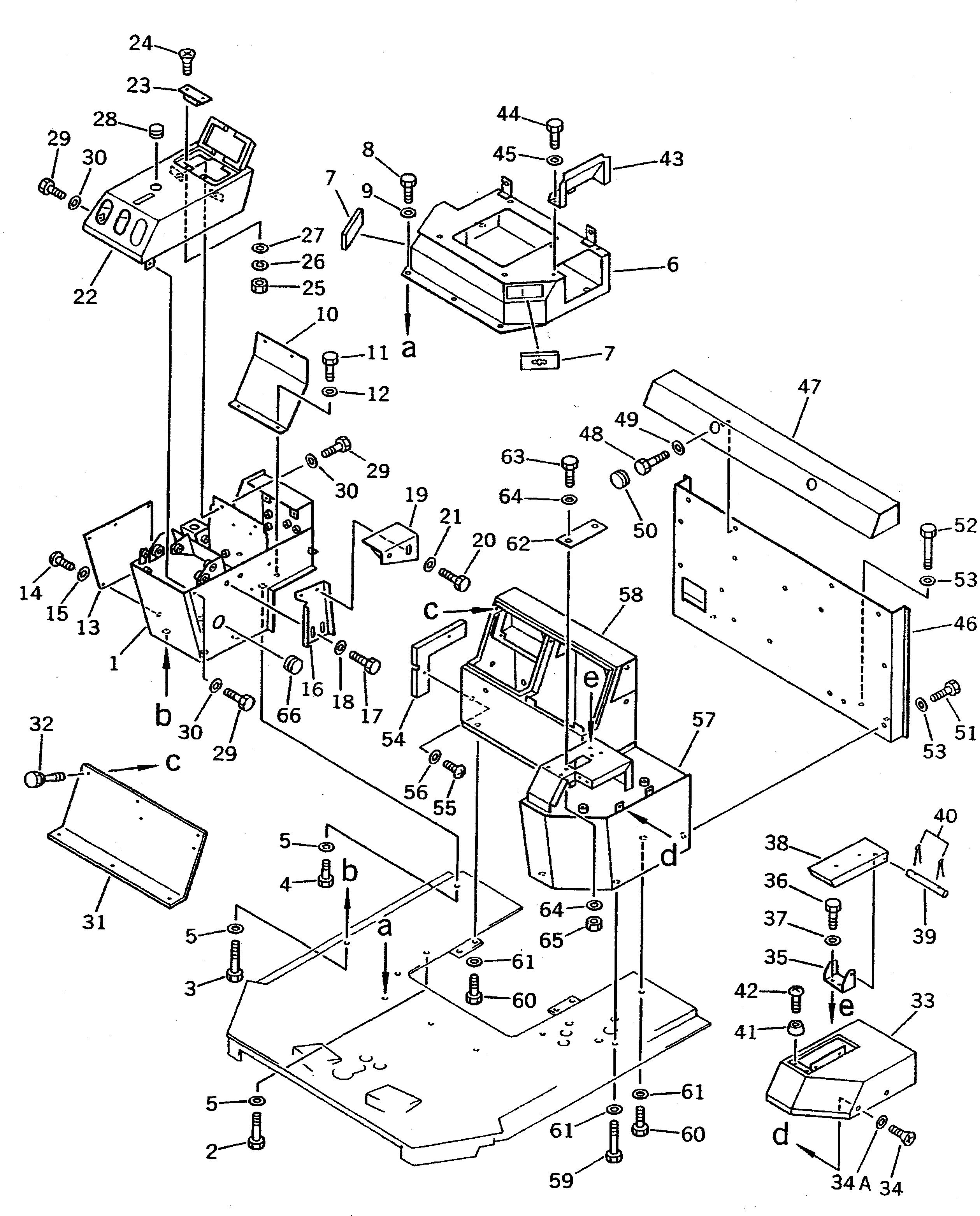
Запчасти Komatsu WA500-1 КОНСОЛЬН. БЛОК (БЕЗ КАБИНЫ)(№-9999) РАМА И ЧАСТИ КОРПУСА

Схема запчастей Komatsu WA500-1 - КОНСОЛЬН. БЛОК (БЕЗ КАБИНЫ)(№-9999) РАМА И ЧАСТИ КОРПУСА
FIT
1:1
100%

Артикул

Название

Примечание

Количество

1

421-877-1360

BRACKET

SN: 10145-19999

1шт.

1

0

BRACKET

SN: 10001-10144

1шт.

2

01010-51270

BOLT

SN: 10001-19999

2шт.

3

01010-51280

BOLT

SN: 10001-19999

2шт.

4

01010-51225

BOLT

SN: 10001-19999

1шт.

5

01643-31232

WASHER

SN: 10001-19999

5шт.

6

425-54-12154

BRACKET

SN: 10001-19999

1шт.

7

424-09-12610

COVER

SN: 10001-19999

2шт.

8

01010-51225

BOLT

SN: 10001-19999

7шт.

9

01643-31232

WASHER

SN: 10001-19999

7шт.

10

425-54-12910

COVER

SN: 10001-19999

1шт.

11

01010-50612

BOLT

SN: 10001-19999

4шт.

12

01643-30623

WASHER

SN: 10001-19999

4шт.

13

425-54-12720

PLATE

SN: 10001-19999

1шт.

14

01220-40816

SCREW

SN: 10001-19999

5шт.

15

01643-30823

WASHER

SN: 10001-19999

5шт.

16

425-54-12691

PLATE

SN: 10001-19999

1шт.

17

01010-51225

BOLT

SN: 10001-19999

2шт.

18

01643-31232

WASHER

SN: 10001-19999

2шт.

19

425-54-12680

BRACKET

SN: 10001-19999

1шт.

20

01010-51225

BOLT

SN: 10001-19999

2шт.

21

01643-31232

WASHER

SN: 10001-19999

2шт.

22

425-54-12842

BOX

SN: 10511-19999

1шт.

22

0

BOX

SN: 10001-10510

1шт.

23

09452-06506

CATCHER

SN: 10001-@

1шт.

24

01224-40412

SCREW

SN: 10001-@

2шт.

25

01580-10403

NUT

SN: 10001-@

2шт.

26

01601-20410

WASHER,SPRING

SN: 10001-@

2шт.

27

01641-20405

WASHER

SN: 10001-@

2шт.

28

09415-01610

CAP

SN: 10001-19999

1шт.

29

01010-50616

BOLT

SN: 10001-19999

4шт.

30

01643-30623

WASHER

SN: 10001-19999

4шт.

31

425-54-12980

COVER

SN: 10001-19999

1шт.

32

425-54-12960

SCREW

SN: 10001-19999

6шт.

33

425-54-12671

COVER

SN: 10306-19999

1шт.

33

0

COVER

SN: 10001-10305

1шт.

|$$37

(425-54-12671,423-54-12830(4),

-1шт.

|$$38

423-54-12840(4))

-1шт.

34

01220-70616

SCREW

SN: 10735-19999

4шт.

34

0

SCREW

SN: 10277-10734

4шт.

34

0

SCREW

SN: 10001-10276

4шт.

34

0

SCREW

SN: (10001-10071)

4шт.

34A

01642-40608

WASHER

SN: 10891-19999

4шт.

34A

0

WASHER

SN: 10001-10890

4шт.

35

425-54-12520

PLATE

SN: 10001-@

1шт.

36

01010-51020

BOLT

SN: 10001-19999

2шт.

37

01643-31032

WASHER

SN: 10001-19999

2шт.

38

425-54-12510

BRACKET

SN: 10001-@

1шт.

39

425-54-12530

SHAFT

SN: 10001-@

1шт.

40

04050-13018

PIN,COTTER

SN: 10001-@

2шт.

41

425-54-12590

STOPPER

SN: 10001-@

2шт.

42

01220-30420

SCREW

SN: 10001-@

2шт.

43

425-54-12570

COVER

SN: 10001-@

1шт.

44

01010-50825

BOLT

SN: 10001-19999

2шт.

45

01643-30823

WASHER

SN: 10001-19999

2шт.

46

425-54-12990

COVER

SN: 10001-19999

1шт.

47

424-54-17190

COVER

SN: 10001-19999

1шт.

48

01010-51265

BOLT

SN: 10001-19999

2шт.

49

01643-31232

WASHER

SN: 10001-19999

2шт.

50

09415-03614

CAP

SN: 10001-19999

2шт.

51

01010-51225

BOLT

SN: 10001-19999

9шт.

52

01010-51290

BOLT

SN: 10001-19999

4шт.

53

01643-31232

WASHER

SN: 10001-19999

13шт.

54

421-54-12560

PLATE

SN: 10001-19999

1шт.

55

01235-40812

SCREW

SN: 10001-19999

2шт.

56

01641-20812

WASHER

SN: 10001-19999

2шт.

57

424-54-12830

BOX

SN: 10001-@

1шт.

58

421-54-12631

BOX

SN: 10001-19999

1шт.

59

01010-51265

BOLT

SN: 10001-19999

2шт.

60

01010-51225

BOLT

SN: 10001-19999

6шт.

61

01643-31232

WASHER

SN: 10001-19999

8шт.

62

424-54-12820

PLATE

SN: 10001-@

1шт.

63

01010-51025

BOLT

SN: 10001-19999

2шт.

64

01643-31032

WASHER

SN: 10001-19999

4шт.

65

01580-11008

NUT

SN: 10001-@

2шт.

66

09415-05016

CAP

SN: 10145-19999

1шт.

Выбрано товаров: 76