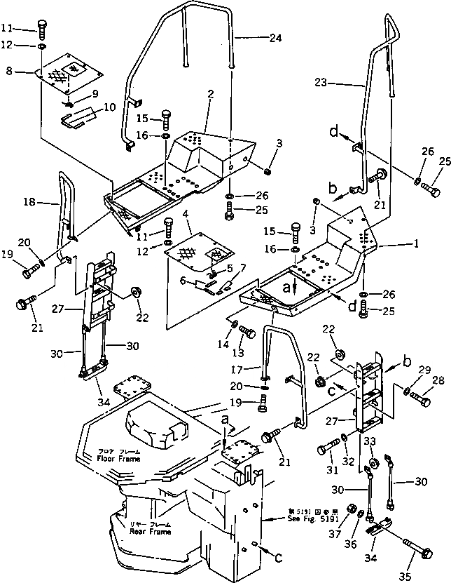
Запчасти Komatsu WA500-1ПОЛ И ЛЕСТНИЦА (БЕЗ КАБИНЫ)(№-) РАМА И ЧАСТИ КОРПУСА

Схема запчастей Komatsu WA500-1 -  ПОЛ И ЛЕСТНИЦА (БЕЗ КАБИНЫ)(№-) РАМА И ЧАСТИ КОРПУСА
FIT
1:1
100%

Артикул

Название

Примечание

Количество

1

425-54-14173

FLOOR,L.H.

SN: 20001-UP

1шт.

2

425-54-14183

FLOOR,R.H.

SN: 20001-UP

1шт.

3

09415-03614

CAP

SN: 20001-UP

4шт.

4

425-54-14480

COVER,L.H.

SN: 20001-UP

1шт.

5

09467-00006

SPRING

SN: 20001-UP

1шт.

6

425-54-14460

CUSHION

SN: 20001-UP

2шт.

7

425-54-14470

CUSHION

SN: 20001-UP

2шт.

8

425-54-14490

COVER,R.H.

SN: 20001-UP

1шт.

9

09467-00006

SPRING

SN: 20001-UP

1шт.

10

425-54-14460

CUSHION

SN: 20001-UP

3шт.

11

01010-81225

BOLT

SN: 20001-UP

12шт.

12

01643-31232

WASHER

SN: 20001-UP

12шт.

13

01010-81230

BOLT

SN: 20001-UP

4шт.

14

01643-31232

WASHER

SN: 20001-UP

4шт.

15

01010-82455

BOLT

SN: 20040-UP

8шт.

15

01010-52450

BOLT

SN: 10001-20039

8шт.

16

01643-32460

WASHER

SN: 10001-UP

8шт.

17

425-54-12232

HANDLE,L.H.

SN: 20001-UP

1шт.

18

425-54-12262

HANDLE,R.H.

SN: 20001-UP

1шт.

19

01010-81635

BOLT

SN: 20001-UP

4шт.

20

01643-31645

WASHER

SN: 20001-UP

4шт.

21

01435-01235

BOLT

SN: 20001-UP

4шт.

22

01584-01210

NUT

SN: 20001-UP

4шт.

23

425-54-12272

HANDLE,L.H.

SN: 20001-UP

1шт.

24

425-54-12242

HANDLE,R.H.

SN: 20001-UP

1шт.

25

01010-81635

BOLT

SN: 10001-UP

6шт.

26

01643-31645

WASHER

SN: 10001-UP

6шт.

27

425-54-14152

LADDER

SN: 20001-UP

2шт.

28

01010-81230

BOLT

SN: 20001-UP

8шт.

29

01643-31232

WASHER

SN: 20001-UP

8шт.

30

423-54-14260

ROPE,STEP

SN: 10338-UP

4шт.

31

01010-81235

BOLT

SN: 20001-UP

8шт.

32

01643-31232

WASHER

SN: 20001-UP

8шт.

33

01584-01210

NUT

SN: 20001-UP

8шт.

34

423-54-12770

STEP

SN: 10001-21010

2шт.

35

01435-01260

BOLT

SN: 20001-21010

4шт.

36

01643-31232

WASHER

SN: 20001-21010

4шт.

37

426-43-19150

NUT,LOCK

SN: 10001-21010

4шт.

38

421-54-24980

STEP

SN: 21011-UP

2шт.

Выбрано товаров: 39