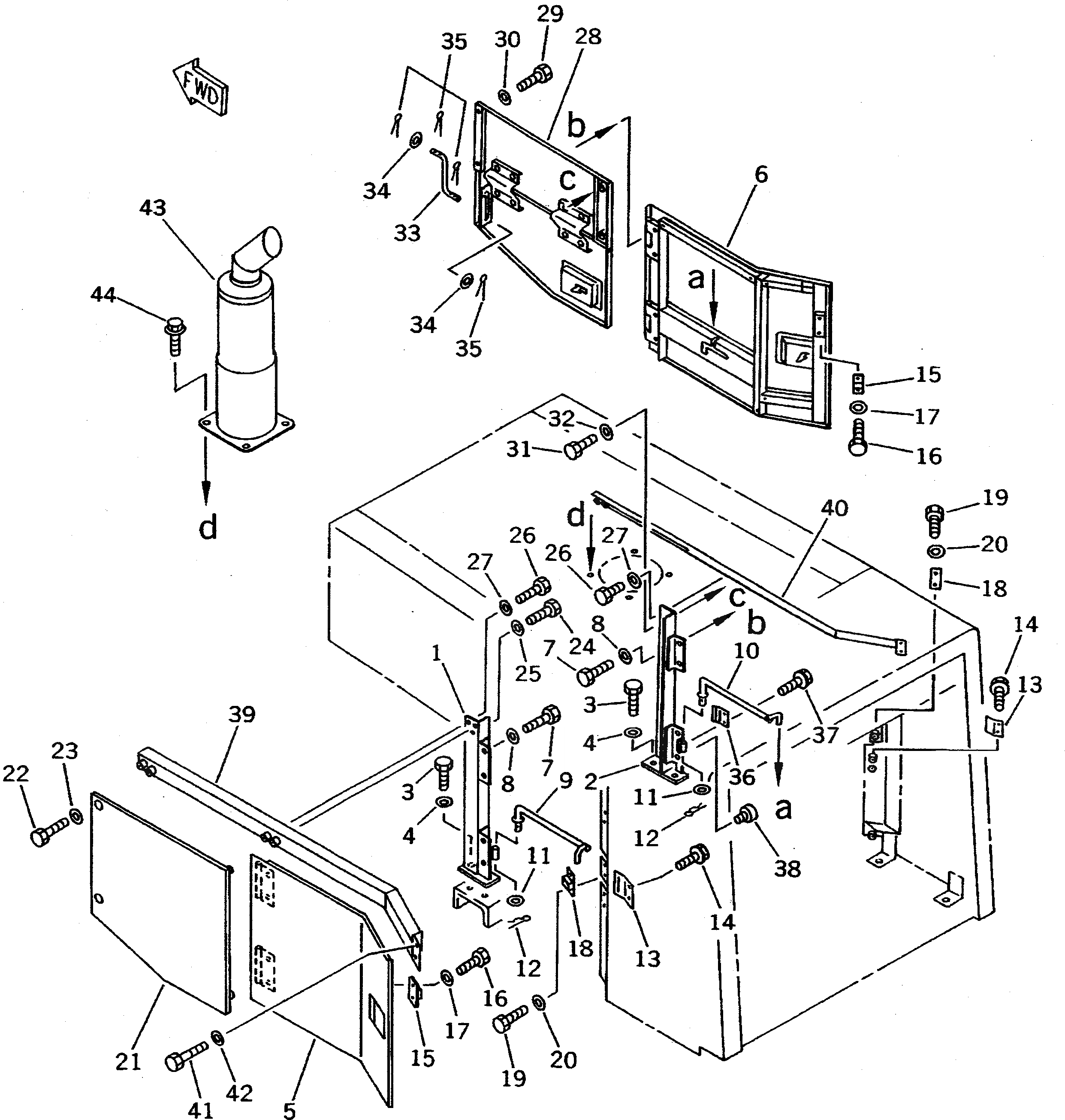
Запчасти Komatsu WA500-1 БОКОВ. КРЫШКА ДВИГ.(№-) РАМА И ЧАСТИ КОРПУСА

Схема запчастей Komatsu WA500-1 - БОКОВ. КРЫШКА ДВИГ.(№-) РАМА И ЧАСТИ КОРПУСА
FIT
1:1
100%

Артикул

Название

Примечание

Количество

1

425-54-13741

BRACKET,L.H.

SN: 20001-UP

1шт.

1

425-Z91-1151

BRACKET,L.H. (FOR ENGINE OIL HEATER)

SN: 20001-UP

1шт.

2

425-54-13750

BRACKET,R.H.

SN: 20001-UP

1шт.

3

01010-81240

BOLT

SN: 20001-UP

4шт.

4

01643-31232

WASHER

SN: 10001-UP

4шт.

5

425-54-11492

DOOR,L.H.

SN: 20001-UP

1шт.

5

426-54-11961

LOCK

SN: 20001-UP

1шт.

6

425-54-11513

DOOR

SN: 21039-UP

1шт.

6

0

DOOR,R.H.

SN: 20001-21038

1шт.

6

426-54-11961

LOCK

SN: 20001-UP

1шт.

7

01010-81230

BOLT

SN: 10001-UP

8шт.

8

01643-31232

WASHER

SN: 10001-UP

8шт.

9

426-54-11272

BAR,L.H.

SN: 20001-UP

1шт.

10

426-54-11322

BAR,R.H.

SN: 20001-UP

1шт.

11

01643-31445

WASHER

SN: 20001-UP

2шт.

12

04052-11453

PIN,SNAP

SN: 20001-UP

2шт.

13

425-54-13570

PLATE

SN: 20001-UP

2шт.

14

01435-01220

BOLT

SN: 20001-UP

4шт.

15

566-54-23470

DOVE TAIL

SN: 20001-UP

2шт.

16

01010-80612

BOLT

SN: 20001-UP

4шт.

17

01643-30623

WASHER

SN: 20001-UP

4шт.

18

566-54-23460

DOVE TAIL

SN: 20001-UP

2шт.

19

01010-80616

BOLT

SN: 20001-UP

4шт.

20

01643-30623

WASHER

SN: 20001-UP

4шт.

21

425-54-13590

COVER,L.H.

SN: 20001-UP

1шт.

21

425-Z91-1310

COVER,L.H. (FOR ENGINE OIL HEATER)

SN: 20001-UP

1шт.

22

01010-81225

BOLT

SN: 20001-UP

2шт.

23

01643-31232

WASHER

SN: 20001-UP

2шт.

24

01010-81230

BOLT

SN: 20001-UP

2шт.

25

01643-31232

WASHER

SN: 20001-UP

2шт.

26

01010-81225

BOLT

SN: 20001-UP

4шт.

27

01643-31232

WASHER

SN: 20001-UP

4шт.

28

425-54-13612

COVER,R.H.

SN: 20001-UP

1шт.

28

421-54-11363

LOCK ASS'Y

SN: 20001-UP

1шт.

29

01010-81225

BOLT

SN: 20001-UP

2шт.

30

01643-31232

WASHER

SN: 20001-UP

2шт.

31

01010-81230

BOLT

SN: 20001-UP

2шт.

32

01643-31232

WASHER

SN: 20001-UP

2шт.

33

425-54-11850

BAR

SN: 20001-UP

1шт.

34

01643-31032

WASHER

SN: 20001-UP

2шт.

35

04050-13020

PIN,COTTER

SN: 20001-UP

4шт.

36

425-54-13570

PLATE

SN: 20001-UP

1шт.

37

01435-01230

BOLT

SN: 20001-UP

2шт.

38

415-54-11980

CUSHION

SN: 20001-UP

4шт.

39

425-54-13711

BAR,L.H.

SN: 20001-UP

1шт.

40

425-54-13721

BAR,R.H.

SN: 20001-UP

1шт.

41

01010-81225

BOLT

SN: 20001-UP

8шт.

42

01643-31232

WASHER

SN: 20001-UP

8шт.

43

425-02-11111

PIPE,EXHAUST

SN: 20001-UP

1шт.

44

01435-01230

BOLT

SN: 20001-UP

4шт.

Выбрано товаров: 50