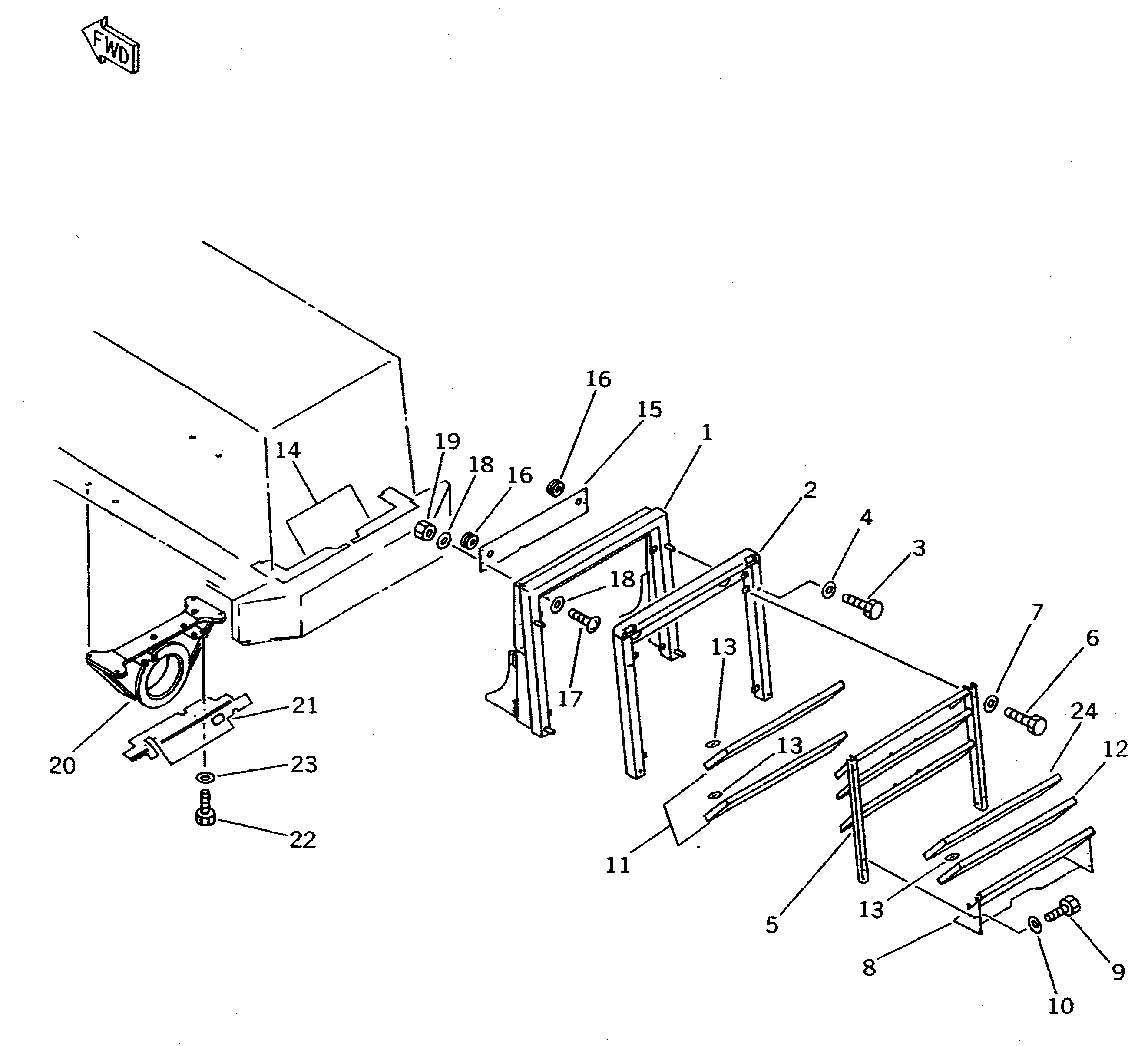
Запчасти Komatsu WA500-1 NOISE ABATEMENT ЧАСТИ (/)(№-9999) РАМА И ЧАСТИ КОРПУСА

Схема запчастей Komatsu WA500-1 - NOISE ABATEMENT ЧАСТИ (/)(№-9999) РАМА И ЧАСТИ КОРПУСА
FIT
1:1
100%

Артикул

Название

Примечание

Количество

1

425-Z90-1111

GUARD,(MODIFIED PARTS)

SN: 10735-19999

1шт.

1

425-Z90-1110

GUARD,(MODIFIED PARTS)

SN: 10001-10734

1шт.

2

425-Z90-1130

GUARD

SN: 10001-19999

1шт.

3

01010-51225

BOLT

SN: 10001-19999

4шт.

4

01643-31232

WASHER

SN: 10001-19999

4шт.

5

425-Z90-1140

GRILL

SN: 10001-19999

1шт.

6

01010-51225

BOLT

SN: 10001-19999

4шт.

7

01643-31232

WASHER

SN: 10001-19999

4шт.

8

425-Z90-1190

PLATE

SN: 10001-19999

1шт.

9

01010-51225

BOLT

SN: 10001-19999

4шт.

10

01643-31232

WASHER

SN: 10001-19999

4шт.

11

425-Z90-1160

SHEET

SN: 10001-19999

2шт.

12

425-Z90-1170

SHEET

SN: 10001-19999

1шт.

13

04431-30000

PLATE

SN: 10001-19999

18шт.

14

425-Z95-1380

SHEET

SN: 10001-19999

1шт.

15

425-Z90-1180

PLATE

SN: 10001-19999

1шт.

16

581-35-15430

GROMMET

SN: 10001-19999

2шт.

17

01220-40512

SCREW

SN: 10001-19999

4шт.

18

01642-20508

WASHER

SN: 10001-19999

8шт.

19

01580-10504

NUT

SN: 10001-19999

4шт.

20

425-Z95-1161

SUPPORT,(MODIFIED PARTS)

SN: 10001-19999

1шт.

21

425-Z95-1390

COVER

SN: 10001-19999

1шт.

22

01010-51020

BOLT

SN: 10001-19999

4шт.

23

01643-31032

WASHER

SN: 10001-19999

4шт.

24

425-Z90-1150

SHEET

SN: 10001-19999

3шт.

Выбрано товаров: 25