Запчасти Komatsu WA500-1 OPARATORS КАБИНА (/) (ЭЛЕМЕНТЫ КРЕПЛЕНИЯ) (СПЕЦ-Я TBG)(№-9999) РАМА И ЧАСТИ КОРПУСА

Схема запчастей Komatsu WA500-1 - OPARATORS КАБИНА (/) (ЭЛЕМЕНТЫ КРЕПЛЕНИЯ) (СПЕЦ-Я TBG)(№-9999) РАМА И ЧАСТИ КОРПУСА
FIT
1:1
100%

Артикул

Название

Примечание

Количество

|$0

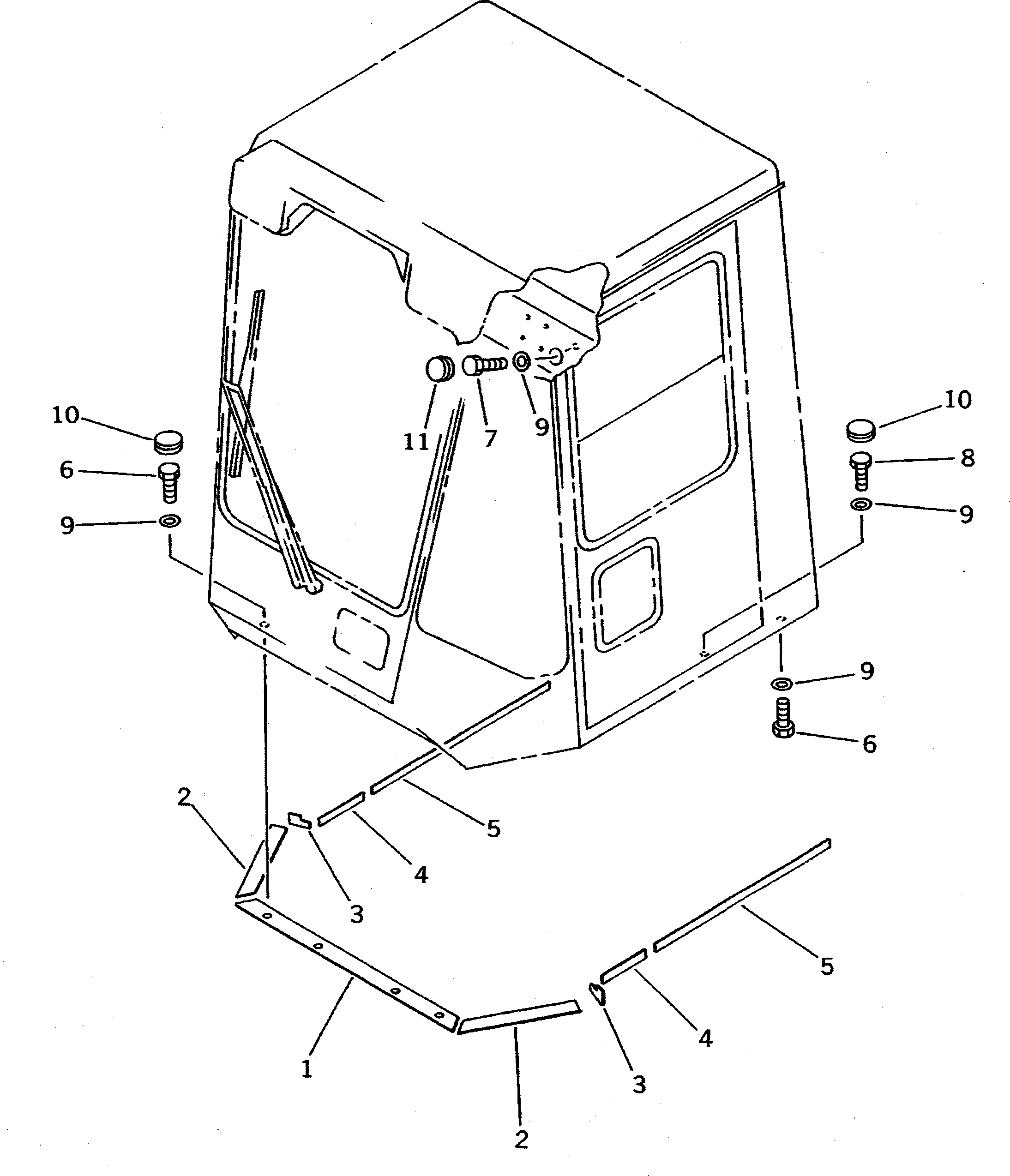
425-54-15040

OPERATOR'S CAB ASS'Y

SN: 10001-19999

1шт.

|$$2

THIS ASSEMBLY CONSISTS OF ALL PARTS SHOWN IN FIGS.5441 TO 5446.

-1шт.

1

425-54-15410

SHEET

SN: 10001-19999

1шт.

2

425-54-15391

SHEET

SN: 10001-19999

2шт.

3

425-54-15441

SHEET

SN: 10001-19999

2шт.

4

425-54-15451

SHEET

SN: 10001-19999

2шт.

5

425-54-15930

SHEET

SN: 10001-19999

2шт.

6

01010-51230

BOLT

SN: 10001-19999

8шт.

7

01010-51270

BOLT

SN: 10001-19999

2шт.

8

01010-51225

BOLT

SN: 10001-19999

4шт.

9

01643-31232

WASHER

SN: 10001-19999

14шт.

10

09415-02512

CAP

SN: 10001-19999

8шт.

11

09415-03614

CAP

SN: 10001-19999

2шт.

Выбрано товаров: 13