Запчасти Komatsu WA500-1 ОТОПИТЕЛЬ (/) (DENSO) РАМА И ЧАСТИ КОРПУСА

Схема запчастей Komatsu WA500-1 - ОТОПИТЕЛЬ (/) (DENSO) РАМА И ЧАСТИ КОРПУСА
FIT
1:1
100%

Артикул

Название

Примечание

Количество

|$0

418-T42-1111

HEATER ASS'Y

SN: 20001-UP

1шт.

|$1

418-T42-1110

HEATER UNIT

SN: 10001-19999

1шт.

|$$3

THESE ASSEMBLIES CONSIST OF ALL PARTS SHOWN IN FIGS.5595 AND 5596.

-1шт.

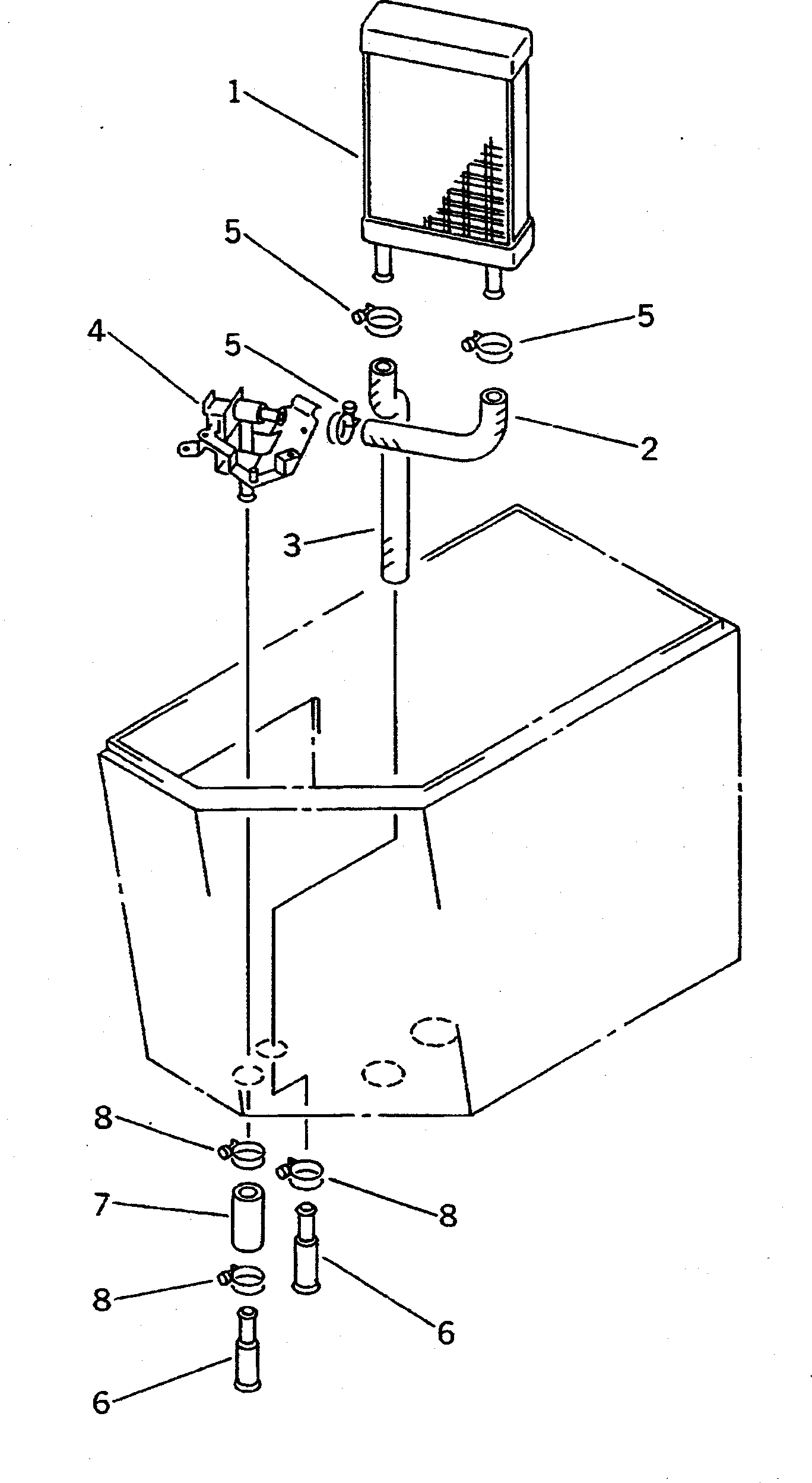
1

425-963-1660

HEATER COIL ASS'Y

SN: 10001-UP

1шт.

2

425-963-1730

HOSE,WATER

SN: 10001-UP

1шт.

3

425-963-1740

HOSE,WATER

SN: 10001-UP

1шт.

4

425-963-1840

VALVE,WATER

SN: 10001-UP

1шт.

5

425-963-1950

CLAMP

SN: 10001-UP

3шт.

6

425-963-2290

PIPE

SN: 10001-UP

2шт.

7

425-963-2310

HOSE

SN: 10001-UP

1шт.

8

425-963-2320

CLAMP

SN: 10001-UP

3шт.

Выбрано товаров: 11