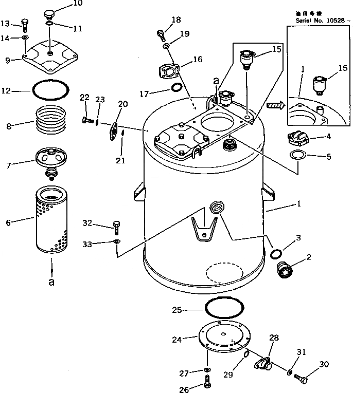
Запчасти Komatsu WA500-1 ГИДР. БАК. (СПЕЦ-Я TBG)(№-9999) УПРАВЛ-Е РАБОЧИМ ОБОРУДОВАНИЕМ

Схема запчастей Komatsu WA500-1 - ГИДР. БАК. (СПЕЦ-Я TBG)(№-9999) УПРАВЛ-Е РАБОЧИМ ОБОРУДОВАНИЕМ
FIT
1:1
100%

Артикул

Название

Примечание

Количество

1

425-60-15113

TANK

SN: 10528-19999

1шт.

1

0

TANK

SN: 10001-10527

1шт.

|$$3

(425-60-15113,425-62-13483)

-1шт.

2

421-60-11622

GAUGE,SIGHT

SN: 10535-19999

1шт.

2

0

GAUGE,SIGHT

SN: 10264-10534

1шт.

2

0

GAUGE,SIGHT

SN: 10001-10263

1шт.

3

07002-05234

O-RING

SN: 10001-19999

1шт.

4

07051-01000

CAP

SN: 10001-19999

1шт.

5

07051-00003

GASKET

SN: 10001-19999

1шт.

6

07063-01142

ELEMENT

SN: 10001-19999

2шт.

7

195-60-16300

VALVE ASS'Y

SN: 10001-19999

2шт.

8

195-60-16330

SPRING

SN: 10001-19999

2шт.

9

195-60-16242

COVER

SN: 10001-19999

2шт.

10

424-60-15150

PLUG

SN: 10001-19999

2шт.

11

07000-02010

O-RING

SN: 10001-19999

2шт.

12

07000-05175

O-RING

SN: 10001-19999

2шт.

13

01010-51235

BOLT

SN: 10001-19999

8шт.

14

01643-31232

WASHER

SN: 10001-19999

8шт.

15

419-60-15231

BREATHER ASS'Y

SN: 10514-19999

1шт.

15

0

BREATHER ASS'Y

SN: (10514-11019)

1шт.

15

424-60-15211

BREATHER ASS'Y

SN: 10001-10513

2шт.

15

285-62-17320

ELEMENT

SN: 11020-19999

1шт.

15

419-60-15390

O-RING

SN: 11020-19999

1шт.

15

419-60-15380

O-RING

SN: 11020-19999

1шт.

15

419-60-15370

O-RING

SN: 11020-19999

2шт.

15

424-60-15220

RING,SNAP

SN: 11020-19999

1шт.

16

423-60-15140

PLATE

SN: 10001-19999

1шт.

16

0

PLATE

SN: (10001-10677)

1шт.

17

07000-03048

O-RING

SN: 10001-19999

1шт.

18

01010-51235

BOLT

SN: 10001-19999

4шт.

19

01643-31232

WASHER

SN: 10001-19999

4шт.

20

419-60-15220

PLATE

SN: 10001-19999

1шт.

20

0

PLATE

SN: (10001-10471)

1шт.

21

07000-03042

O-RING

SN: 10001-19999

1шт.

22

01010-51030

BOLT

SN: 10001-19999

4шт.

23

01643-31032

WASHER

SN: 10001-19999

4шт.

24

425-60-15212

COVER

SN: 10055-19999

1шт.

24

0

COVER

SN: 10001-10054

1шт.

25

07000-05200

O-RING

SN: 10001-19999

1шт.

26

01010-51025

BOLT

SN: 10001-19999

6шт.

27

01643-31032

WASHER

SN: 10001-19999

6шт.

28

6693-22-5600

VALVE ASS'Y

SN: 10001-19999

1шт.

29

07000-03028

O-RING

SN: 10001-19999

1шт.

30

01010-51030

BOLT

SN: 10001-19999

2шт.

31

01643-31032

WASHER

SN: 10001-19999

2шт.

32

01010-52045

BOLT

SN: 10001-19999

4шт.

33

01643-32060

WASHER

SN: 10001-19999

4шт.

Выбрано товаров: 47