Запчасти Komatsu WA500-1 КОМПОНЕНТЫ ДВИГАТЕЛЯ(№-9999) КОМПОНЕНТЫ ДВИГАТЕЛЯ И ЭЛЕКТРИКА

Схема запчастей Komatsu WA500-1 - КОМПОНЕНТЫ ДВИГАТЕЛЯ(№-9999) КОМПОНЕНТЫ ДВИГАТЕЛЯ И ЭЛЕКТРИКА
FIT
1:1
100%

Артикул

Название

Примечание

Количество

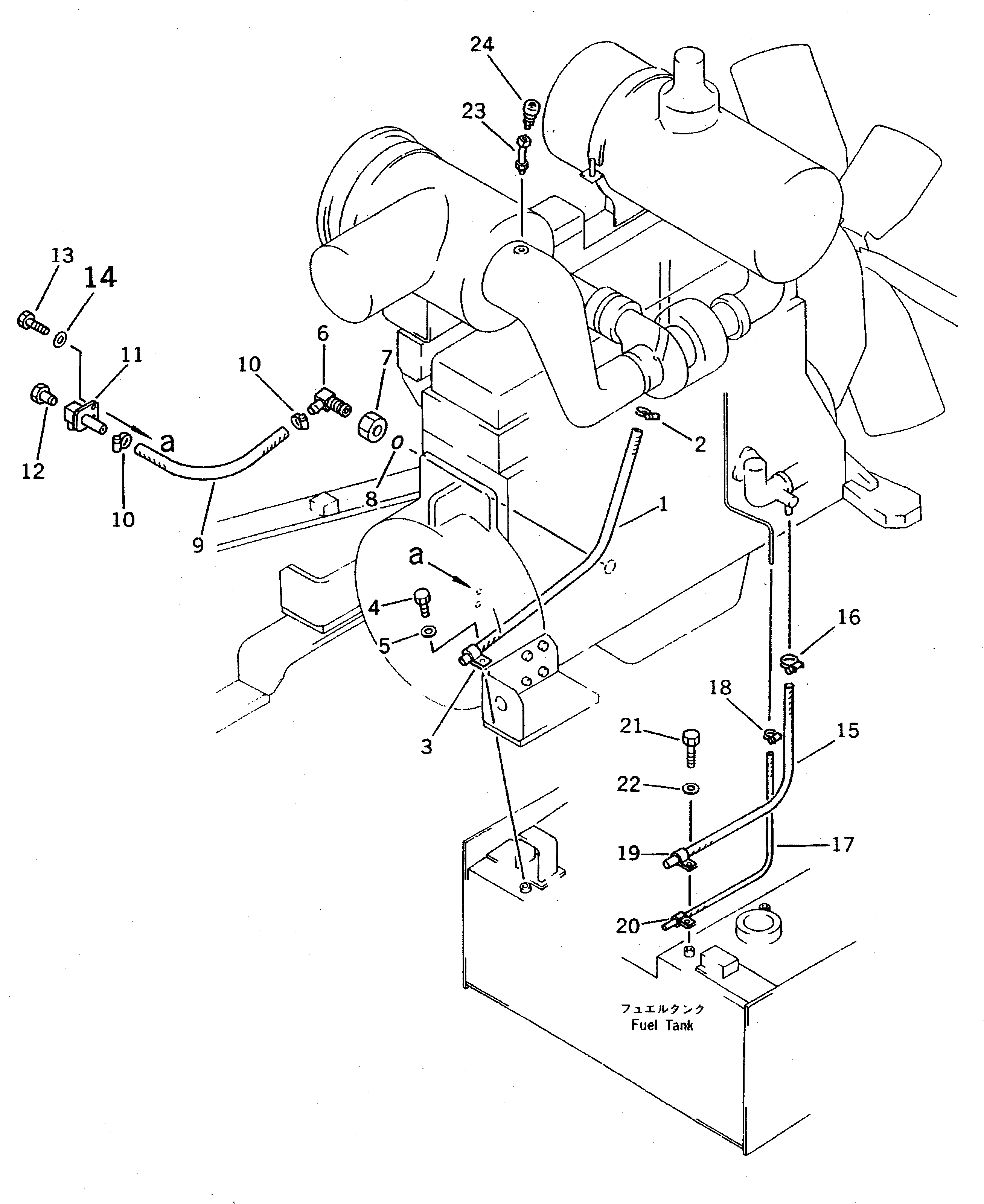
1

07261-22010

HOSE

SN: 10001-19999

1шт.

2

07280-03423

CLAMP

SN: 10001-@

1шт.

3

08036-03014

CLIP

SN: 10001-19999

1шт.

4

01010-51016

BOLT

SN: 10001-19999

1шт.

5

01643-31032

WASHER

SN: 10001-19999

1шт.

6

421-01-11180

ELBOW

SN: 10001-19999

1шт.

7

01583-13621

NUT

SN: 10001-19999

1шт.

8

07002-23634

O-RING

SN: 10001-19999

1шт.

9

07260-22056

HOSE

SN: 10001-19999

1шт.

10

07281-00359

CLAMP

SN: 10001-19999

2шт.

11

425-01-12121

TUBE

SN: 10001-19999

1шт.

12

424-01-11110

PLUG

SN: 10001-19999

1шт.

13

01010-51030

BOLT

SN: 10001-19999

2шт.

14

01643-31032

WASHER

SN: 10001-19999

2шт.

15

07260-21480

HOSE

SN: 10001-@

1шт.

16

07280-02523

CLAMP

SN: 10001-@

1шт.

17

07270-01070

TUBE

SN: 10001-@

1шт.

18

07280-01620

CLAMP

SN: 10001-@

1шт.

19

08036-02514

CLIP

SN: 10001-@

1шт.

20

08036-01414

CLIP

SN: 10001-@

1шт.

21

01010-51020

BOLT

SN: 10001-@

1шт.

22

01643-31032

WASHER

SN: 10001-@

1шт.

23

425-01-13111

TUBE

SN: 10001-19999

1шт.

24

08670-00635

INDICATOR,DUST

SN: 10001-19999

1шт.

Выбрано товаров: 24