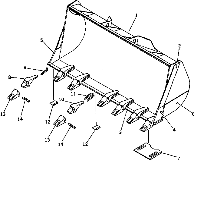
Запчасти Komatsu WA500-1 КОВШ¤ .M (ПРЯМ. КРОМКА) (С ЗУБЬЯМИ) РАБОЧЕЕ ОБОРУДОВАНИЕ

Схема запчастей Komatsu WA500-1 - КОВШ¤ .M (ПРЯМ. КРОМКА) (С ЗУБЬЯМИ) РАБОЧЕЕ ОБОРУДОВАНИЕ
FIT
1:1
100%

Артикул

Название

Примечание

Количество

|$0

425-807-1211

BUCKET ASS'Y

SN: .-UP

1шт.

|$1

0

BUCKET ASS'Y

SN: 10001-.

1шт.

1

425-70-12211

BUCKET

SN: .-UP

1шт.

1

0

BUCKET

SN: 10001-.

1шт.

2

425-70-12131

PLATE (WELDED)

SN: .-UP

2шт.

2

0

PLATE (WELDED)

SN: 10001-.

2шт.

3

425-70-12122

EDGE (WELDED)

SN: .-UP

1шт.

3

0

EDGE (WELDED)

SN: 10001-.

1шт.

4

425-70-12250

PLATE,L.H. (WELDED)

SN: .-UP

1шт.

4

0

PLATE,L.H. (WELDED)

SN: 10001-.

1шт.

5

425-70-12260

PLATE,R.H. (WELDED)

SN: .-UP

1шт.

5

0

PLATE,R.H. (WELDED)

SN: 10001-.

1шт.

6

425-70-12180

PLATE (WELDED)

SN: 10001-UP

2шт.

7

425-70-12141

PLATE (WELDED)

SN: 10001-UP

2шт.

8

426-848-1121

ADAPTER,L.H. (WELDED)

SN: .-UP

1шт.

8

425-847-1150

ADAPTER,L.H. (WELDED)

SN: 10001-.

1шт.

8

426-848-1131

ADAPTER,R.H. (WELDED)

SN: .-UP

1шт.

8

425-847-1160

ADAPTER,R.H. (WELDED)

SN: 10001-.

1шт.

9

425-847-1131

PLATE,L.H. (WELDED)

SN: .-UP

1шт.

9

425-847-1130

PLATE,L.H. (WELDED)

SN: 10001-.

1шт.

9

425-847-1141

PLATE,R.H. (WELDED)

SN: .-UP

1шт.

9

425-847-1140

PLATE,R.H. (WELDED)

SN: 10001-.

1шт.

10

426-847-1121

ADAPTER,CENTER (WELDED)

SN: .-UP

6шт.

10

426-847-1120

ADAPTER,CENTER (WELDED)

SN: 10001-.

6шт.

11

425-847-1121

PLATE (WELDED)

SN: .-UP

6шт.

11

425-847-1120

PLATE (WELDED)

SN: 10001-.

6шт.

12

425-847-1110

PLATE (WELDED)

SN: 10001-.

8шт.

13

426-847-1110

TOOTH

SN: 10001-UP

8шт.

14

426-847-1130

PIN

SN: 10001-UP

8шт.

Выбрано товаров: 29