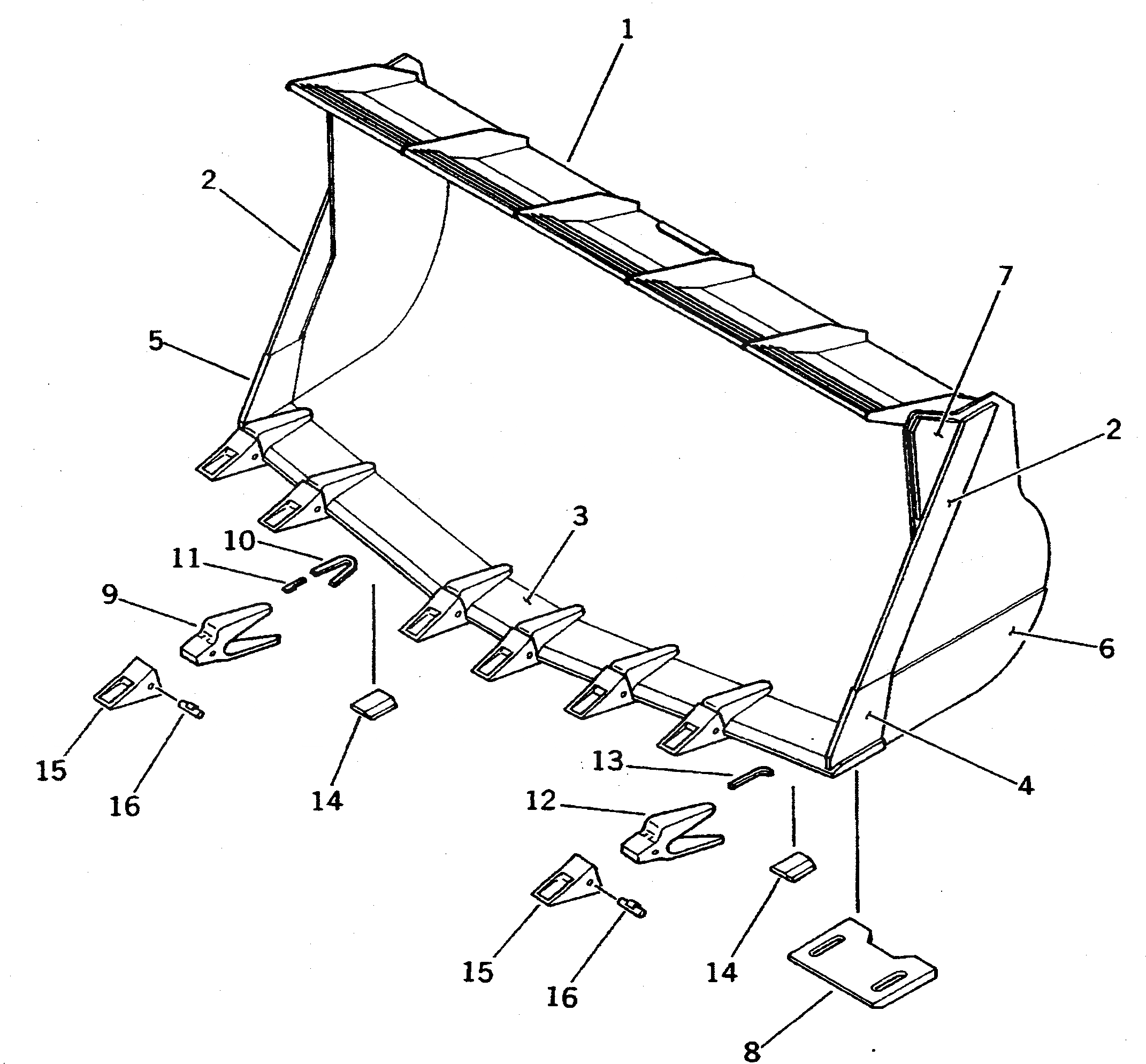
Запчасти Komatsu WA500-1 ROCK КОВШ¤ .M¤ V-ОБРАЗН КРОМКА (С ЗУБЬЯМИ)(№-9999) РАБОЧЕЕ ОБОРУДОВАНИЕ

Схема запчастей Komatsu WA500-1 - ROCK КОВШ¤ .M¤ V-ОБРАЗН КРОМКА (С ЗУБЬЯМИ)(№-9999) РАБОЧЕЕ ОБОРУДОВАНИЕ
FIT
1:1
100%

Артикул

Название

Примечание

Количество

|$0

425-819-1111

BUCKET ASS'Y

SN: 10001-19999

1шт.

1

425-809-1111

BUCKET

SN: 10001-19999

1шт.

2

425-809-1170

PLATE (WELDED)

SN: 10001-19999

2шт.

3

425-809-1121

EDGE (WELDED)

SN: 10001-@

1шт.

4

425-809-1151

PLATE,L.H. (WELDED)

SN: 10001-19999

1шт.

5

425-809-1161

PLATE,R.H. (WELDED)

SN: 10001-19999

1шт.

6

425-809-1180

PLATE (WELDED)

SN: 10001-19999

2шт.

7

425-809-1231

PLATE (WELDED)

SN: 10001-19999

2шт.

8

425-70-12141

PLATE (WELDED)

SN: 10001-@

2шт.

9

426-847-1121

ADAPTER (WELDED)

SN: .-@

6шт.

9

426-847-1120

ADAPTER (WELDED)

SN: 10001-.

6шт.

10

425-847-1170

PLATE

SN: 10001-@

6шт.

11

426-70-12481

PLATE

SN: 10001-@

4шт.

12

426-848-1121

ADAPTER,L.H. (WELDED)

SN: .-@

1шт.

12

426-848-1120

ADAPTER,L.H. (WELDED)

SN: 10001-.

1шт.

12

426-848-1131

ADAPTER,R.H. (WELDED)

SN: .-@

1шт.

12

426-848-1130

ADAPTER,R.H. (WELDED)

SN: 10001-.

1шт.

13

425-847-1180

PLATE

SN: 10001-@

2шт.

14

426-848-1110

PLATE (WELDED)

SN: 10001-19999

8шт.

15

426-847-1110

TOOTH

SN: 10001-@

8шт.

16

426-847-1130

PIN

SN: .-@

8шт.

16

0

PIN

SN: 10001-.

8шт.

Выбрано товаров: 22