Запчасти Komatsu WA500-1 МАРКИРОВКА (С КАБИНОЙ) (ФРАНЦИЯ) (ДЛЯ EC REGULATION)(№9-) МАРКИРОВКА¤ ИНСТРУМЕНТ И РЕМКОМПЛЕКТЫ

Схема запчастей Komatsu WA500-1 - МАРКИРОВКА (С КАБИНОЙ) (ФРАНЦИЯ) (ДЛЯ EC REGULATION)(№9-) МАРКИРОВКА¤ ИНСТРУМЕНТ И РЕМКОМПЛЕКТЫ
FIT
1:1
100%

Артикул

Название

Примечание

Количество

|$0

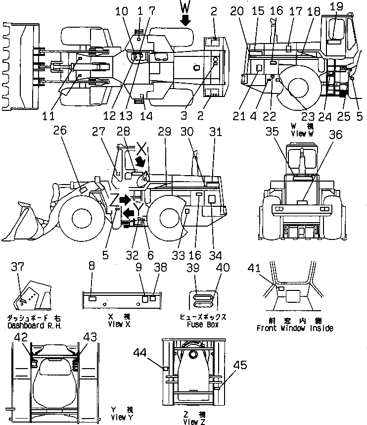
421-933-2110

PLATE

SN: 20915-UP

1шт.

1

0

PLATE, SAFETY,HYDRAULIC TANK

SN: 20915-UP

1шт.

2

0

PLATE, CAUTION,BATTERY

SN: 20915-UP

2шт.

3

0

PLATE, SAFETY,RADIATOR CAP

SN: 20915-UP

1шт.

4

0

PLATE, INSTRUCTION,FUEL

SN: 20915-UP

1шт.

5

0

PLATE, CAUTION,KEEP OUT

SN: 20915-UP

2шт.

6

0

PLATE, CAUTION,FRAME LOCK

SN: 20915-UP

1шт.

|$7

421-933-2120

PLATE

SN: 20915-UP

1шт.

7

0

PLATE, MARK

SN: 20915-UP

1шт.

8

0

PLATE, MARK

SN: 20915-UP

1шт.

9

0

PLATE, SAFETY,STARTING AND AFTER OPERATING

SN: 20915-UP

1шт.

10

09685-00003

PLATE, OPERATING,LOADER CONTROL LOCK

SN: 20915-UP

1шт.

11

09960-01001

PLATE, MARK,HANDLING

SN: 20915-UP

2шт.

12

421-S38-2110

PLATE, OPERATING,LOADER CONTROL LEVER

SN: 20915-UP

1шт.

13

421-93-11341

PLATE, OPERATING,RELAY

SN: 20915-UP

1шт.

14

09811-05000

PLATE, CAUTION,BRAKE OIL

SN: 20915-UP

1шт.

15

425-93-11490

PLATE, MARK,WA500

SN: 20915-UP

1шт.

16

09667-A0880

PLATE, SAFETY,FAN

SN: 20915-UP

2шт.

17

09637-30263

PLATE, INSTRUCTION,AIR CLEANER

SN: 20915-UP

1шт.

18

425-93-11380

STRIPE

SN: 20915-UP

1шт.

19

09690-C0224

PLATE, MARK,KOMATSU

SN: 20915-UP

1шт.

20

425-93-11450

STRIPE

SN: 20915-UP

1шт.

21

09806-C1680

PLATE, SAFETY,KEEP A SAFE DISTANCE

SN: 20915-UP

1шт.

22

425-93-11650

PLATE, OPERATING,REMOTE GREASE, REAR

SN: 20915-UP

1шт.

23

09960-01001

PLATE, MARK

SN: 20915-UP

1шт.

24

425-93-11640

CHART, OIL

SN: 20915-UP

1шт.

25

09602-00010

PLATE, NAME,(LIMITED SUPPLY)

SN: 20915-UP

1шт.

25

04418-13060

SCREW

SN: 20915-UP

4шт.

26

09807-C1680

PLATE, SAFETY,KEEP A SAFE DISTANCE

SN: 20915-UP

2шт.

27

425-93-11270

PLATE, OPERATING,MONITOR PANEL

SN: 20915-UP

1шт.

28

09690-C0224

PLATE, MARK,KOMATSU

SN: 20915-UP

1шт.

29

425-93-11380

STRIPE

SN: 20915-UP

1шт.

30

425-93-11450

STRIPE

SN: 20915-UP

1шт.

31

425-93-11490

PLATE, MARK,WA500

SN: 20915-UP

1шт.

32

09152-05000

PLATE, SAFETY,AIR RESERVOIR DRAIN

SN: 20915-UP

1шт.

33

09960-01001

PLATE, MARK

SN: 20915-UP

1шт.

34

09807-C1680

PLATE, SAFETY,KEEP A SAFE DISTANCE

SN: 20915-UP

1шт.

35

09690-C0560

PLATE, MARK,KOMATSU

SN: 20915-UP

1шт.

36

09823-00000

PLATE, NAME,DRAWBAR

SN: 20915-UP

1шт.

36

04418-13060

SCREW

SN: 20915-UP

2шт.

37

09683-0000B

PLATE, OPERATING,MAIN SWITCH

SN: 20915-UP

1шт.

38

419-933-1120

PLATE, CAUTION,STARTING AND INSPECTION

SN: 20915-UP

1шт.

39

424-93-11531

PLATE, OPERATING,BREAKER

SN: 20915-UP

1шт.

40

424-93-11521

PLATE, OPERATING,BREAKER

SN: 20915-UP

1шт.

41

419-933-1270

PLATE, CAUTION,TORQUE CONVERTOR OIL TEMP.

SN: 20915-UP

1шт.

42

425-93-11670

PLATE, OPERATING,REMOTE GREASE, FRONT, L.H.

SN: 20915-UP

1шт.

43

425-93-11660

PLATE, OPERATING,REMOTE GREASE, FRONT, R.H.

SN: 20915-UP

1шт.

44

427-933-1130

PLATE, CAUTION,TRANSMISSION

SN: 20915-UP

1шт.

45

09152-05000

PLATE, SAFETY,AIR RESERVOIR DRAIN

SN: 20915-UP

1шт.

Выбрано товаров: 49