Запчасти Komatsu WA500-1 ЭЛЕКТРИКА (ЛИНИЯ АККУМУЛЯТОРА) (СПЕЦ-Я TBG)(№-9999) КОМПОНЕНТЫ ДВИГАТЕЛЯ И ЭЛЕКТРИКА

Схема запчастей Komatsu WA500-1 - ЭЛЕКТРИКА (ЛИНИЯ АККУМУЛЯТОРА) (СПЕЦ-Я TBG)(№-9999) КОМПОНЕНТЫ ДВИГАТЕЛЯ И ЭЛЕКТРИКА
FIT
1:1
100%

Артикул

Название

Примечание

Количество

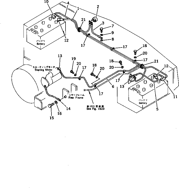
1

08028-15085

WIRE, 850MM

SN: 10001-19999

1шт.

2

419-06-11250

SWITCH

SN: 10001-19999

1шт.

3

08028-15075

WIRE, 750MM

SN: 10001-19999

1шт.

4

425-06-12541

WIRE

SN: 20915-@

1шт.

4

0

WIRE

SN: 10001-20914

1шт.

5

421-06-12731

WIRE

SN: 20915-@

1шт.

5

0

WIRE

SN: 10001-20914

1шт.

6

425-06-12530

WIRE

SN: 10001-@

1шт.

7

01010-51020

BOLT

SN: 10001-19999

1шт.

8

01605-11023

WASHER

SN: 10001-19999

1шт.

9

01643-31032

WASHER

SN: 10001-19999

1шт.

10

424-09-12540

BOOT

SN: 10001-19999

1шт.

11

424-09-12530

BOOT

SN: 10001-19999

1шт.

12

08038-22511

CAP

SN: 10001-19999

2шт.

13

08038-00035

CAP

SN: 10001-@

3шт.

14

425-06-12560

WIRE

SN: 10001-@

1шт.

15

01010-51630

BOLT

SN: 10001-19999

1шт.

16

01643-31645

WASHER

SN: 10001-19999

1шт.

17

08036-01814

CLIP

SN: 10001-19999

6шт.

18

01010-51020

BOLT

SN: 10001-19999

5шт.

19

01010-51016

BOLT

SN: 10001-19999

2шт.

20

01643-31032

WASHER

SN: 10001-19999

7шт.

21

426-09-11230

GROMMET

SN: 10001-@

2шт.

Выбрано товаров: 23