Запчасти Komatsu WA500-1 ЭЛЕКТРИКА (ЛИНИЯ АККУМУЛЯТОРА) (СПЕЦ-Я TBG)(№-) КОМПОНЕНТЫ ДВИГАТЕЛЯ И ЭЛЕКТРИКА

Схема запчастей Komatsu WA500-1 - ЭЛЕКТРИКА (ЛИНИЯ АККУМУЛЯТОРА) (СПЕЦ-Я TBG)(№-) КОМПОНЕНТЫ ДВИГАТЕЛЯ И ЭЛЕКТРИКА
FIT
1:1
100%

Артикул

Название

Примечание

Количество

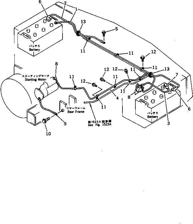
1

421-06-12770

WIRE

SN: 20001-UP

1шт.

2

425-06-12541

WIRE

SN: 20915-UP

1шт.

2

0

WIRE

SN: 10001-20914

1шт.

3

421-06-12731

WIRE

SN: 20915-UP

1шт.

3

0

WIRE

SN: 10001-20914

1шт.

4

425-06-12530

WIRE

SN: 10001-UP

1шт.

5

01435-01016

BOLT

SN: 20001-UP

1шт.

6

424-09-12530

BOOT

SN: 20001-UP

1шт.

6A

424-09-12540

BOOT

SN: 20001-UP

1шт.

7

08038-22511

CAP

SN: 20001-UP

2шт.

8

08038-00035

CAP

SN: 10001-UP

3шт.

9

425-06-12560

WIRE

SN: 10001-UP

1шт.

10

01435-01016

BOLT

SN: 20001-UP

1шт.

11

08036-01814

CLIP

SN: 20001-UP

11шт.

12

01435-01016

BOLT

SN: 20001-UP

7шт.

13

426-09-11230

GROMMET

SN: 10001-UP

2шт.

Выбрано товаров: 16