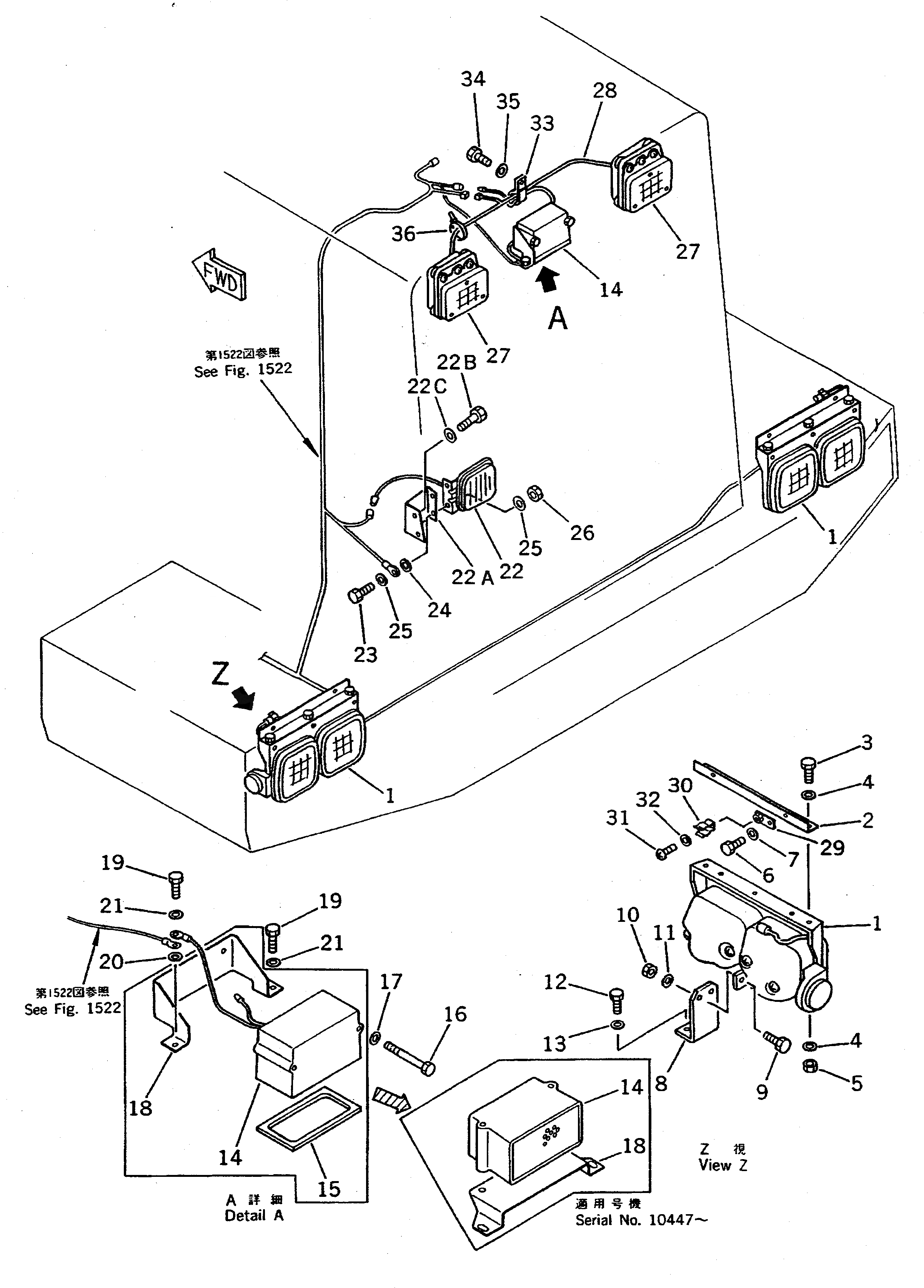
Запчасти Komatsu WA500-1 ЭЛЕКТРИКА (ЗАДН. ОСВЕЩЕНИЕ)(№-8) КОМПОНЕНТЫ ДВИГАТЕЛЯ И ЭЛЕКТРИКА

Схема запчастей Komatsu WA500-1 - ЭЛЕКТРИКА (ЗАДН. ОСВЕЩЕНИЕ)(№-8) КОМПОНЕНТЫ ДВИГАТЕЛЯ И ЭЛЕКТРИКА
FIT
1:1
100%

Артикул

Название

Примечание

Количество

1

421-06-13730

LAMP ASS'Y,L.H.

SN: 10001-@

1шт.

1

421-06-13820

LAMP ASS'Y,R.H.

SN: 10001-@

1шт.

1

421-06-13740

LENS,STOP LAMP

SN: 10001-@

1шт.

1

421-06-13750

LENS,TURN SIGNAL LAMP

SN: 10001-@

1шт.

1

08105-12420

BULB, 25W

SN: 10001-@

1шт.

1

08104-12420

BULB, 25/10W

SN: 10001-@

1шт.

1

08102-02403

BULB, 3W

SN: 10001-@

1шт.

2

425-06-13141

BRACKET

SN: 10001-@

2шт.

3

01010-50820

BOLT

SN: 10001-@

6шт.

4

01643-30823

WASHER

SN: 10001-@

12шт.

5

01580-10806

NUT

SN: 10001-@

6шт.

6

01010-50820

BOLT

SN: 10001-@

4шт.

7

01643-30823

WASHER

SN: 10001-@

4шт.

8

425-06-13151

PLATE

SN: 10001-@

2шт.

9

01010-50616

BOLT

SN: 10001-@

2шт.

10

01580-00605

NUT

SN: 10001-@

2шт.

11

01643-30623

WASHER

SN: 10001-@

2шт.

12

01010-50816

BOLT

SN: 10001-@

2шт.

13

01643-30823

WASHER

SN: 10001-@

2шт.

14

08164-00000

BUZZER,BACK-UP

SN: 10001-10583

1шт.

15

423-54-11490

SEAT

SN: 10001-10446

1шт.

16

6132-11-6460

BOLT

SN: 10001-10583

2шт.

17

01640-20816

WASHER

SN: 10001-10583

2шт.

18

424-06-19122

BRACKET

SN: 10447-10583

1шт.

18

0

BRACKET

SN: 10001-10446

1шт.

19

01010-51020

BOLT

SN: 10001-@

2шт.

20

01605-11023

WASHER

SN: 10001-@

1шт.

21

01643-31032

WASHER

SN: 10001-@

2шт.

22

421-06-13901

LAMP ASS'Y

SN: 10001-@

1шт.

22

421-06-13911

LENS

SN: 10001-@

1шт.

22

08105-12420

BULB, 25W

SN: 10001-@

1шт.

22A

425-54-11980

BRACKET

SN: 10001-@

1шт.

22B

01010-51020

BOLT

SN: 10001-@

2шт.

22C

01643-31032

WASHER

SN: 10001-@

2шт.

23

01010-50820

BOLT

SN: 10001-@

2шт.

24

01605-10818

WASHER

SN: 10001-@

1шт.

25

01643-30823

WASHER

SN: 10001-@

4шт.

26

01580-10806

NUT

SN: 10001-@

2шт.

27

421-06-13202

WORK LAMP ASS'Y

SN: 10001-@

2шт.

27

22W-06-12170

BULB

SN: 10001-@

1шт.

27

421-06-13120

CUSHION

SN: 10001-@

4шт.

28

425-06-12570

WIRE ASS'Y

SN: 10001-@

1шт.

29

421-06-12670

BRACKET

SN: 10001-@

2шт.

30

283-06-17130

CLIP

SN: 10001-@

2шт.

31

01220-40608

SCREW

SN: 10001-@

2шт.

32

01641-20608

WASHER

SN: 10001-@

2шт.

33

424-06-12710

CLIP

SN: 10001-@

1шт.

34

01010-51016

BOLT

SN: 10001-@

1шт.

35

01643-31032

WASHER

SN: 10001-@

1шт.

36

08034-00519

BAND

SN: 10001-@

1шт.

Выбрано товаров: 50