Запчасти Komatsu WA500-1 ЭЛЕКТРИКА (ЗАДН. ОСВЕЩЕНИЕ)(№-) КОМПОНЕНТЫ ДВИГАТЕЛЯ И ЭЛЕКТРИКА

Схема запчастей Komatsu WA500-1 - ЭЛЕКТРИКА (ЗАДН. ОСВЕЩЕНИЕ)(№-) КОМПОНЕНТЫ ДВИГАТЕЛЯ И ЭЛЕКТРИКА
FIT
1:1
100%

Артикул

Название

Примечание

Количество

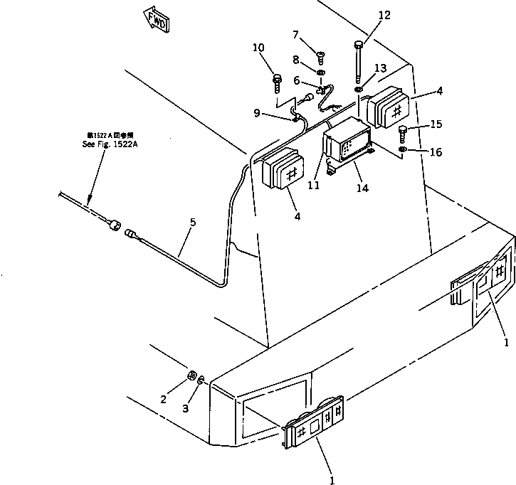
1

415-06-13220

COMBINATION LAMP A.,REAR, L.H.

SN: 20001-UP

1шт.

1

415-06-13210

COMBINATION LAMP A.,REAR, R.H.

SN: 20001-UP

1шт.

1

415-06-13270

LENS,L.H.

SN: 20001-UP

1шт.

1

415-06-13260

LENS,R.H.

SN: 20001-UP

1шт.

1

08104-12420

BULB, 25/10W

SN: 10001-UP

1шт.

1

08105-12420

BULB, 25W

SN: 20001-UP

2шт.

1

08102-02403

BULB, 3W

SN: 10001-UP

1шт.

2

01580-10504

NUT

SN: 20001-UP

4шт.

3

01601-20513

WASHER,SPRING

SN: 20001-UP

4шт.

4

421-06-13202

WORK LAMP ASS'Y

SN: 10001-UP

2шт.

4

22W-06-12170

BULB

SN: 10001-UP

1шт.

4

421-06-13120

CUSHION

SN: 10001-UP

4шт.

5

425-06-12571

WIRING HARNESS

SN: 20001-UP

1шт.

6

421-06-12910

CLIP

SN: 20001-UP

1шт.

7

01220-40608

SCREW

SN: 20001-UP

1шт.

8

01641-20608

WASHER

SN: 20001-UP

1шт.

9

08036-10814

CLIP

SN: 20072-UP

1шт.

9

0

CLIP

SN: 20001-20071

1шт.

10

01435-01016

BOLT

SN: 20001-UP

1шт.

11

14X-06-11130

ALARM,BACK-UP

SN: 20642-UP

1шт.

11

0

BUZZER,BACK-UP

SN: 20001-20641

1шт.

|$$22

(14X-06-11130,14X-06-14430)

-1шт.

11A

14X-06-14430

WIRING HARNESS

SN: 20642-UP

1шт.

12

6132-11-6460

BOLT

SN: 20001-UP

2шт.

13

01640-20816

WASHER

SN: 20001-UP

2шт.

14

424-06-19123

BRACKET

SN: 20001-UP

1шт.

15

01010-81020

BOLT

SN: 20001-UP

2шт.

16

01643-31032

WASHER

SN: 20001-UP

2шт.

Выбрано товаров: 28