Запчасти Komatsu WA500-1 ПАНЕЛЬ МОНИТОРА(№-77) КОМПОНЕНТЫ ДВИГАТЕЛЯ И ЭЛЕКТРИКА

Схема запчастей Komatsu WA500-1 - ПАНЕЛЬ МОНИТОРА(№-77) КОМПОНЕНТЫ ДВИГАТЕЛЯ И ЭЛЕКТРИКА
FIT
1:1
100%

Артикул

Название

Примечание

Количество

|$0

7861-56-1101

MONITOR ASS'Y (KM/H),(WITHOUT EMERGENCY STEERING)

SN: 10188-10677

1шт.

|$1

0

MONITOR ASS'Y (KM/H),(WITHOUT EMERGENCY STEERING)

SN: 10001-10187

1шт.

|$2

7861-56-3101

MONITOR ASS'Y (KM/H),(WITH EMERGENCY STEERING)

SN: 10188-10677

1шт.

|$3

0

MONITOR ASS'Y (KM/H),(WITH EMERGENCY STEERING)

SN: 10001-10187

1шт.

|$4

7861-56-4101

MONITOR ASS'Y (MPH),(WITHOUT EMERGENCY STEERING)

SN: 10188-10677

1шт.

|$5

0

MONITOR ASS'Y (MPH),(WITHOUT EMERGENCY STEERING)

SN: 10001-10187

1шт.

|$6

7861-56-5101

MONITOR ASS'Y (MPH),(WITH EMERGENCY STEERING)

SN: 10188-10677

1шт.

|$7

0

MONITOR ASS'Y (MPH),(WITH EMERGENCY STEERING)

SN: 10001-10187

1шт.

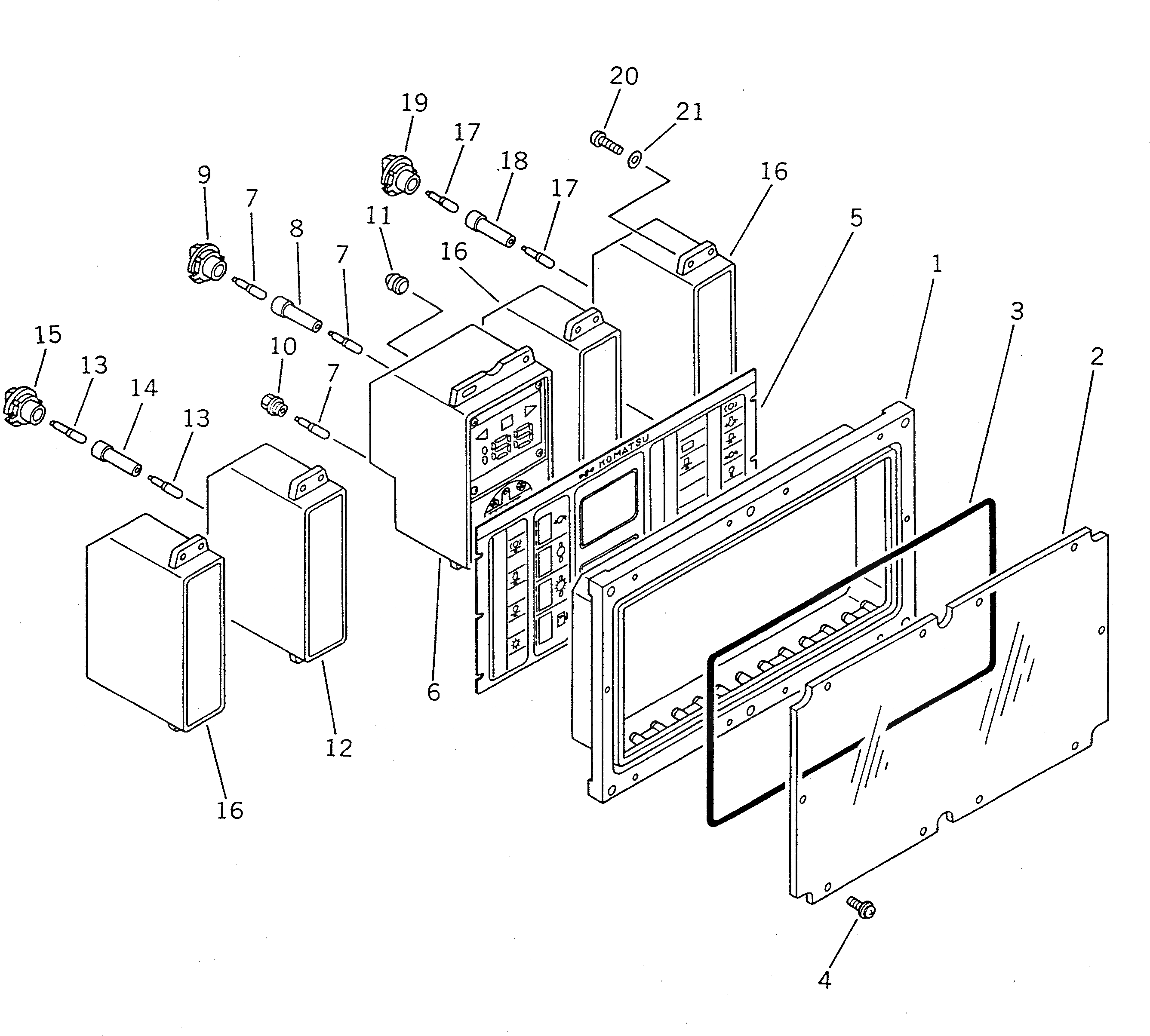
1

7861-01-1120

PANEL

SN: 10001-10677

1шт.

2

7861-01-1220

COVER

SN: 10001-10677

1шт.

3

7861-01-1210

O-RING

SN: 10001-10677

1шт.

4

7861-01-2370

SCREW

SN: 10001-10677

10шт.

5

7861-56-1110

PLATE,(WITHOUT EMERGENCY STEERING)

SN: 10001-10677

1шт.

5

7861-56-3110

PLATE,(WITH EMERGENCY STEERING)

SN: 10001-10677

1шт.

6

7861-51-1600

METER ASS'Y (KM/H),SPEED AND SERVICE

SN: 10001-10677

1шт.

6

7861-51-1501

METER ASS'Y (MPH),SPEED AND SERVICE

SN: 10188-10677

1шт.

6

0

METER ASS'Y (MPH),SPEED AND SERVICE

SN: 10001-10187

1шт.

7

7815-11-1010

BULB, 1.4W

SN: 10001-10677

3шт.

8

7861-01-1320

SOCKET

SN: 10001-10677

1шт.

9

7861-21-1170

CAP

SN: 10001-10677

1шт.

10

7861-01-1820

SOCKET

SN: 10001-10677

1шт.

11

7861-51-1630

GROMMET

SN: 10001-10677

3шт.

12

7861-51-1701

GAUGE ASS'Y

SN: 10188-10677

1шт.

12

0

GAUGE ASS'Y

SN: 10001-10187

1шт.

13

7815-11-1010

BULB, 1.4W

SN: 10001-10677

2шт.

14

7861-01-1320

SOCKET

SN: 10001-10677

1шт.

15

7861-21-1170

CAP

SN: 10001-10677

1шт.

16

7861-51-1300

MONITOR ASS'Y

SN: 10001-10677

3шт.

17

7815-11-1010

BULB, 1.4W

SN: 10001-10677

2шт.

18

7861-01-1320

SOCKET

SN: 10001-10677

1шт.

19

7861-21-1170

CAP

SN: 10001-10677

1шт.

20

01235-50412

SCREW

SN: 10001-10677

20шт.

21

01641-20405

WASHER

SN: 10001-10677

20шт.

Выбрано товаров: 33