Запчасти Komatsu WA500-1 ПАНЕЛЬ МОНИТОРА(№78-) КОМПОНЕНТЫ ДВИГАТЕЛЯ И ЭЛЕКТРИКА

Схема запчастей Komatsu WA500-1 - ПАНЕЛЬ МОНИТОРА(№78-) КОМПОНЕНТЫ ДВИГАТЕЛЯ И ЭЛЕКТРИКА
FIT
1:1
100%

Артикул

Название

Примечание

Количество

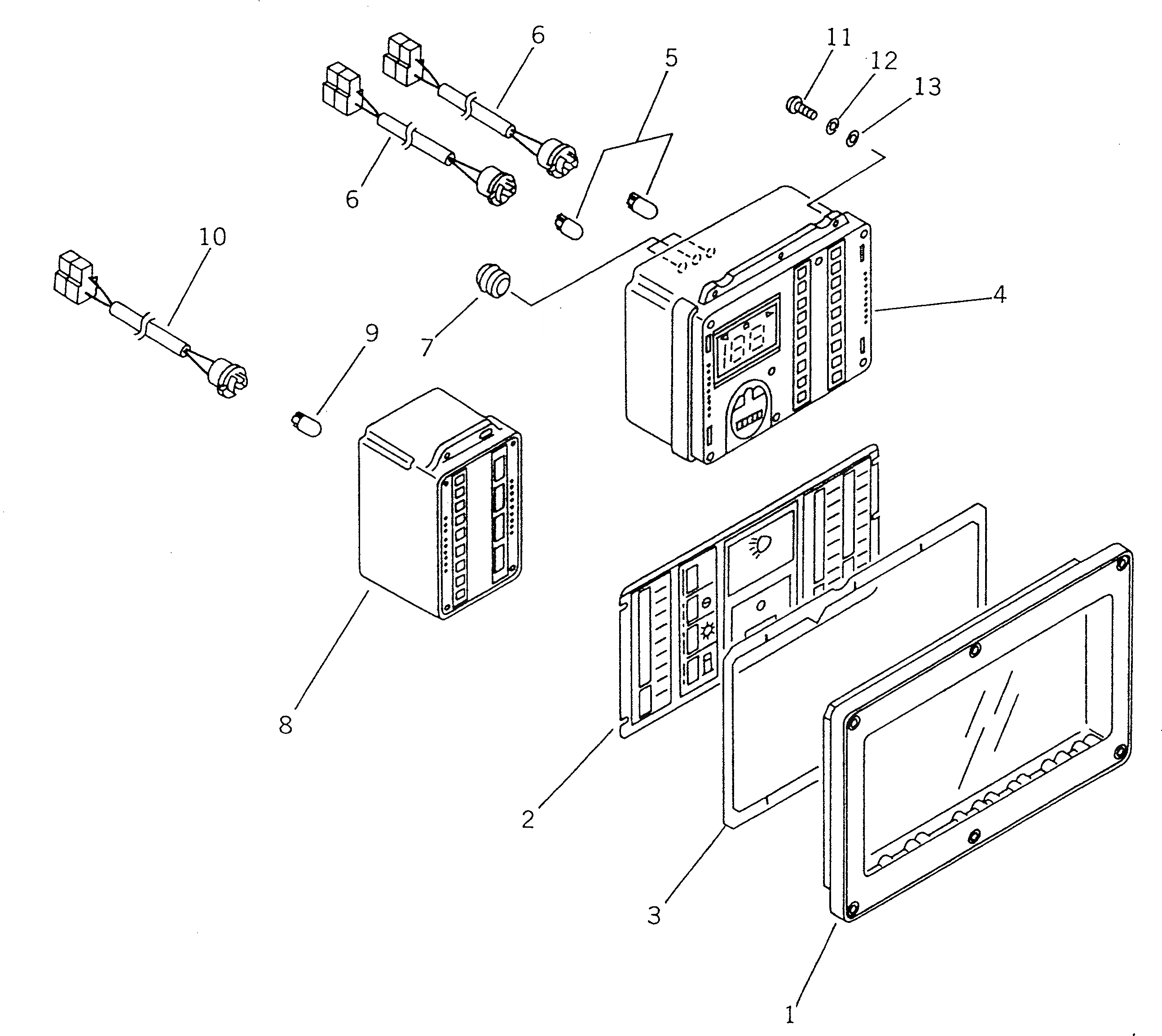
1

7831-51-3000

PANEL

SN: 10678-UP

1шт.

2

7831-53-4000

PLATE,(WITHOUT EMERGENCY STEERING)

SN: 10678-UP

1шт.

2

7831-53-4020

PLATE,(WITH EMERGENCY STEERING)

SN: 10678-UP

1шт.

3

7831-51-1910

GASKET

SN: 10678-UP

1шт.

4

7831-51-5100

MODULE ASS'Y

SN: 10678-UP

1шт.

5

08102-12403

BULB, 3W

SN: 10678-UP

2шт.

6

7831-61-9110

HOLDER

SN: 10678-UP

2шт.

7

7861-51-1630

GROMMET

SN: 10678-UP

3шт.

8

7831-51-6100

MODULE ASS'Y

SN: 10678-UP

1шт.

9

08102-12403

BULB, 3W

SN: 10678-UP

1шт.

10

7831-61-9110

HOLDER

SN: 10678-UP

1шт.

11

7861-86-1330

SCREW

SN: 10678-UP

10шт.

12

01601-00410

WASHER,SPRING

SN: 10678-UP

10шт.

13

01641-00405

WASHER

SN: 10678-UP

10шт.

Выбрано товаров: 14