Запчасти Komatsu WA500-1 ДВИГАТЕЛЬ МАСЛ. ЭЛЕМЕНТЫ ОБОГРЕВАТЕЛЯ (/)(№-9999) КОМПОНЕНТЫ ДВИГАТЕЛЯ И ЭЛЕКТРИКА

Схема запчастей Komatsu WA500-1 - ДВИГАТЕЛЬ МАСЛ. ЭЛЕМЕНТЫ ОБОГРЕВАТЕЛЯ (/)(№-9999) КОМПОНЕНТЫ ДВИГАТЕЛЯ И ЭЛЕКТРИКА
FIT
1:1
100%

Артикул

Название

Примечание

Количество

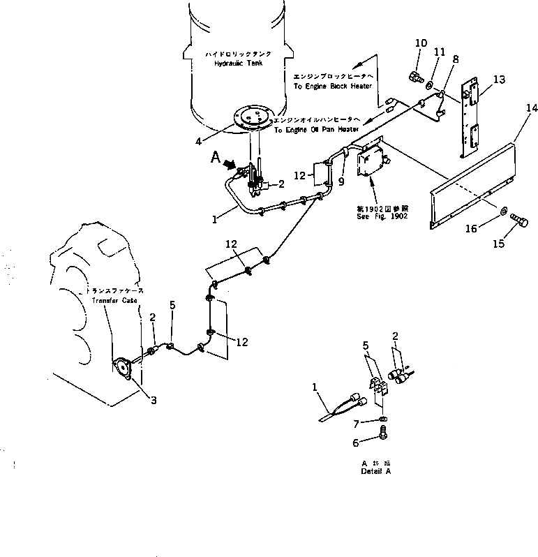
1

425-Z91-1171

WIRE ASS'Y

SN: 10001-19999

1шт.

2

600-815-6330

HEATER

SN: 10001-@

3шт.

3

425-Z91-1110

COVER

SN: 10001-@

1шт.

4

425-Z91-1120

COVER

SN: 10001-19999

1шт.

5

421-06-12910

CLIP

SN: 10001-@

3шт.

6

01220-40608

SCREW

SN: 10001-@

3шт.

7

01641-20608

WASHER

SN: 10001-@

3шт.

8

08036-00814

CLIP

SN: 10001-@

3шт.

9

424-06-12730

CLIP

SN: 10001-19999

1шт.

10

01010-51020

BOLT

SN: 10001-19999

4шт.

11

01643-31032

WASHER

SN: 10001-19999

4шт.

12

08034-00414

BAND

SN: 10001-19999

13шт.

13

425-Z91-1151

BRACKET,(MODIFIED PARTS)

SN: 10001-19999

1шт.

14

425-Z91-1141

HOOD,(MODIFIED PARTS)

SN: 10001-19999

1шт.

15

01010-51025

BOLT

SN: 10001-19999

2шт.

16

01643-31032

WASHER

SN: 10001-19999

2шт.

Выбрано товаров: 16