Запчасти Komatsu WA500-1 ТОРКФЛОУ ЭЛЕМЕНТЫ КРЕПЛЕНИЯ(№-) ГИДРОТРАНСФОРМАТОР И ТРАНСМИССИЯ

Схема запчастей Komatsu WA500-1 - ТОРКФЛОУ ЭЛЕМЕНТЫ КРЕПЛЕНИЯ(№-) ГИДРОТРАНСФОРМАТОР И ТРАНСМИССИЯ
FIT
1:1
100%

Артикул

Название

Примечание

Количество

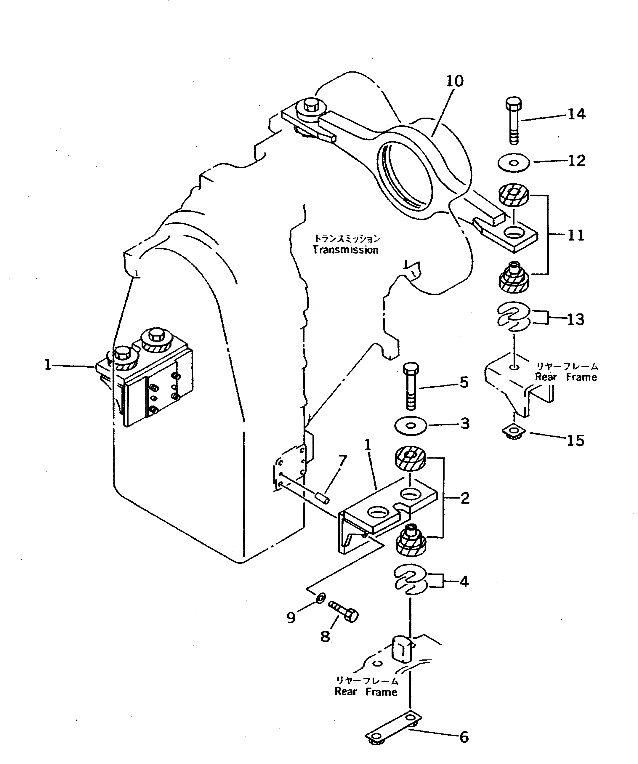
1

425-14-11132

BRACKET

SN: 20056-UP

2шт.

1

425-14-11131

BRACKET

SN: 20001-20055

2шт.

2

418-01-11111

CUSHION ASS'Y

SN: .-UP

4шт.

2

0

CUSHION ASS'Y

SN: 20001-.

4шт.

3

419-01-11162

WASHER

SN: 20001-UP

8шт.

4

421-14-11170

SHIM, 0.5MM

SN: 20001-UP

16шт.

5

01011-62230

BOLT

SN: 20001-UP

4шт.

6

425-14-11160

PLATE

SN: 20001-UP

2шт.

7

04020-01228

PIN,DOWEL

SN: 10001-UP

4шт.

8

01010-61650

BOLT

SN: 20001-UP

8шт.

9

01643-31645

WASHER

SN: 10001-UP

8шт.

10

425-14-11121

TRUNNION

SN: 20001-UP

1шт.

11

418-01-11111

CUSHION ASS'Y

SN: .-UP

2шт.

11

0

CUSHION ASS'Y

SN: 20001-.

2шт.

12

419-01-11162

WASHER

SN: 20001-UP

4шт.

13

421-14-11170

SHIM, 0.5MM

SN: 20001-UP

16шт.

14

01011-62230

BOLT

SN: 20001-UP

2шт.

15

425-01-11250

PLATE

SN: 20001-UP

2шт.

Выбрано товаров: 18