Запчасти Komatsu WA500-1 КЛАПАН УПРАВЛЕНИЯ ТРАНСМИССИЕЙ (/) ГИДРОТРАНСФОРМАТОР И ТРАНСМИССИЯ

Схема запчастей Komatsu WA500-1 - КЛАПАН УПРАВЛЕНИЯ ТРАНСМИССИЕЙ (/) ГИДРОТРАНСФОРМАТОР И ТРАНСМИССИЯ
FIT
1:1
100%

Артикул

Название

Примечание

Количество

|$$1

SERIAL NO. IN ( ) INDICATES TORQUE CONVERTER SERIAL NO.

-1шт.

|$1

425-15-01000

TORQFLOW ASS'Y

SN: 10001-(1744)

1шт.

|$$3

THIS ASSEMBLY CONSISTS OF ALL PARTS SHOWN IN FIGS.2301 TO 2524.

-1шт.

|$$4

SERIAL NO. IN ( ) INDICATES TRANSMISSION SERIAL NO.

-1шт.

|$4

425-15-00011

TRANSMISSION ASS'Y

SN: 20001-UP

1шт.

|$5

425-15-00020

TRANSMISSION ASS'Y

SN: (2987)-19999

1шт.

|$6

425-15-00010

TRANSMISSION ASS'Y

SN: 10001-(2986)

1шт.

|$$8

THESE ASSEMBLIES CONSIST OF ALL PARTS SHOWN IN FIGS.2501 TO 2524.

-1шт.

|$8

425-15-00302

VALVE ASS'Y

SN: (2987)-UP

1шт.

|$9

425-15-00301

VALVE ASS'Y

SN: (1600)-(2986)

1шт.

|$10

0

VALVE ASS'Y

SN: 10001-(1599)

1шт.

|$$12

THESE ASSEMBLIES CONSIST OF ALL PARTS SHOWN IN FIGS.2521 TO 2524.

-1шт.

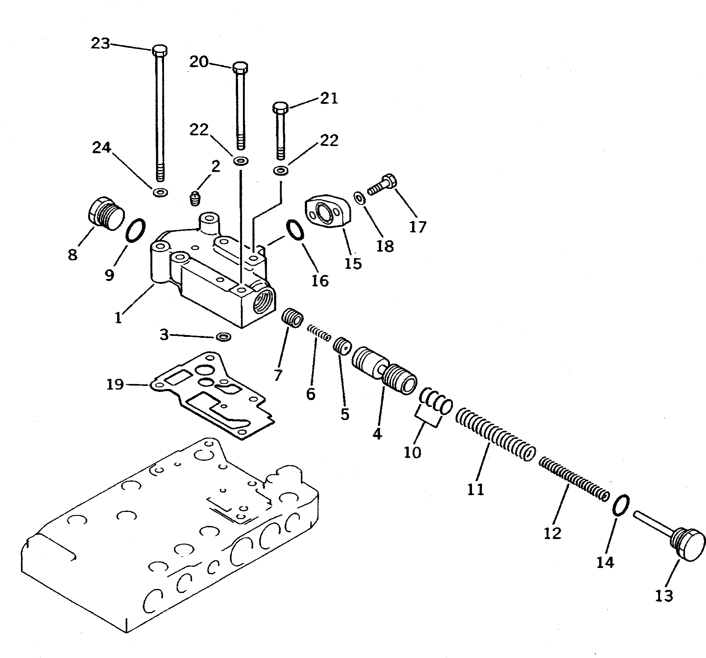
1

426-15-15150

BODY,VALVE

SN: 10001-UP

1шт.

2

07042-20108

PLUG

SN: 20001-UP

2шт.

2

07042-30108

PLUG

SN: 10001-19999

2шт.

3

425-15-15880

PLUG,(D=6.3MM)

SN: 10001-UP

1шт.

4

41E-15-15230

VALVE

SN: 10001-UP

1шт.

5

426-15-15490

VALVE

SN: 10001-UP

1шт.

6

198-15-15770

SPRING, (L= 30.0)

SN: 10001-UP

1шт.

7

426-15-15480

VALVE

SN: 10001-UP

1шт.

8

426-15-15820

PLUG

SN: 10001-UP

1шт.

9

07002-03034

O-RING (K3)

SN: 10001-UP

1шт.

10

198-15-15570

SHIM, 0.50MM

SN: 10001-UP

4шт.

11

426-15-16250

SPRING, (L=122.0)

SN: 10001-UP

1шт.

12

426-15-16260

SPRING, (L=108.0)

SN: 10001-UP

1шт.

13

426-15-15810

PLUG

SN: 10001-UP

1шт.

14

07002-03034

O-RING (K3)

SN: 10001-UP

1шт.

15

07336-50416

FLANGE

SN: 10001-UP

1шт.

16

07000-73025

O-RING (K3)

SN: 10001-UP

1шт.

17

01010-51030

BOLT

SN: 10001-UP

2шт.

18

01643-31032

WASHER

SN: 10001-UP

2шт.

19

426-15-15911

GASKET (K3)

SN: (2987)-UP

1шт.

19

426-15-15910

GASKET (K3)

SN: 10001-(2986)

1шт.

20

01011-51075

BOLT

SN: 10001-UP

1шт.

21

01011-51020

BOLT

SN: 10001-UP

1шт.

22

01643-31032

WASHER

SN: 10001-UP

2шт.

23

426-15-16410

BOLT

SN: 10001-UP

3шт.

24

01643-31032

WASHER

SN: 10001-UP

3шт.

Выбрано товаров: 38