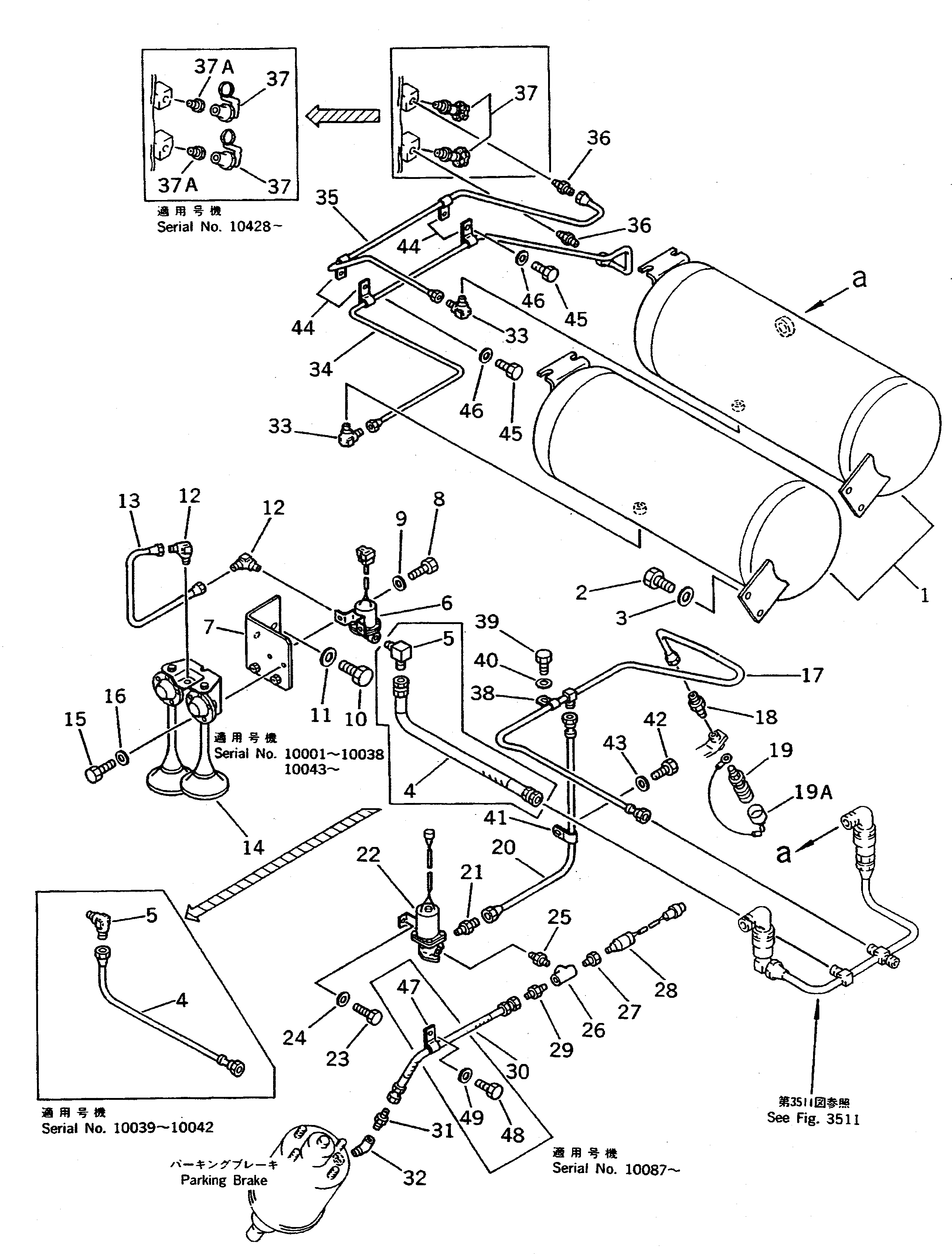
Запчасти Komatsu WA500-1 ВОЗДУХОВОД (СУХ. БАК - СТОЯНОЧНЫЙ ТОРМОЗ)(№-97) ВЕДУЩ. ВАЛ¤ ДИФФЕРЕНЦ. И КОЛЕСА

Схема запчастей Komatsu WA500-1 - ВОЗДУХОВОД (СУХ. БАК - СТОЯНОЧНЫЙ ТОРМОЗ)(№-97) ВЕДУЩ. ВАЛ¤ ДИФФЕРЕНЦ. И КОЛЕСА
FIT
1:1
100%

Артикул

Название

Примечание

Количество

1

425-35-15172

TANK,DRY AIR

SN: 10001-@

2шт.

2

01010-51225

BOLT

SN: 10001-@

8шт.

3

01643-31232

WASHER

SN: 10001-@

8шт.

4

07102-20205

HOSE

SN: 10043-@

1шт.

|4

425-35-11591

TUBE

SN: 10039-10042

1шт.

|4

07102-20205

HOSE

SN: 10001-10038

1шт.

5

175-79-82550

ELBOW

SN: 10043-@

1шт.

|5

07217-51013

ELBOW

SN: 10039-10042

1шт.

|5

175-79-82550

ELBOW

SN: 10001-10038

1шт.

6

421-35-15410

VALVE,HORN

SN: 10001-@

1шт.

7

426-35-15170

BRACKET

SN: 10001-@

1шт.

8

01010-50820

BOLT

SN: 10001-@

2шт.

9

01643-31232

WASHER

SN: 10001-@

2шт.

10

01010-51225

BOLT

SN: 10001-@

2шт.

11

01643-31232

WASHER

SN: 10001-@

2шт.

12

07217-71013

ELBOW

SN: 10001-@

2шт.

13

421-35-12880

TUBE

SN: 10001-@

1шт.

14

281-34-13900

HORN,AIR

SN: 10001-@

1шт.

15

01010-51020

BOLT

SN: 10001-@

2шт.

16

01643-31032

WASHER

SN: 10001-@

2шт.

17

425-35-11341

TUBE

SN: 10001-10967

1шт.

18

07214-71013

CONNECTOR

SN: 10001-@

1шт.

19

07880-10500

SOCKET,COUPLING

SN: 10001-@

1шт.

19A

426-35-15410

CAP

SN: 10072-@

1шт.

20

425-35-11111

TUBE

SN: 10001-10967

1шт.

21

07214-71013

CONNECTOR

SN: 10001-10967

1шт.

22

425-06-11150

VALVE,PARKING BRAKE

SN: 10001-@

1шт.

23

01010-50816

BOLT

SN: 10001-@

2шт.

24

01641-20812

WASHER

SN: 10001-@

2шт.

25

07238-00210

CONNECTOR

SN: 10001-@

1шт.

26

07324-90200

TEE

SN: 10001-@

1шт.

27

07326-30201

ADAPTER

SN: 10001-@

1шт.

28

7861-99-1500

SENSOR,AIR PRESSURE

SN: 10001-@

1шт.

29

07325-30200

NIPPLE

SN: 10001-@

1шт.

30

07102-20207

HOSE

SN: 10001-@

1шт.

31

07238-00210

CONNECTOR

SN: 10001-@

1шт.

32

07323-30200

ELBOW

SN: 10001-@

1шт.

33

07217-70712

ELBOW

SN: 10001-@

2шт.

34

425-35-11511

TUBE

SN: 10001-@

1шт.

35

425-35-11521

TUBE

SN: 10001-@

1шт.

36

07214-70710

CONNECTOR

SN: 10001-@

2шт.

37

22X-44-11210

VALVE

SN: 10428-@

2шт.

|37

0

VALVE ASS'Y

SN: 10001-10427

2шт.

|$$44

(22X-44-11210{424-35-12630)}

-1шт.

37A

424-35-12630

CONNECTOR

SN: 10428-@

2шт.

38

424-04-11120

CLIP

SN: 10001-@

1шт.

39

01010-51020

BOLT

SN: 10001-@

1шт.

40

01643-31032

WASHER

SN: 10001-@

1шт.

41

424-04-11120

CLIP

SN: 10001-10967

1шт.

42

01010-51020

BOLT

SN: 10001-10967

1шт.

43

01643-31032

WASHER

SN: 10001-10967

1шт.

44

425-70-13120

CLIP

SN: 10001-@

4шт.

45

01010-51020

BOLT

SN: 10001-@

2шт.

46

01643-31032

WASHER

SN: 10001-@

2шт.

47

08036-01414

CLIP

SN: 10087-@

1шт.

48

01010-51016

BOLT

SN: 10087-@

1шт.

49

01643-31032

WASHER

SN: 10087-@

1шт.

Выбрано товаров: 57